TOP
|
特許
|
意匠
|
商標
特許ウォッチ
Twitter
他の特許を見る
10個以上の画像は省略されています。
公開番号
2025170747
公報種別
公開特許公報(A)
公開日
2025-11-19
出願番号
2025041798
出願日
2025-03-14
発明の名称
画像形成装置
出願人
キヤノン株式会社
代理人
弁理士法人近島国際特許事務所
主分類
G03G
15/08 20060101AFI20251112BHJP(写真;映画;光波以外の波を使用する類似技術;電子写真;ホログラフイ)
要約
【課題】ロータリの回転方向を切り替え可能に構成しつつ、コストダウン可能な画像形成装置を提供する。
【解決手段】画像形成装置は、回転可能なロータリと、搬送部と、第1モータと、第1駆動伝達部と、第2駆動伝達部と、を有する。第1駆動伝達部は、(i)第1モータが第1方向に回転する際に、ロータリが第3方向に回転するように第1モータからの駆動をロータリに伝達する第1状態と、(ii)第1モータが第2方向に回転する際に、第1モータからの駆動をロータリに伝達しない第2状態と、(iii)第1モータが第2方向に回転する際に、ロータリが第3方向とは反対の第4方向に回転するように第1モータからの駆動をロータリに伝達する第3状態と、に遷移可能である。第2駆動伝達部は、第1モータが第2方向に回転する際には、第1モータからの駆動を搬送部に伝達する。
【選択図】図26
特許請求の範囲
【請求項1】
トナーを収容するトナーカートリッジが取り外し可能に装着され、記録材に画像を形成する画像形成装置であって、
現像ローラと、前記現像ローラに供給されるトナーを収容する収容部を備え、前記トナーカートリッジを装着可能な収容枠体と、を有する回転可能なロータリと、
記録材を搬送する搬送部と、
前記ロータリ及び前記搬送部を駆動する第1モータであって、第1方向と前記第1方向の反対の第2方向に回転するように構成された第1モータと、
前記第1モータから前記ロータリに駆動を伝達可能な第1駆動伝達部と、
前記第1モータから前記搬送部に駆動を伝達可能な第2駆動伝達部と、
を有し、
前記第1駆動伝達部は、
(i)前記第1モータが前記第1方向に回転する際に、前記ロータリが第3方向に回転するように前記第1モータからの駆動を前記ロータリに伝達する第1状態と、
(ii)前記第1モータが前記第2方向に回転する際に、前記第1モータからの駆動を前記ロータリに伝達しない第2状態と、
(iii)前記第1モータが前記第2方向に回転する際に、前記ロータリが前記第3方向とは反対の第4方向に回転するように前記第1モータからの駆動を前記ロータリに伝達する第3状態と、に遷移可能であり、
前記第2駆動伝達部は、前記第1モータが前記第2方向に回転する際には、前記第1モータからの駆動を前記搬送部に伝達する、
ことを特徴とする画像形成装置。
続きを表示(約 1,800 文字)
【請求項2】
前記第1駆動伝達部は、第1切り替え部と、規制部材と、を備え、
前記第1切り替え部は、前記第1モータからの駆動を前記ロータリに向けて伝達する第1伝達状態と、前記第1モータからの駆動を前記ロータリに向けて伝達しない第1非伝達状態と、に遷移可能であり、
前記規制部材は、前記第1切り替え部が前記第1非伝達状態に遷移するのを許容する許容位置と、前記第1切り替え部が第1非伝達状態に遷移するのを規制する規制位置と、に移動可能であり、
前記第1切り替え部は、
(i)前記第1駆動伝達部が前記第2状態において、前記規制部材が前記許容位置に位置し、且つ前記第1モータが前記第2方向に回転したときに、前記第1非伝達状態に遷移し、
(ii)前記第1駆動伝達部が前記第3状態において、前記規制部材が前記規制位置に位置し、且つ前記第1モータが前記第2方向に回転したときに、前記第1非伝達状態に遷移することが規制される、
ことを特徴とする請求項1に記載の画像形成装置。
【請求項3】
前記第1切り替え部は、第1回転部材と、前記第1回転部材と一体に回転するように前記第1回転部材に係合する係合位置と、前記第1回転部材とは一体に回転しない非係合位置と、に移動可能な第2回転部材と、を有し、前記第2回転部材が前記係合位置に位置する際に前記第1伝達状態となり、前記第2回転部材が前記非係合位置に位置する際に前記第1非伝達状態となり、
前記規制部材は、前記許容位置において前記第2回転部材が前記係合位置から前記非係合位置に移動する際の移動軌跡にオーバーラップせず、前記規制位置において前記移動軌跡にオーバーラップする、
ことを特徴とする請求項2に記載の画像形成装置。
【請求項4】
前記規制部材を前記許容位置と前記規制位置との間で移動させるための第2モータを更に有する、
ことを特徴とする請求項2に記載の画像形成装置。
【請求項5】
前記第2モータによって移動される移動部材を更に有し、
前記ロータリは、前記移動部材によって駆動される駆動受け部材を有し、
前記規制部材は、前記移動部材が第1位置に位置する際に前記許容位置に位置し、前記移動部材が前記第1位置とは異なる第2位置に位置する際に前記規制位置に位置する、
ことを特徴とする請求項4に記載の画像形成装置。
【請求項6】
前記ロータリを収容し、開口が備えられた本体枠体と、
前記トナーカートリッジを着脱可能に支持する支持部材であって、前記収容枠体に収容される収容位置から、前記本体枠体の外部に少なくとも一部が露出し、前記トナーカートリッジを前記支持部材から取出可能な取出位置に前記開口を通じて移動可能な支持部材と、を更に有し、
前記支持部材は、前記駆動受け部材が前記移動部材によって駆動されることで、前記収容位置と前記取出位置との間で移動する、
ことを特徴とする請求項5に記載の画像形成装置。
【請求項7】
前記規制部材は、前記許容位置から前記規制位置に向けて付勢され、前記第1位置に位置する前記移動部材に突き当たることで前記許容位置に位置決めされ、前記第2位置に位置する前記移動部材に突き当たることで前記規制位置に位置決めされる、
ことを特徴とする請求項5に記載の画像形成装置。
【請求項8】
前記規制部材は、自重によって前記許容位置から前記規制位置に向けて付勢される、
ことを特徴とする請求項7に記載の画像形成装置。
【請求項9】
前記規制部材は、前記許容位置と前記規制位置との間で回動し、
前記移動部材は、前記第1位置と前記第2位置との間でスライド移動する、
ことを特徴とする請求項5に記載の画像形成装置。
【請求項10】
前記第2モータは、前記支持部材を前記収容位置から前記取出位置に移動させる際に第5方向に回転し、
前記規制部材は、前記第2モータが前記第5方向に回転する際に、前記支持部材が前記収容位置から前記取出位置に向けて移動を開始する前に、前記許容位置から前記規制位置へ移動する、
ことを特徴とする請求項6に記載の画像形成装置。
(【請求項11】以降は省略されています)
発明の詳細な説明
【技術分野】
【0001】
本発明は、記録材に画像を形成する画像形成装置に関する。
続きを表示(約 3,000 文字)
【背景技術】
【0002】
電子写真方式の画像形成装置において、複数の現像部材を備えたロータリを回転させることでカラー画像を形成するロータリ現像方式が知られている。特許文献1、2には、複数本の現像ローラを備えたロータリと、該ロータリに対してそれぞれ着脱可能な複数のトナーカートリッジ(トナー収容容器)と、を備えた画像形成装置が記載されている。
【先行技術文献】
【特許文献】
【0003】
特開2007-183305号公報
特開2008-096852号公報
【発明の概要】
【発明が解決しようとする課題】
【0004】
近年、ロータリを正逆回転可能に構成しつつ、コストダウンすることが望まれている。
【0005】
本発明は、ロータリの回転方向を切り替え可能に構成しつつ、コストダウン可能な画像形成装置を提供することを目的とする。
【課題を解決するための手段】
【0006】
本発明の一態様は、トナーを収容するトナーカートリッジが取り外し可能に装着され、記録材に画像を形成する画像形成装置であって、現像ローラと、前記現像ローラに供給されるトナーを収容する収容部を備え、前記トナーカートリッジを装着可能な収容枠体と、を有する回転可能なロータリと、記録材を搬送する搬送部と、前記ロータリ及び前記搬送部を駆動する第1モータであって、第1方向と前記第1方向の反対の第2方向に回転するように構成された第1モータと、前記第1モータから前記ロータリに駆動を伝達可能な第1駆動伝達部と、前記第1モータから前記搬送部に駆動を伝達可能な第2駆動伝達部と、を有し、前記第1駆動伝達部は、(i)前記第1モータが前記第1方向に回転する際に、前記ロータリが第3方向に回転するように前記第1モータからの駆動を前記ロータリに伝達する第1状態と、(ii)前記第1モータが前記第2方向に回転する際に、前記第1モータからの駆動を前記ロータリに伝達しない第2状態と、(iii)前記第1モータが前記第2方向に回転する際に、前記ロータリが前記第3方向とは反対の第4方向に回転するように前記第1モータからの駆動を前記ロータリに伝達する第3状態と、に遷移可能であり、前記第2駆動伝達部は、前記第1モータが前記第2方向に回転する際には、前記第1モータからの駆動を前記搬送部に伝達する、ことを特徴とする画像形成装置である。
【0007】
本発明の他の一態様は、記録材に画像を形成する画像形成装置であって、第1出力部と、前記第1出力部とは異なる第2出力部と、前記第1出力部及び前記第2出力部を駆動する第1モータであって、第1方向と前記第1方向の反対の第2方向に回転するように構成された第1モータと、切り替え部と、規制部材と、を備え、前記第1モータから前記第1出力部に駆動を伝達可能な第1駆動伝達部と、前記第1モータから前記第2出力部に駆動を伝達可能な第2駆動伝達部と、前記規制部材を駆動可能な第2モータと、を有し、前記切り替え部は、前記第1モータからの駆動を前記第1出力部に向けて伝達する伝達状態と、前記第1モータからの駆動を前記第1出力部に向けて伝達しない非伝達状態と、に遷移可能であり、前記規制部材は、前記切り替え部が前記非伝達状態に遷移するのを許容する許容位置と、前記切り替え部が非伝達状態に遷移するのを規制する規制位置と、に前記第2モータからの駆動によって移動可能であり、前記第1駆動伝達部は、第1状態と、第2状態と、第3状態と、に遷移可能である、前記第1駆動伝達部は、前記第1状態において、前記第1モータが前記第1方向に回転する際に、前記第1出力部が第3方向に回転するように前記第1モータからの駆動を前記第1出力部に伝達する、前記切り替え部は、前記第1駆動伝達部が前記第2状態において、前記規制部材が前記許容位置に位置し、且つ前記第1モータが前記第2方向に回転したときに、前記非伝達状態に遷移する、前記第1駆動伝達部は、前記第3状態において、前記規制部材が前記規制位置に位置し、且つ前記第1モータが前記第2方向に回転したときに、前記第1出力部が前記第3方向とは反対の第4方向に回転するように前記第1モータからの駆動を前記第1出力部に伝達する、前記第2駆動伝達部は、前記第1モータが前記第2方向に回転する際には、前記第1モータからの駆動を前記第2出力部に伝達する、ことを特徴とする画像形成装置である。
【発明の効果】
【0008】
本発明によれば、ロータリの回転方向を切り替え可能に構成しつつ、コストダウンすることができる。
【図面の簡単な説明】
【0009】
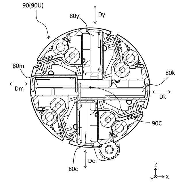
実施例1に係る画像形成装置の概略図。
実施例1に係る画像形成装置の構成図。
実施例1に係る現像ユニット、トナーカートリッジ及びトレイの模式図。
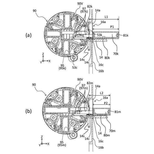
実施例1に係る画像形成装置の断面図(a、b)。
実施例1に係るロータリ本体の斜視図。
実施例1に係る画像形成装置の斜視図(a~c)。
実施例1に係る画像形成装置の断面図(a、b)。
実施例1に係るロータリ本体の説明図。
実施例1に係るロータリ本体の説明図。
実施例1に係るロータリ本体の説明図。
実施例1に係るトレイの移動に関する構成の説明図(a、b)。
実施例1に係るトレイの移動に関する構成の説明図(a、b)。
実施例1に係るトレイの駆動機構の構成を示す斜視図(a、b)。
実施例1に係る段ギアを示す斜視図(a、b)。
実施例1に係るロック部材を示す斜視図。
実施例1に係るロック機構の動作を示す正面図(a、b)。
実施例1に係るロック機構の動作を示す斜視図(a、b)。
実施例1に係るモータからロータリ本体及び搬送ユニットへの駆動伝達構成を示す図(a、b)。
実施例1に係るロータリ駆動ラチェットギアを示す斜視図(a~c)。
実施例1に係るロータリ駆動ラチェットギアの係合動作を示す図(a~c)。
実施例1に係るロータリ駆動ラチェットギアの離間動作を示す図(a、b)。
実施例1に係る搬送駆動ラチェットギアを示す斜視図(a~c)。
実施例1に係る搬送駆動ラチェットギアの係合動作を示す図(a~c)。
実施例1に係る搬送駆動ラチェットギアの離間動作を示す図(a、b)。
実施例1に係るロータリ本体の移動距離を示す図(a、b)。
実施例1に係る規制レバーを示す断面図(a、b)。
実施例1に係る規制レバーの動作を示す断面図(a、b)。
実施例1に係る規制レバーの周辺構成を示す斜視図。
実施例1に係る規制レバーが許容位置と規制位置との間で移動する様子を示す正面図(a、b)。
実施例2に係るロータリ駆動列を示す図。
実施例3に係る搬送ローラ駆動列を示す図。
【発明を実施するための形態】
【0010】
以下、本開示に係る実施形態について、図面を参照しながら説明する。
(【0011】以降は省略されています)
この特許をJ-PlatPat(特許庁公式サイト)で参照する
関連特許
キヤノン株式会社
記録装置
6日前
キヤノン株式会社
表示装置
12日前
キヤノン株式会社
撮像装置
5日前
キヤノン株式会社
撮像装置
5日前
キヤノン株式会社
二次電池
7日前
キヤノン株式会社
発光装置
12日前
キヤノン株式会社
撮像装置
5日前
キヤノン株式会社
撮像装置
5日前
キヤノン株式会社
記録装置
6日前
キヤノン株式会社
表示装置
5日前
キヤノン株式会社
電子機器
1日前
キヤノン株式会社
撮像装置
5日前
キヤノン株式会社
表示装置
12日前
キヤノン株式会社
電子機器
5日前
キヤノン株式会社
表示装置
12日前
キヤノン株式会社
電気機器
今日
キヤノン株式会社
記録装置
今日
キヤノン株式会社
撮像装置
12日前
キヤノン株式会社
撮像装置
12日前
キヤノン株式会社
インク容器
6日前
キヤノン株式会社
画像形成装置
12日前
キヤノン株式会社
画像形成装置
5日前
キヤノン株式会社
映像表示装置
6日前
キヤノン株式会社
画像処理装置
1日前
キヤノン株式会社
画像形成装置
13日前
キヤノン株式会社
画像記録装置
7日前
キヤノン株式会社
画像形成装置
7日前
キヤノン株式会社
画像形成装置
5日前
キヤノン株式会社
検査システム
12日前
キヤノン株式会社
二成分現像剤
12日前
キヤノン株式会社
情報処理装置
5日前
キヤノン株式会社
画像形成装置
1日前
キヤノン株式会社
インク補充用パウチ
12日前
キヤノン株式会社
トナーカートリッジ
今日
キヤノン株式会社
測距装置及び測距方法
5日前
キヤノン株式会社
光学系および観察装置
1日前
続きを見る
他の特許を見る