TOP
|
特許
|
意匠
|
商標
特許ウォッチ
Twitter
他の特許を見る
10個以上の画像は省略されています。
公開番号
2025174736
公報種別
公開特許公報(A)
公開日
2025-11-28
出願番号
2024081284
出願日
2024-05-17
発明の名称
画像形成装置
出願人
キヤノン株式会社
代理人
弁理士法人近島国際特許事務所
主分類
G03G
21/00 20060101AFI20251120BHJP(写真;映画;光波以外の波を使用する類似技術;電子写真;ホログラフイ)
要約
【課題】シートに形成する画像のシート幅方向への位置精度を向上する。
【解決手段】シートSに画像を形成する画像形成部と、画像形成部にシートSを搬送する第1搬送部70aと、シート搬送方向に交差するシート幅方向におけるシートSの位置を検知するCIS91と、CIS91の検知結果に基づき取得される、第1搬送部70aにより搬送されるシートSをシート搬送方向に三等分した領域のうちの中央の領域に位置する第1検知位置におけるシート幅方向におけるシートの第1幅位置(L1m)に基づいて、シートSに画像を形成する位置を調整する制御部と、を備える。
【選択図】図4
特許請求の範囲
【請求項1】
シートに画像を形成する画像形成部と、
前記画像形成部にシートを搬送する搬送部と、
シート搬送方向に交差するシート幅方向におけるシートの位置を検知する幅位置検知部と、
前記幅位置検知部の検知結果に基づき取得される、前記搬送部により搬送されるシートをシート搬送方向に三等分した領域のうちの中央の領域に位置する第1検知位置における前記シート幅方向におけるシートの第1幅位置に基づいて、シートに画像を形成する位置を調整する制御部と、を備える、
ことを特徴とする画像形成装置。
続きを表示(約 1,200 文字)
【請求項2】
前記第1検知位置は、前記シート搬送方向において、シートの中央位置である、
ことを特徴とする請求項1に記載の画像形成装置。
【請求項3】
前記シート搬送方向におけるシートの長さを検知する長さ検知部を備え、
前記制御部は、前記長さ検知部により検知されたシートの長さに基づいて、前記幅位置検知部によって前記第1検知位置で前記第1幅位置を検知する、
ことを特徴とする請求項1に記載の画像形成装置。
【請求項4】
前記制御部は、前記幅位置検知部によって、前記シート搬送方向におけるシートの第1搬送方向位置における前記シート幅方向の第2幅位置と、前記シート搬送方向における前記第1搬送方向位置とは異なる第2搬送方向位置における前記シート幅方向の第3幅位置と、を検知し、前記第2幅位置及び前記第3幅位置に基づいて、前記第1検知位置における前記第1幅位置を算出する、
ことを特徴とする請求項1に記載の画像形成装置。
【請求項5】
前記第1搬送方向位置は、前記シート搬送方向におけるシートの先端であり、
前記第2搬送方向位置は、前記シート搬送方向におけるシートの後端である、
ことを特徴とする請求項4に記載の画像形成装置。
【請求項6】
前記搬送部は、前記画像形成部によりシートに画像を形成する画像形成位置に対して前記シート搬送方向の上流に配置され、かつ、回転を停止させた状態で前記シート搬送方向におけるシートの先端を当接させてシートの斜行を補正した後、シートを挟持して搬送するレジストレーションローラ対を有する、
ことを特徴とする請求項1に記載の画像形成装置。
【請求項7】
前記幅位置検知部は、前記レジストレーションローラ対より前記シート搬送方向の上流に配置され、かつ、シートの側端の位置を検知する、
ことを特徴とする請求項6に記載の画像形成装置。
【請求項8】
前記画像形成部は、シートに対して画像を形成する位置を変更可能であり、
前記制御部は、前記画像形成部においてシートに対して画像を形成する位置を調整する、
ことを特徴とする請求項1に記載の画像形成装置。
【請求項9】
前記制御部は、前記画像形成部においてシートに対して画像を形成する位置を前記シート幅方向に調整する、
ことを特徴とする請求項1に記載の画像形成装置。
【請求項10】
前記制御部は、第1シートの前記第1検知位置における前記第1幅位置に基づいて、前記第1シートより後に搬送される第2シートにおける画像を形成する位置を調整する、
ことを特徴とする請求項1に記載の画像形成装置。
(【請求項11】以降は省略されています)
発明の詳細な説明
【技術分野】
【0001】
本発明は、シートに画像を形成する画像形成装置に関する。
続きを表示(約 2,100 文字)
【背景技術】
【0002】
従来、シートに画像を形成する画像形成装置では、シートと該シートに書き込まれる画像との位置精度が要求されている。特に、シート搬送方向に直交するシート幅方向のずれに対しての補正手段として、以下のような画像形成装置が開発されている(特許文献1参照)。この画像形成装置は、中間転写体上のトナー画像をシートに転写する転写部の上流に配置したレジストレーションローラ対の近傍に、シート幅方向の側端位置を検知する検知部を備えている。そして、検知部における検知量に基づいたシート側端位置を基準として、像担持体上に潜像を形成し、シート位置に合わせて書き込み位置補正を行う。
【先行技術文献】
【特許文献】
【0003】
特開2006-293280号公報
【発明の概要】
【発明が解決しようとする課題】
【0004】
しかしながら、特許文献1に記載された画像形成装置では、シート先端部におけるシート側端の位置をCISセンサによって読み取り、その検知結果に基づいて書き込み位置制御を行っている。このため、シート先端部の側端位置に合わせて画像形成位置を調整すると、シートの後端部では画像がシートに対して先端部よりも大きくずれてしまう虞がある。特に、シートの裁断精度が悪い場合にはシートの後端部におけるシート幅方向の画像のずれが発生しやすく、また、両面印刷を行う場合にはシートの搬送方向を反転させることから表裏の画像のシート幅方向の位置がずれてしまう虞がある。
【0005】
本発明は、シートに形成する画像のシート幅方向への位置精度を向上する画像形成装置を提供することを目的とする。
【課題を解決するための手段】
【0006】
本発明の第1の態様は、シートに画像を形成する画像形成部と、前記画像形成部にシートを搬送する搬送部と、シート搬送方向に交差するシート幅方向におけるシートの位置を検知する幅位置検知部と、前記幅位置検知部の検知結果に基づき取得される、前記搬送部により搬送されるシートをシート搬送方向に三等分した領域のうちの中央の領域に位置する第1検知位置における前記シート幅方向におけるシートの第1幅位置に基づいて、シートに画像を形成する位置を調整する制御部と、を備えることを特徴とする画像形成装置である。
【発明の効果】
【0007】
本発明によれば、シートに形成する画像のシート幅方向への位置精度を向上することができる。
【図面の簡単な説明】
【0008】
第1の実施形態に係る画像形成装置を示す断面図である。
第1の実施形態に係る画像形成装置の制御系を示すブロック図である。
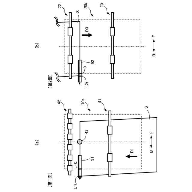
第1の実施形態に係るシート搬送部を示す図であり、(a)は第1搬送部においてシート先端を検知したとき、(b)は第2搬送部においてシート先端を検知したときである。
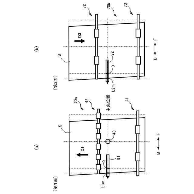
第1の実施形態に係るシート搬送部を示す図であり、(a)は第1搬送部においてシート中央位置を検知したとき、(b)は第2搬送部においてシート中央位置を検知したときである。
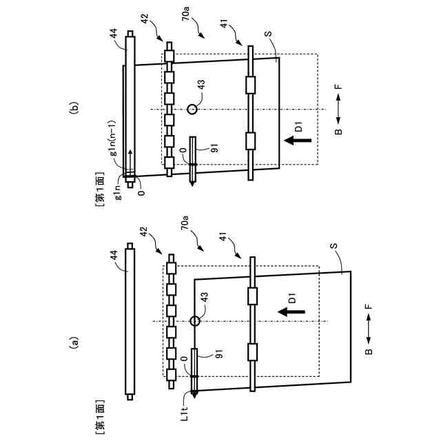
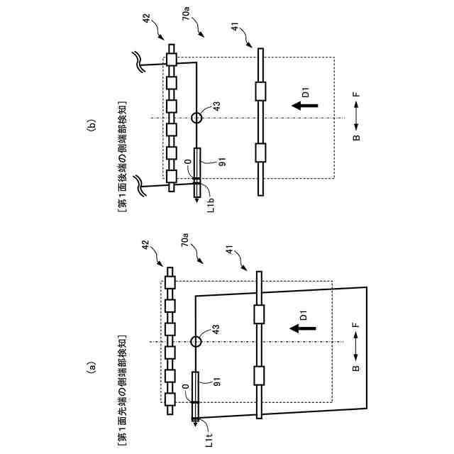
第1の実施形態に係る第1搬送部を示す図であり、(a)はシート先端を検知したとき、(b)はシートに画像を転写したときである。
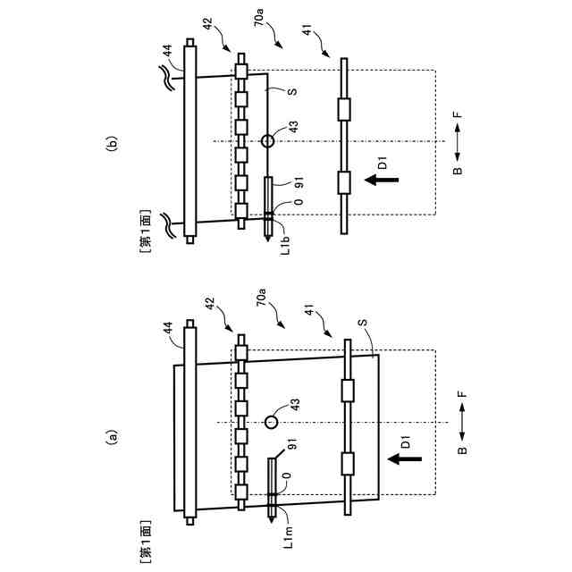
第1の実施形態に係る第1搬送部を示す図であり、(a)はシート中央位置を検知したとき、(b)はシート後端を検知したときである。
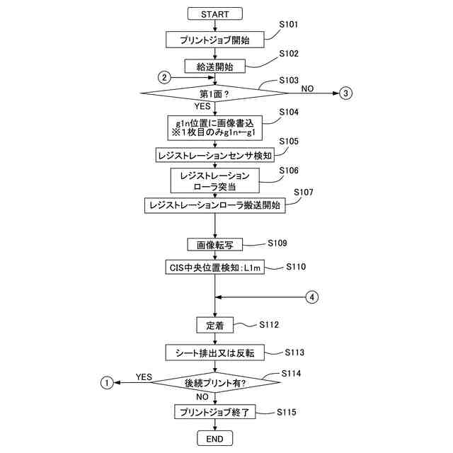
第1の実施形態に係る画像形成装置により両面印刷した時の手順を示すフローチャートの前半である。
第1の実施形態に係る画像形成装置により両面印刷した時の手順を示すフローチャートの後半である。
第2の実施形態に係る第1搬送部を示す図であり、(a)はシート先端を検知したとき、(b)はシート後端を検知したときである。
第3の実施形態に係る画像形成装置により両面印刷した時の手順を示すフローチャートの前半である。
第3の実施形態に係る画像形成装置により両面印刷した時の手順を示すフローチャートの後半である。
【発明を実施するための形態】
【0009】
以下、本開示に係る実施形態について、図面を参照しながら説明する。
【0010】
<第1の実施形態>
図1~図8を用いて、第1の実施形態に係る画像形成装置1について説明する。まず、本実施形態に係る画像形成装置1の概略構成を、図1を用いて説明する。図1は本実施形態に係る画像形成装置1の概略構成を示す正面側から視た断面図である。本体の正面側Fから見た時の紙面奥行方向が本体の奥側Bである。画像形成装置1は、電子写真プロセスを利用したタンデム方式-中間転写式のレーザビームプリンタである。画像形成装置1は、制御部200に接続された外部のコンピュータ204(図2参照)から出力される印刷画像データに対応したフルカラー、または単色の画像を記録媒体であるシートSに形成して出力することができる。
(【0011】以降は省略されています)
この特許をJ-PlatPat(特許庁公式サイト)で参照する
関連特許
キヤノン株式会社
容器
1か月前
キヤノン株式会社
容器
1か月前
キヤノン株式会社
トナー
22日前
キヤノン株式会社
トナー
1か月前
キヤノン株式会社
撮像装置
23日前
キヤノン株式会社
撮像装置
1日前
キヤノン株式会社
定着装置
15日前
キヤノン株式会社
電子機器
22日前
キヤノン株式会社
記録装置
22日前
キヤノン株式会社
定着装置
15日前
キヤノン株式会社
撮像装置
1日前
キヤノン株式会社
表示装置
1日前
キヤノン株式会社
測距装置
1か月前
キヤノン株式会社
現像容器
1か月前
キヤノン株式会社
電子機器
22日前
キヤノン株式会社
記録装置
22日前
キヤノン株式会社
撮影装置
1か月前
キヤノン株式会社
表示装置
1日前
キヤノン株式会社
現像装置
1か月前
キヤノン株式会社
現像装置
1か月前
キヤノン株式会社
定着装置
9日前
キヤノン株式会社
撮像装置
9日前
キヤノン株式会社
撮像装置
9日前
キヤノン株式会社
撮像装置
3日前
キヤノン株式会社
測距装置
24日前
キヤノン株式会社
表示装置
1か月前
キヤノン株式会社
撮像装置
1か月前
キヤノン株式会社
記録装置
1か月前
キヤノン株式会社
定着装置
9日前
キヤノン株式会社
表示装置
1日前
キヤノン株式会社
現像容器
1か月前
キヤノン株式会社
記録装置
15日前
キヤノン株式会社
発光装置
1日前
キヤノン株式会社
定着装置
15日前
キヤノン株式会社
撮像装置
1か月前
キヤノン株式会社
撮像装置
22日前
続きを見る
他の特許を見る