TOP
|
特許
|
意匠
|
商標
特許ウォッチ
Twitter
他の特許を見る
10個以上の画像は省略されています。
公開番号
2025173795
公報種別
公開特許公報(A)
公開日
2025-11-28
出願番号
2024079561
出願日
2024-05-15
発明の名称
インク補充用パウチ
出願人
キヤノン株式会社
代理人
弁理士法人秀和特許事務所
主分類
B41J
2/175 20060101AFI20251120BHJP(印刷;線画機;タイプライター;スタンプ)
要約
【課題】インク補充用パウチにおいてインクの補充作業における作業性の向上を図ることができる技術を提供する。
【解決手段】液体吐出装置100にインクを補充するためのインク補充用パウチ1であって、インクを収容するためのパウチ部2と、パウチ部2に設けられ、パウチ部2の内部から外部へインクを排出する排出路を備えた排出路形成部4と、を備え、排出路形成部4は、排出路が第1方向に延びる第1部分3と、排出路が第1方向と交差する第2方向に延びる第2部分5と、を含むことを特徴とする。本明細書に記載の技術は脱炭素/循環型社会などの持続可能な社会の実現に貢献し得る。
【選択図】図1
特許請求の範囲
【請求項1】
液体吐出装置にインクを補充するためのインク補充用パウチであって、
インクを収容するためのパウチ部と、
前記パウチ部に設けられ、前記パウチ部の内部から外部へインクを排出する排出路を備えた排出路形成部と、
を備え、
前記排出路形成部は、前記排出路が第1方向に延びる第1部分と、前記排出路が前記第1方向と交差する第2方向に延びる第2部分と、を含むことを特徴とするインク補充用パウチ。
続きを表示(約 1,300 文字)
【請求項2】
前記排出路形成部は、前記第2部分の先端に、インクが前記パウチ部の外部へ排出される排出口を有し、
前記第2方向は、前記パウチ部の長手方向と交差する方向である、請求項1に記載のインク補充用パウチ。
【請求項3】
前記第1方向は、前記パウチ部の長手方向に沿った方向である、請求項2に記載のインク補充用パウチ。
【請求項4】
前記排出路形成部は、
前記パウチ部の内部に開口し、前記パウチ部の内部のインクを前記排出路に導入する導入口と、
前記排出路の内部に配置され、前記導入口を前記排出路の内部側から塞ぐように前記排出路の壁面に接触する封止位置と、前記壁面から離れる非封止位置と、を取り得るように構成された封止部材と、
前記封止部材を前記封止位置に位置させる付勢力を前記封止部材に付与する付勢部材と、
を備える、請求項2に記載のインク補充用パウチ。
【請求項5】
前記付勢力は、前記パウチ部の内部に収容されたインクの重量のみが前記付勢部材に作用する場合の加圧力よりも大きい、請求項4に記載のインク補充用パウチ。
【請求項6】
前記導入口、前記封止部材、及び前記付勢部材は、前記第1部分に設けられている、請求項4に記載のインク補充用パウチ。
【請求項7】
前記排出路形成部は、前記第1部分と前記第2部分とが略L字を形成するように配置されている、請求項1に記載のインク補充用パウチ。
【請求項8】
前記第2部分は、前記パウチ部に対する相対位置を変更可能に構成されており、
前記第2部分の延びる方向が前記第2方向となる前記相対位置において、前記パウチ部の内部が前記排出口を介して前記パウチ部の外部と流通可能となるように構成されている、請求項2に記載のインク補充用パウチ。
【請求項9】
前記排出路は、前記第1部分に設けられる第1排出路と、前記第2部分に設けられる第2排出路と、を含み、
前記排出路形成部は、前記第1部分と前記第2部分との間に連結され、前記第1排出路と前記第2排出路とをつなぐ第3排出路を形成する、可撓性を有するチューブを備え、
前記第1部分は、前記チューブの外面と接触可能な第1押圧部を有し、
前記第2部分は、前記第1押圧部とは反対側の位置において前記外面と接触可能な第2押圧部を有し、
前記第1部分と前記第2部分は、互いの相対位置を変更可能に構成されており、前記第1押圧部と前記第2押圧部が前記チューブを挟み込んで前記第3排出路を閉塞する閉塞位置と、前記第1押圧部と前記第2押圧部が互いに離間して前記第3排出路を開放する開放位置と、を取り得る、請求項2に記載のインク補充用パウチ。
【請求項10】
前記相対位置が前記開放位置となるときに、前記第2部分の延びる方向が前記第2方向となる、請求項9に記載のインク補充用パウチ。
(【請求項11】以降は省略されています)
発明の詳細な説明
【技術分野】
【0001】
本発明は、インク補充用パウチに関するものである。
続きを表示(約 1,900 文字)
【背景技術】
【0002】
記録用液体としてインクを記録媒体に吐出して記録媒体に記録を行うインク吐出装置(液体吐出装置)としての記録装置(例えばインクジェットプリンタ)が従来より知られる。この種のインク吐出装置は、タンク内のインクが少なくなると、補充用のインクを収容した容器から補充口へインクを注入して、タンクへインクを補充する。補充用のインクを収容する容器として、ボトル状の容器、あるいは、可撓性のフィルムの周縁部を接合して形成された収容袋(パウチ)にインクを注ぎ出すための注出部を設けた補充用パウチが用いられることがある。特に、インク補充用パウチは、例えば、2枚のフィルムの4辺を互いに熱溶着で接着し、袋状に形成されていることがある(例えば、特許文献1)。
【先行技術文献】
【特許文献】
【0003】
特開2018-2262号公報
【発明の概要】
【発明が解決しようとする課題】
【0004】
ここで、近年の社会的要請として、脱炭素/循環型社会などの持続可能な社会の実現へ貢献し得る技術開発が求められている。特に、環境配慮の観点から、補充用のインクを収容する容器として、インク補充用パウチは、インクボトルよりも材料の使用量が少なく好ましい。しかしながら、インク補充用パウチはインクボトルと異なり可撓性があるため、インク補充受け口に、インク供給ノズルを位置合わせすることが困難となることがある。これにより、位置合わせに時間がかかったり、位置合わせミスで液漏れが発生するなどの懸念があった。
【0005】
本発明の目的は、インク補充用パウチにおいて液体の補充作業における作業性の向上を図ることができる技術を提供することである。
【課題を解決するための手段】
【0006】
上記目的を達成するため、本発明のインク補充用パウチは、
液体吐出装置にインクを補充するためのインク補充用パウチであって、
インクを収容するためのパウチ部と、
前記パウチ部に設けられ、前記パウチ部の内部から外部へインクを排出する排出路を備えた排出路形成部と、
を備え、
前記排出路形成部は、前記排出路が第1方向に延びる第1部分と、前記排出路が前記第1方向と交差する第2方向に延びる第2部分と、を含むことを特徴とする。
【発明の効果】
【0007】
本発明によれば、インク補充用パウチにおいてインクの補充作業における作業性の向上を図ることができる。
【図面の簡単な説明】
【0008】
本発明の第1実施形態に係るインク補充用パウチの説明図
本発明の第1実施形態に係るインク補充用パウチの説明図
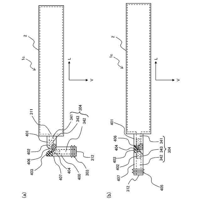
本発明の第2実施形態に係るインク補充用パウチの説明図
本発明の第2実施形態の変形例に係るインク補充用パウチの説明図
本発明の第3実施形態に係るインク補充用パウチの説明図
本発明の第3実施形態に係るインク補充用パウチの説明図
本発明の第4実施形態に係るインク補充用パウチの説明図
本発明の第4実施形態に係るインク補充用パウチの説明図
本発明の第5実施形態に係るインク補充用パウチの説明図
【発明を実施するための形態】
【0009】
以下に図面を参照して、この発明を実施するための形態を、実施例に基づいて例示的に詳しく説明する。ただし、この実施の形態に記載されている構成部品の寸法、材質、形状それらの相対配置などは、発明が適用される装置の構成や各種条件により適宜変更されるべきものである。すなわち、この発明の範囲を以下の実施の形態に限定する趣旨のものではない。また、以下で説明する各実施形態には複数の特徴が記載されているが、これらの複数の特徴の全てが発明に必須のものとは限らず、また、複数の特徴は任意に組み合わせられてもよい。さらに、添付図面においては、各実施形態の間において同一若しくは同様の構成に同一の参照番号を付し、重複した説明は省略する。
【0010】
(第1実施形態)
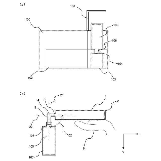
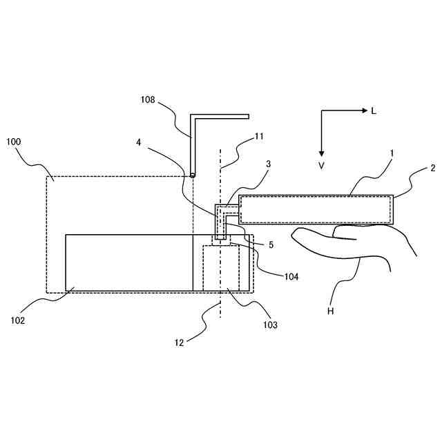
図1は、インクジェットプリンタ100に備わるサブインクタンク103のインク供給受け口104に対して、本発明の第1実施形態に係るインク補充用パウチ1(液体補充用パウチ)から直接インクを供給する場合の事例を説明する図を示す。
(【0011】以降は省略されています)
この特許をJ-PlatPat(特許庁公式サイト)で参照する
関連特許
キヤノン株式会社
容器
1か月前
キヤノン株式会社
容器
1か月前
キヤノン株式会社
トナー
22日前
キヤノン株式会社
撮像装置
1日前
キヤノン株式会社
雲台装置
22日前
キヤノン株式会社
撮像装置
1か月前
キヤノン株式会社
撮像装置
3日前
キヤノン株式会社
表示装置
1か月前
キヤノン株式会社
撮像装置
22日前
キヤノン株式会社
記録装置
22日前
キヤノン株式会社
撮像装置
23日前
キヤノン株式会社
定着装置
15日前
キヤノン株式会社
定着装置
15日前
キヤノン株式会社
電子機器
22日前
キヤノン株式会社
撮像装置
17日前
キヤノン株式会社
表示装置
1日前
キヤノン株式会社
表示装置
1日前
キヤノン株式会社
表示装置
1日前
キヤノン株式会社
定着装置
9日前
キヤノン株式会社
撮像装置
9日前
キヤノン株式会社
電子機器
22日前
キヤノン株式会社
撮像装置
9日前
キヤノン株式会社
発光装置
1日前
キヤノン株式会社
記録装置
22日前
キヤノン株式会社
定着装置
9日前
キヤノン株式会社
電子機器
17日前
キヤノン株式会社
記録装置
15日前
キヤノン株式会社
定着装置
15日前
キヤノン株式会社
測距装置
24日前
キヤノン株式会社
撮像装置
1日前
キヤノン株式会社
液体収容体
25日前
キヤノン株式会社
液体収容体
24日前
キヤノン株式会社
露光ヘッド
15日前
キヤノン株式会社
画像形成装置
2日前
キヤノン株式会社
画像形成装置
9日前
キヤノン株式会社
画像形成装置
9日前
続きを見る
他の特許を見る