TOP
|
特許
|
意匠
|
商標
特許ウォッチ
Twitter
他の特許を見る
公開番号
2025177893
公報種別
公開特許公報(A)
公開日
2025-12-05
出願番号
2024085042
出願日
2024-05-24
発明の名称
画像形成装置
出願人
キヤノン株式会社
代理人
個人
主分類
B41J
2/447 20060101AFI20251128BHJP(印刷;線画機;タイプライター;スタンプ)
要約
【課題】発光チップの実装ずれに起因する画質の低下を抑制する。
【解決手段】画像形成装置は、感光ドラム(102)と、それぞれが複数の発光素子(602)を含む複数の発光チップ400有し、複数の発光素子(602)により感光ドラム(102)を露光して画像を形成する露光ヘッド(106)と、画像データを露光ヘッド(106)へ送信して、露光ヘッド(106)により該画像データに応じた画像を感光ドラム(102)に形成する画像コントローラ700と、複数の発光チップ400のそれぞれの実装位置の基準位置からのずれを表す実装ずれ量を格納する格納部710と、を備える。画像コントローラ700は、画像データを発光チップ400の数に応じて複数の部分画像データに分割し、実装ずれ量に基づいたタイミングで、部分画像データをそれぞれ対応する発光チップ400へ送信する。
【選択図】図7
特許請求の範囲
【請求項1】
感光体と、
それぞれが複数の発光素子を含む複数の発光チップを有し、前記複数の発光素子により前記感光体を露光して画像を形成する露光手段と、
画像データを前記露光手段へ送信して、前記露光手段により該画像データに応じた画像を前記感光体に形成する制御手段と、
前記複数の発光チップのそれぞれの実装位置の基準位置からのずれを表す実装ずれ量を格納する格納手段と、を備え、
前記制御手段は、前記画像データを前記発光チップの数に応じて複数の部分画像データに分割し、前記実装ずれ量に基づいたタイミングで、部分画像データをそれぞれ対応する発光チップへ送信することを特徴とする、
画像形成装置。
続きを表示(約 1,200 文字)
【請求項2】
前記複数の発光素子は、第1方向と前記第1方向に直交する第2方向に配列されており、
前記実装ずれ量は、前記第2方向の最上流に配置される発光チップの所定の発光素子の位置を前記基準位置として検出されることを特徴とする、
請求項1記載の画像形成装置。
【請求項3】
前記複数の発光素子は、第1方向と前記第1方向に直交する第2方向に配列されており、
前記実装ずれ量は、前記第2方向の最上流に配置される前記発光チップの前記第2方向の最上流の発光素子の位置を前記基準位置として検出されることを特徴とする、
請求項1記載の画像形成装置。
【請求項4】
前記制御手段は、発光チップの発光素子が実装される領域を前記第1方向に複数に分割した分割領域のそれぞれに対して、前記実装ずれ量に基づいて部分画像データを出力するタイミングを設定することを特徴とする、
請求項3記載の画像形成装置。
【請求項5】
前記実装ずれ量は、発光チップの前記第1方向の最上流の発光素子と前記基準位置との第1距離と、該発光チップの前記第1方向の最下流の発光素子と前記基準位置との第2距離と、を含み、
前記制御手段は、前記第1距離と前記第2距離とに基づいて、複数の前記分割領域のそれぞれの前記タイミングを設定することを特徴とする、
請求項4記載の画像形成装置。
【請求項6】
前記感光体はドラム形状であり、前記第1方向は前記感光体のドラム軸方向であり、前記第2方向は前記感光体の周方向であることを特徴とする、
請求項5記載の画像形成装置。
【請求項7】
前記複数の発光チップは前記第1方向に千鳥状に配列されることを特徴とする、
請求項6記載の画像形成装置。
【請求項8】
前記複数の部分画像データを記憶する複数の記憶手段をさらに備えており、
前記制御手段は、前記複数の発光チップのそれぞれに対応して前記画像データから前記複数の部分画像データを生成し、生成した部分画像データをそれぞれ対応する記憶手段に記憶させ、
前記複数の記憶手段は、前記複数の発光チップに対応して設けられることを特徴とする、
請求項1記載の画像形成装置。
【請求項9】
前記記憶手段の個数が奇数の場合、各記憶手段の記憶容量は、前記記憶手段の個数が偶数の場合よりも少ないことを特徴とする、
請求項8記載の画像形成装置。
【請求項10】
前記制御手段は、前記複数の記憶手段のそれぞれから前記部分画像データを読み出して、それぞれ対応する発光チップへ送信することを特徴とする、
請求項8記載の画像形成装置。
(【請求項11】以降は省略されています)
発明の詳細な説明
【技術分野】
【0001】
本発明は、複数の発光素子を有する露光装置を備えた画像形成装置に関する。
続きを表示(約 2,200 文字)
【背景技術】
【0002】
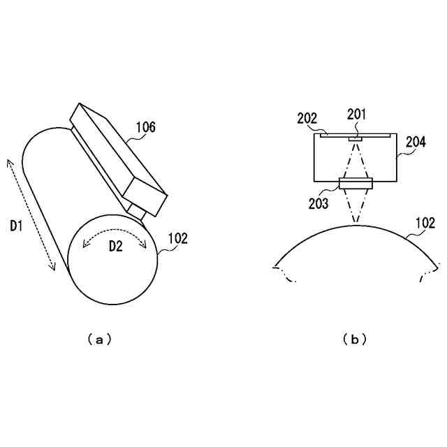
電子写真方式の画像形成装置は、回転駆動される感光ドラムを露光して形成した静電潜像をトナーにより現像することで、画像を形成する。感光ドラムを露光する露光装置には、平面状に複数の発光素子が配列された複数の発光チップを有する固体露光方式のものがある。固体露光方式の露光装置は、感光ドラムの回転軸(ドラム軸)に平行に配置される。特許文献1には、固体露光方式の発光装置を用いる画像形成装置が開示される。この発光装置は、複数の発光チップが感光ドラムの回転軸方向に沿って千鳥状に配置される。このような構成は、露光装置のサイズの変更を容易にする。
【先行技術文献】
【特許文献】
【0003】
特開2017-183436号公報
【発明の概要】
【発明が解決しようとする課題】
【0004】
複数の発光チップは、露光装置のプリント基板に実装される。発光チップは、実装時に理想的な位置からずれて実装される実装ずれが発生することがある。実装ずれ量は、各発光チップにより異なる。発光チップの実装ずれは、形成される画像の画質低下の原因となる。各発光チップの実装ずれを防止するためには、製造工程における実装精度の向上が重要である。しかし、製造工程における実装精度の向上はコストが高くなる。そのために実装精度とコストとがトレードオフの関係にある。
【0005】
本発明は、上述の問題に鑑み、発光チップの実装ずれに起因する画質の低下を抑制する画像形成装置を提供することを主たる目的とする。
【課題を解決するための手段】
【0006】
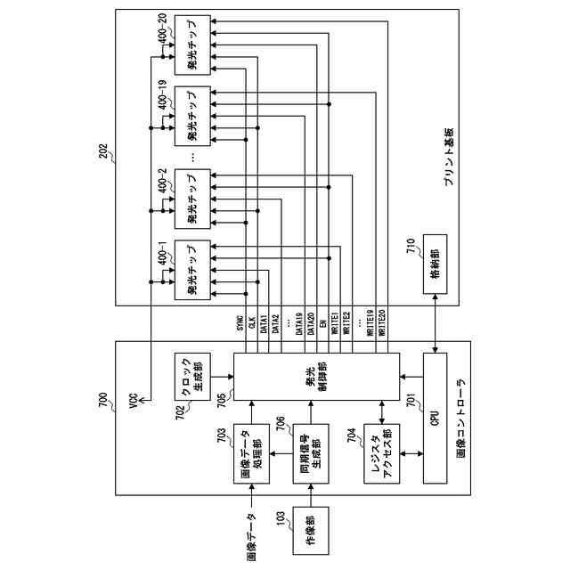
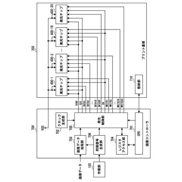
本発明の画像形成装置は、感光体と、それぞれが複数の発光素子を含む複数の発光チップを有し、前記複数の発光素子により前記感光体を露光して画像を形成する露光手段と、画像データを前記露光手段へ送信して、前記露光手段により該画像データに応じた画像を前記感光体に形成する制御手段と、前記複数の発光チップのそれぞれの実装位置の基準位置からのずれを表す実装ずれ量を格納する格納手段と、を備え、前記制御手段は、前記画像データを前記発光チップの数に応じて複数の部分画像データに分割し、前記実装ずれ量に基づいたタイミングで、部分画像データをそれぞれ対応する発光チップへ送信することを特徴とする。
【発明の効果】
【0007】
本発明によれば、発光チップの実装ずれに起因する画質の低下を抑制することができる。
【図面の簡単な説明】
【0008】
画像形成装置の構成図。
(a)、(b)は、感光ドラム及び露光ヘッドの説明図。
(a)、(b)は、プリント基板の説明図。
発光チップの説明図。
発光チップの平面図。
図5のA-A断面図。
画像コントローラの構成図。
制御データを書き込む場合のタイミングチャート。
プリント画像データを送信する際のタイミングチャート。
1つの発光チップの詳細な機能構成図。
多重露光の説明図。
発光制御部の構成図。
部分画像データの説明図。
(a)、(b)は、部分画像データの出力制御の説明図。
(a)、(b)は、部分画像データの出力制御の説明図。
部分画像データの出力制御の説明図。
発光チップの実装ずれの説明図。
実装ずれが無い場合の部分画像データの出力制御の説明図。
(a)~(d)は、実装ずれが無い場合の部分画像データの出力制御の説明図。
(a)~(d)は、実装ずれが無い場合の部分画像データの出力制御の説明図。
実装ずれが有る状態の部分画像データの出力制御の説明図。
(a)~(d)は、実装ずれが有る状態の部分画像データの出力制御の説明図。
(a)~(e)は、実装ずれが有る状態の部分画像データの出力制御の説明図。
露光制御処理を表すフローチャート。
【発明を実施するための形態】
【0009】
以下、添付図面を参照して本発明の好適な実施形態について説明する。なお、以下の実施形態は特許請求の範囲に係る発明を限定するものではない。実施形態には複数の特徴が記載されているが、これらの複数の特徴の全てが発明に必須のものとは限らず、また、複数の特徴は任意に組み合わせられてもよい。さらに、添付図面においては、同一若しくは同様の構成に同一の参照番号を付し、重複した説明は省略する。
【0010】
(画像形成装置)
図1は、本実施形態の画像形成装置の構成図である。画像形成装置1は、読取部100、作像部103、定着部104、及び搬送部105を備える。読取部100は、原稿台に載置された原稿を光学的に読み取って読取画像データを生成する。作像部103は、読取部100で生成された読取画像データ或いはネットワークを介して外部装置から取得した印刷用画像データに基づいて、シートに画像を形成する。このような画像形成装置1は、例えば複写機、複合機、MFP(Multi Function Peripheral)等により実現される。
(【0011】以降は省略されています)
この特許をJ-PlatPat(特許庁公式サイト)で参照する
関連特許
キヤノン株式会社
容器
1か月前
キヤノン株式会社
容器
1か月前
キヤノン株式会社
トナー
1か月前
キヤノン株式会社
トナー
28日前
キヤノン株式会社
記録装置
21日前
キヤノン株式会社
測距装置
1か月前
キヤノン株式会社
表示装置
1か月前
キヤノン株式会社
表示装置
今日
キヤノン株式会社
撮像装置
今日
キヤノン株式会社
撮像装置
今日
キヤノン株式会社
雲台装置
28日前
キヤノン株式会社
撮像装置
15日前
キヤノン株式会社
撮像装置
1か月前
キヤノン株式会社
撮像装置
15日前
キヤノン株式会社
定着装置
15日前
キヤノン株式会社
表示装置
7日前
キヤノン株式会社
測距装置
1か月前
キヤノン株式会社
発光装置
7日前
キヤノン株式会社
定着装置
21日前
キヤノン株式会社
電子機器
28日前
キヤノン株式会社
記録装置
28日前
キヤノン株式会社
撮像装置
29日前
キヤノン株式会社
撮像装置
今日
キヤノン株式会社
撮像装置
今日
キヤノン株式会社
撮像装置
今日
キヤノン株式会社
電子機器
28日前
キヤノン株式会社
記録装置
28日前
キヤノン株式会社
記録装置
1日前
キヤノン株式会社
撮像装置
7日前
キヤノン株式会社
撮像装置
28日前
キヤノン株式会社
電子機器
23日前
キヤノン株式会社
撮像装置
1か月前
キヤノン株式会社
定着装置
21日前
キヤノン株式会社
現像容器
1か月前
キヤノン株式会社
現像装置
1か月前
キヤノン株式会社
現像装置
1か月前
続きを見る
他の特許を見る