TOP
|
特許
|
意匠
|
商標
特許ウォッチ
Twitter
他の特許を見る
公開番号
2025176364
公報種別
公開特許公報(A)
公開日
2025-12-04
出願番号
2024082459
出願日
2024-05-21
発明の名称
映像表示装置
出願人
キヤノン株式会社
代理人
個人
,
個人
,
個人
,
個人
,
個人
主分類
H04N
5/64 20060101AFI20251127BHJP(電気通信技術)
要約
【課題】 3D映像をユーザに見せるための機構の一部をモータによって移動させた時の駆動音による没入感の低下を抑えることができる映像表示装置を提供する。
【解決手段】 ユーザの頭部に装着して使用可能な映像表示装置であって、左眼用の映像と右眼用の映像の一方を出力する第1の光学ユニットと、前記左眼用の映像と前記右眼用の映像の他方を出力する第2の光学ユニットと、電圧を印加することで振動する振動子及び前記振動子に設けられた突起と接触する接触部材とを有し、前記振動子が振動することで前記第1の光学ユニットに含まれる光学部材を移動させる駆動力を発生させるモータと、を有し、前記光学部材の光軸方向から見て、前記モータは、前記光学部材の光軸に対して、前記第2の光学ユニットが配置される側とは反対側に配置され、前記接触部材は、前記振動子よりも前記光学部材から遠い位置に配置されることを特徴とする。
【選択図】 図5
特許請求の範囲
【請求項1】
ユーザの頭部に装着して使用可能な映像表示装置であって、
左眼用の映像と右眼用の映像の一方を出力する第1の光学ユニットと、
前記左眼用の映像と前記右眼用の映像の他方を出力する第2の光学ユニットと、
電圧を印加することで振動する振動子及び前記振動子に設けられた突起と接触する接触部材とを有し、前記振動子が振動することで前記第1の光学ユニットに含まれる光学部材を移動させる駆動力を発生させるモータと、を有し、
前記光学部材の光軸方向から見て、
前記モータは、前記光学部材の光軸に対して、前記第2の光学ユニットが配置される側とは反対側に配置され、
前記接触部材は、前記振動子よりも前記光学部材から遠い位置に配置されることを特徴とする映像表示装置。
続きを表示(約 670 文字)
【請求項2】
前記モータは、前記光学部材を前記光軸と平行な方向に移動させる駆動力を発生させることを特徴とする請求項1に記載の映像表示装置。
【請求項3】
前記振動子が振動することで、前記光学部材及び前記接触部材が移動することを特徴とする請求項1に記載の映像表示装置。
【請求項4】
前記接触部材と接している減衰部材を有することを特徴とする請求項1に記載の映像表示装置。
【請求項5】
前記接触部材を保持する保持部材を有し、
前記減衰部材は、前記接触部材と前記保持部材との間に配置されることを特徴とする請求項4に記載の映像表示装置。
【請求項6】
前記光学部材の光軸方向から見て、前記モータの周囲を囲むカバー部材と、
前記カバー部材と前記接触部材との間に配置される吸音材と、を有することを特徴とする請求項1に記載の映像表示装置。
【請求項7】
前記振動子と前記接触部材とが並ぶ方向において、前記接触部材に対して前記振動子が配置される側とは反対側に配置される吸音材と、を有することを特徴とする請求項1に記載の映像表示装置。
【請求項8】
前記光学部材は、前記第1の光学ユニットに含まれる表示部に表示された映像をユーザに導くレンズであることを特徴とする請求項1に記載の映像表示装置。
【請求項9】
前記光学部材は、前記第1の光学ユニットに含まれる表示部であることを特徴とする請求項1に記載の映像表示装置。
発明の詳細な説明
【技術分野】
【0001】
本発明は、ユーザの頭部に装着して使用可能な映像表示装置に関する。
続きを表示(約 1,600 文字)
【背景技術】
【0002】
ヘッドマウントディスプレイ(HMD)などのユーザの頭部に装着して使用可能な映像表示装置は、ディスプレイやレンズなどの光学部材を備えた光学系を用いて装着したユーザに対して映像を提供する。また、近年このような映像表示装置は左眼用と右眼用の表示部に両眼視差を持つようにレンダリングされた映像を表示することで三次元(3D)映像を提供するものが多い。両眼視差を利用した3D映像化手法は、両眼の輻輳距離と調節距離の不一致による輻輳調節矛盾によりユーザへの負担が大きくなるおそれがある。この問題を解消するために、ディスプレイやレンズなどを備えた光学系の調節距離(または焦点距離)を可変とする可変焦点機構が検討されている。
【0003】
特許文献1には、可変焦点機構としてディスプレイやレンズなどを備えた光学系に含まれるいずれかの光学部材をアクチュエータで駆動するバーチャルリアリティ(VR)ヘッドセットが開示されている。
【先行技術文献】
【特許文献】
【0004】
特許第6502586号公報
【発明の概要】
【発明が解決しようとする課題】
【0005】
しかしながら、特許文献1では、VRヘッドセットをユーザの頭部に装着して使用する際にアクチュエータの駆動音がユーザに聞こえて映像コンテンツへの没入感を損なうおそれがあるという課題についてなんら考慮されていない。
【0006】
そこで、本発明の目的は、3D映像をユーザに見せるための機構の一部をモータによって移動させた時の駆動音による没入感の低下を抑えることができる映像表示装置を提供することである。
【課題を解決するための手段】
【0007】
上記目的を達成するために、本発明にかかる映像表示装置は、ユーザの頭部に装着して使用可能な映像表示装置であって、左眼用の映像と右眼用の映像の一方を出力する第1の光学ユニットと、前記左眼用の映像と前記右眼用の映像の他方を出力する第2の光学ユニットと、電圧を印加することで振動する振動子及び前記振動子に設けられた突起と接触する接触部材とを有し、前記振動子が振動することで前記第1の光学ユニットに含まれる光学部材を移動させる駆動力を発生させるモータと、を有し、前記光学部材の光軸方向から見て、前記モータは、前記光学部材の光軸に対して、前記第2の光学ユニットが配置される側とは反対側に配置され、前記接触部材は、前記振動子よりも前記光学部材から遠い位置に配置されることを特徴とする。
【発明の効果】
【0008】
本発明によれば、3D映像をユーザに見せるための機構の一部をモータによって移動させた時の駆動音による没入感の低下を抑えることができる映像表示装置を提供することができる。
【図面の簡単な説明】
【0009】
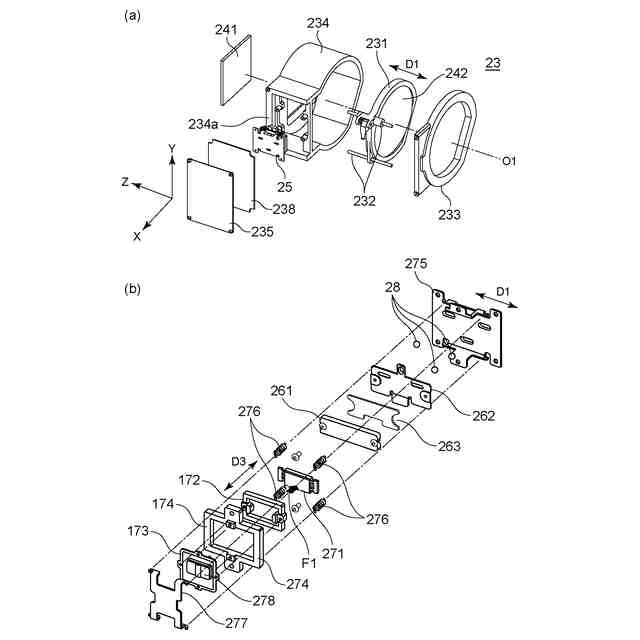
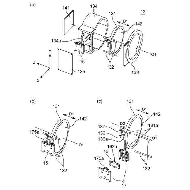
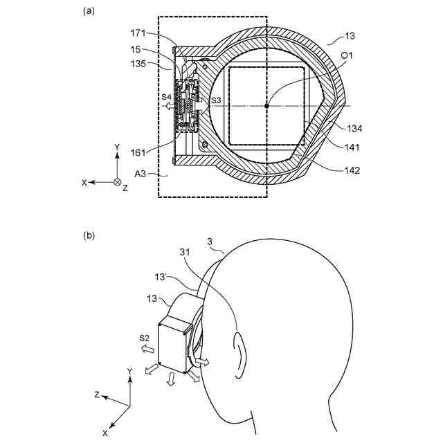
本発明の実施形態にかかるユーザの頭部に装着して使用可能な映像表示装置の構成を表す図
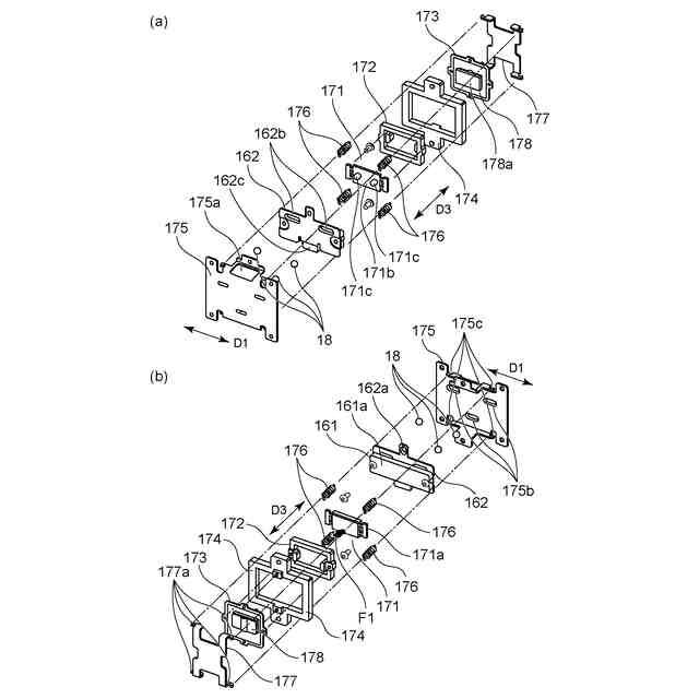
本発明の第1の実施形態にかかる可変焦点機構の構成を表す図
本発明の第1の実施形態にかかる可変焦点機構に用いるアクチュエータの構成を表す図
映像表示装置が備えるアクチュエータの駆動音の影響を示す図
第1の実施形態における映像表示装置が備えるアクチュエータの駆動音の影響を示す図
映像表示装置が備えるアクチュエータの駆動音の影響を示す図
本発明の第2の実施形態にかかる可変焦点機構の構成を表す図
第2の実施形態における映像表示装置が備えるアクチュエータの駆動音の影響を示す図
【発明を実施するための形態】
【0010】
以下、本発明の好ましい実施形態について説明する。
(【0011】以降は省略されています)
この特許をJ-PlatPat(特許庁公式サイト)で参照する
関連特許
キヤノン株式会社
記録装置
1日前
キヤノン株式会社
撮像装置
今日
キヤノン株式会社
撮像装置
15日前
キヤノン株式会社
撮像装置
15日前
キヤノン株式会社
定着装置
15日前
キヤノン株式会社
撮像装置
7日前
キヤノン株式会社
表示装置
7日前
キヤノン株式会社
表示装置
今日
キヤノン株式会社
撮像装置
今日
キヤノン株式会社
表示装置
7日前
キヤノン株式会社
記録装置
1日前
キヤノン株式会社
定着装置
21日前
キヤノン株式会社
撮像装置
今日
キヤノン株式会社
撮像装置
今日
キヤノン株式会社
撮像装置
今日
キヤノン株式会社
定着装置
15日前
キヤノン株式会社
撮像装置
7日前
キヤノン株式会社
二次電池
2日前
キヤノン株式会社
定着装置
21日前
キヤノン株式会社
表示装置
7日前
キヤノン株式会社
撮像装置
9日前
キヤノン株式会社
記録装置
21日前
キヤノン株式会社
電子機器
今日
キヤノン株式会社
発光装置
7日前
キヤノン株式会社
インク容器
1日前
キヤノン株式会社
画像形成装置
15日前
キヤノン株式会社
検査システム
7日前
キヤノン株式会社
画像形成装置
16日前
キヤノン株式会社
画像形成装置
16日前
キヤノン株式会社
画像形成装置
7日前
キヤノン株式会社
二成分現像剤
7日前
キヤノン株式会社
画像形成装置
16日前
キヤノン株式会社
情報処理装置
15日前
キヤノン株式会社
画像形成装置
15日前
キヤノン株式会社
画像形成装置
15日前
キヤノン株式会社
印刷システム
15日前
続きを見る
他の特許を見る