TOP
|
特許
|
意匠
|
商標
特許ウォッチ
Twitter
他の特許を見る
10個以上の画像は省略されています。
公開番号
2025171712
公報種別
公開特許公報(A)
公開日
2025-11-20
出願番号
2024077332
出願日
2024-05-10
発明の名称
情報処理装置
出願人
キヤノン株式会社
代理人
個人
主分類
A61B
5/00 20060101AFI20251113BHJP(医学または獣医学;衛生学)
要約
【課題】 感染症の感染リスク判定精度を向上させた装置を提供する。
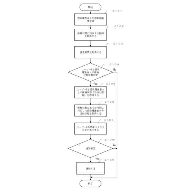
【解決手段】 本発明の感染リスク推定システムは、ユーザーの位置情報を取得する手段と、ユーザーの生体情報と罹患した疾病の情報を取得する手段と、ユーザーの疾病感染リスク(感染症罹患者から感染した可能性)を推定する推定手段と、ユーザーの疾病感染リスクを通知する通知手段を備え、推定手段は、疾病に罹患した第一のユーザーの位置情報の履歴より、接触状態にあった第二のユーザーを決定し、第一のユーザーの生体情報から、第二のユーザーと接触状態にあった期間の前記第一のユーザーの活動状態を推定し、第一のユーザーの活動状態と疾病の特徴から、第二のユーザーの感染リスクを推定し、通知手段は、第二のユーザーが疾病に感染したリスクが高いと推定された場合、疾病に感染した可能性が高いことに関する通知を行う。
【選択図】 図6
特許請求の範囲
【請求項1】
ユーザーの位置情報を取得する手段と、
前記ユーザーの生体情報と罹患した疾病の情報を取得する手段と、
前記ユーザーの前記疾病感染リスクを推定する推定手段と、
前記ユーザーの疾病感染リスクを通知する通知手段を備え、
前記推定手段は、疾病に罹患した第一のユーザーの位置情報の履歴より、接触状態にあった第二のユーザーを決定し、
前記第一のユーザーの前記生体情報から、前記第二のユーザーと接触状態にあった期間の前記第一のユーザーの活動状態を推定し、
前記第一のユーザーの前記活動状態と前記疾病の特徴から、前記第二のユーザーの感染リスクを推定し、
前記通知手段は、前記第二のユーザーが疾病に感染したリスクが高いと推定された場合、前記疾病に感染した可能性が高いことに関する通知を行うことを特徴とした感染リスク推定装置。
続きを表示(約 960 文字)
【請求項2】
前記生体情報は、前記提供者の心拍、血圧、血糖値、呼吸数、体温、脳波、心電、血流、心音、血中酸素濃度、コレステロール、血中アルコール濃度、発汗、筋電、および、音声の少なくともいずれか一つを含む請求項1記載の感染リスク推定装置。
【請求項3】
前記生体情報は、ウェアラブル端末より取得することを特徴とした請求項1記載の感染リスク推定システム。
【請求項4】
前記推定手段は、前記疾病の特徴によって推定方法を変化させることを特徴とした請求項1記載の感染リスク推定システム。
【請求項5】
ユーザーの位置情報を取得する手段と、
前記ユーザーの生体情報と罹患した疾病の情報を取得する手段と、
前記ユーザーの前記疾病感染リスク(感染症罹患者から感染した可能性)を推定する推定手段と、
前記ユーザーの疾病感染リスクを通知する通知手段を備え、
前記推定手段は、疾病に罹患した第一のユーザーの位置情報の履歴より、接触状態にあった第二のユーザーを決定し、
前記第一のユーザーの前記生体情報から、前記第二のユーザーと接触状態にあった期間の前記第一のユーザーの活動状態と、前記第二のユーザーの活動状態を推定し、
前記第一のユーザーの前記活動状態と前記疾病の特徴から、前記第二のユーザーの感染リスクを推定し、
前記通知手段は、前記第二のユーザーが疾病に感染したリスクが高いと推定された場合、前記疾病に感染した可能性が高いことに関する通知を行うことを特徴とした感染リスク推定システム。
【請求項6】
前記第二のユーザーの健康情報を取得する手段と、前記推定手段より推定された前記感染リスクを通知する手段は、前記健康情報に応じて、通知を行うことを特徴とした請求項1又は5記載の感染リスク推定システム。
【請求項7】
前記第二のユーザーの感染リスクに応じて、
前記第二のユーザーの位置情報の履歴より、接触状態にあった第三のユーザーを決定し、
前期第三のユーザーに対して前記推定手段により感染リスクを推定し、
前記通知手段により通知を行う請求項1又は5記載の感染リスク推定システム。
発明の詳細な説明
【技術分野】
【0001】
本発明は、感染リスクを推定する感染リスク推定方法、情報処理装置、プログラムに関するものである。
続きを表示(約 1,600 文字)
【背景技術】
【0002】
人から人にうつる感染症は、感染症の陽性者との接触や空気感染、飛沫感染によって拡大する。感染症の陽性者は、検査を受けるまでは自身が陽性であることを認識することは難しい場合も多く、周囲に感染を拡げてしまうことが問題となっている。
【0003】
感染症の拡大を防止するための技術として、特許文献1では、感染症の感染の有無等の判定結果と、端末の位置情報に基づいて当該端末に対して行動規制を行うための情報や治療に関する情報を通知するシステムが開示されている。
【0004】
また、非特許文献1(新型コロナウイルス接触確認アプリ(COCOA))には、「新型コロナウイルス接触確認アプリ(COCOA)」の説明が記載されており、スマートフォンの近接通信機能(ブルートゥース(登録商標))を利用して、互いに分からないようプライバシーを確保して、新型コロナウイルス感染症の陽性者と接触した可能性について通知を受けることができるソフトウェアが開示されている。非特許文献1は、利用者は、陽性者と接触した可能性が分かることで、検査の受診など保健所のサポートを早く受けることができるものである。
【先行技術文献】
【特許文献】
【0005】
特開2022-71523号公報
【非特許文献】
【0006】
厚生労働省, “ 新型コロナウイルス接触確認アプリ(COCOA) COVID-19 Contact-Confirming Application , インターネット< URL :https://www.mhlw.go.jp/stf/seisakunitsuite/bunya/cocoa_00138.html>
【発明の概要】
【発明が解決しようとする課題】
【0007】
上述の特許文献に開示された従来技術は、感染罹患者と対象ユーザーの距離と時間を測定して、濃厚接触者として感染リスクの判断基準としている。
【0008】
しかしながら、感染症リスクは距離と時間は間接的なファクターであり、実際には感染を受ける行動を取っていたかを見ないと感染リスクは見積もれない。例えば感染経路が飛沫起因の場合、飛沫を受けたかどうかが重要なファクターであり、時間と距離はあくまで間接的な指標である。そのため、短時間であっても飛沫を受ければ感染するし、長時間であっても飛沫を受けなければ感染しない。感染は感染経路による行動が重要なファクターであり、従来技術は見積もれない。
【0009】
そこで、本発明の目的は上述したような課題に鑑みてなされたものであって、感染症の感染リスク判定精度を向上させた装置を提供することである。
【課題を解決するための手段】
【0010】
上記目的を達成するために、本発明の感染リスク推定システムは、ユーザーの位置情報を取得する手段と、前記ユーザーの生体情報と罹患した疾病の情報を取得する手段と、前記ユーザーの前記疾病感染リスク(感染症罹患者から感染した可能性)を推定する推定手段と、前記ユーザーの疾病感染リスクを通知する通知手段を備え、前記推定手段は、疾病に罹患した第一のユーザーの位置情報の履歴より、接触状態にあった第二のユーザーを決定し、前記第一のユーザーの前記生体情報から、前記第二のユーザーと接触状態にあった期間の前記第一のユーザーの活動状態を推定し、前記第一のユーザーの前記活動状態と前記疾病の特徴から、前記第二のユーザーの感染リスクを推定し、前記通知手段は、前記第二のユーザーが疾病に感染したリスクが高いと推定された場合、前記疾病に感染した可能性が高いことに関する通知を行うことを特徴とする。
【発明の効果】
(【0011】以降は省略されています)
この特許をJ-PlatPat(特許庁公式サイト)で参照する
関連特許
キヤノン株式会社
容器
22日前
キヤノン株式会社
容器
28日前
キヤノン株式会社
トナー
14日前
キヤノン株式会社
トナー
1か月前
キヤノン株式会社
トナー
1か月前
キヤノン株式会社
トナー
1か月前
キヤノン株式会社
トナー
1か月前
キヤノン株式会社
トナー
1か月前
キヤノン株式会社
撮像装置
22日前
キヤノン株式会社
電子機器
1か月前
キヤノン株式会社
撮像装置
1か月前
キヤノン株式会社
現像装置
1か月前
キヤノン株式会社
電子機器
9日前
キヤノン株式会社
現像容器
1か月前
キヤノン株式会社
定着装置
1か月前
キヤノン株式会社
測距装置
1か月前
キヤノン株式会社
現像装置
1か月前
キヤノン株式会社
撮像装置
1日前
キヤノン株式会社
撮像装置
1日前
キヤノン株式会社
撮像装置
14日前
キヤノン株式会社
電子機器
14日前
キヤノン株式会社
定着装置
1日前
キヤノン株式会社
撮像装置
28日前
キヤノン株式会社
表示装置
22日前
キヤノン株式会社
記録装置
1か月前
キヤノン株式会社
雲台装置
14日前
キヤノン株式会社
撮像装置
9日前
キヤノン株式会社
記録装置
14日前
キヤノン株式会社
定着装置
7日前
キヤノン株式会社
撮像装置
28日前
キヤノン株式会社
定着装置
1日前
キヤノン株式会社
現像装置
1か月前
キヤノン株式会社
撮影装置
1か月前
キヤノン株式会社
記録装置
1か月前
キヤノン株式会社
定着装置
7日前
キヤノン株式会社
記録装置
14日前
続きを見る
他の特許を見る