TOP
|
特許
|
意匠
|
商標
特許ウォッチ
Twitter
他の特許を見る
10個以上の画像は省略されています。
公開番号
2025179600
公報種別
公開特許公報(A)
公開日
2025-12-10
出願番号
2024086458
出願日
2024-05-28
発明の名称
電気機器
出願人
キヤノン株式会社
代理人
弁理士法人大塚国際特許事務所
主分類
H04N
1/00 20060101AFI20251203BHJP(電気通信技術)
要約
【課題】操作パネルの姿勢変更に伴う電気ケーブルの露出を防止し、かつ、電気ケーブルの位置を制御することで静電気の影響を低減する。
【解決手段】装置本体と、前記装置本体に回動自在に支持され、前記装置本体の装着部と重なる第一の位置と、前記装着部から離間する第二の位置との間で姿勢を変更する操作パネルと、前記操作パネルの背面から前記装着部に形成された開口部を通って前記装置本体内に延設された電気ケーブルと、を備えた電気機器であって、前記操作パネルの前記背面から前記開口部に挿入され、前記電気ケーブルの少なくとも一部を覆うように形成されたカバー部と、前記装着部の前記開口部の内壁から前記カバー部内へ突出し、前記開口部を通る前記電気ケーブルの位置を規制する規制壁と、を備える。
【選択図】図13
特許請求の範囲
【請求項1】
装置本体と、
前記装置本体に回動自在に支持され、前記装置本体の装着部と重なる第一の位置と、前記第一の位置よりも前記装着部から離間する第二の位置との間で姿勢を変更する操作パネルと、
前記操作パネルの背面から前記装着部に形成された開口部を通って前記装置本体内に延設された電気ケーブルと、
を備えた電気機器であって、
前記操作パネルの前記背面から前記開口部に挿入され、前記電気ケーブルの少なくとも一部を覆うように形成されたカバー部と、
前記装着部の前記開口部の内壁から前記カバー部へ突出し、前記開口部を通る前記電気ケーブルの位置を規制する規制壁と、を備える、
ことを特徴とする電気機器。
続きを表示(約 1,500 文字)
【請求項2】
請求項1に記載の電気機器であって、
前記規制壁の先端部が、前記電気ケーブルの位置を規制する、
ことを特徴とする電気機器。
【請求項3】
請求項1に記載の電気機器であって、
前記規制壁は、前記電気ケーブルが通過する通過部を有し、
前記電気ケーブルは前記通過部を通過することによって、その位置が規制される、
ことを特徴とする電気機器。
【請求項4】
請求項1に記載の電気機器であって、
前記開口部は、第一の内壁と、前記第一の内壁と対向する第二の内壁と、前記第一の内壁と前記第二の内壁との間の第三の内壁と、前記第三の内壁と対向する第四の内壁と、を含み、
前記規制壁は、前記第一の内壁から前記カバー部内へ突出し、
前記カバー部は、前記規制壁と前記第三の内壁との間に位置する第一の壁部と、前記規制壁と前記第四の内壁との間に位置する第二の壁部とを含む、
ことを特徴とする電気機器。
【請求項5】
請求項4に記載の電気機器であって、
前記装着部は、前記装置本体の前面に位置し、
前記操作パネルは、前記装置本体の幅方向の回動中心線の周りに回動し、
前記開口部の前記第一の内壁は、前記開口部の上壁であり、
前記開口部の前記第二の内壁は、前記開口部の下壁であり、
前記開口部の前記第三の内壁及び前記第四の内壁は、それぞれ、前記開口部の側壁であり、
前記カバー部は、前記第一の壁部と前記第二の壁部との間の第三の壁部を含み、
前記第一の壁部及び前記第二の壁部は、前記電気ケーブルの側方を覆い、
前記第三の壁部は、前記電気ケーブルの下方を覆う、
ことを特徴とする電気機器。
【請求項6】
請求項5に記載の電気機器であって、
前記回動中心線は、前記操作パネルの上部を通り、
前記第一の位置では、前記操作パネルは垂直姿勢であり、
前記第二の位置では、前記操作パネルは傾斜姿勢であり、
前記第三の壁部は、前記回動中心線を中心とした円弧形状部を含む、
ことを特徴とする電気機器。
【請求項7】
請求項1に記載の電気機器であって、
前記装着部を形成し、前記操作パネルを回動自在に支持するフレームを含み、
前記フレームは、前記開口部の上縁に形成され、前記操作パネルの側に突出した庇部を有する、
ことを特徴とする電気機器。
【請求項8】
請求項1に記載の電気機器であって、
前記電気機器は、記録媒体に液体を吐出して記録を行う記録装置である、
ことを特徴とする電気機器。
【請求項9】
請求項8に記載の電気機器であって、
前記装着部を形成し、前記操作パネルを回動自在に支持するフレームを含み、
前記記録装置は、記録部と、前記記録部に開閉自在に取り付けられた原稿読取部とを含み、
前記フレームは、前記原稿読取部の閉時に前記原稿読取部と当接する当接部を有する、
ことを特徴とする電気機器。
【請求項10】
請求項8に記載の電気機器であって、
前記記録装置は、
前記記録装置の外装を形成する筐体と、
前記筐体の内側に配置され、液体を収容する容器と、を含み、
前記筐体は、前記容器を外部から視認可能な窓部を含み、
前記窓部は、透光部材で塞がれている、
ことを特徴とする電気機器。
発明の詳細な説明
【技術分野】
【0001】
本発明は操作パネルを備えた電気機器に関する。
続きを表示(約 2,000 文字)
【背景技術】
【0002】
操作パネルの視認性向上や操作性を向上させるために操作パネルが装置本体に対して姿勢変更可能な角度可変機構(チルト機構)を備える電気機器が知られている。操作パネルの姿勢によっては、操作パネルと装置本体との間の電気ケーブルが露出する場合がある。特許文献1には、電気ケーブルを覆うカバーを備えた画像形成装置が開示されている。カバーによって電気ケーブルが露出することが防止される。
【先行技術文献】
【特許文献】
【0003】
特開2020-42146号公報
【発明の概要】
【発明が解決しようとする課題】
【0004】
操作パネルの姿勢変更によって、電気ケーブルの位置が変動する。ユーザが手を触れる部位に電気ケーブルが近づくと静電気の影響を受けやすくなる。
【0005】
本発明は、操作パネルの姿勢変更に伴う電気ケーブルの露出を防止し、かつ、電気ケーブルの位置を制御することで静電気の影響を低減可能な電気機器を提供するものである。
【課題を解決するための手段】
【0006】
本発明によれば、
装置本体と、
前記装置本体に回動自在に支持され、前記装置本体の装着部と重なる第一の位置と、前記装着部から離間する第二の位置との間で姿勢を変更する操作パネルと、
前記操作パネルの背面から前記装着部に形成された開口部を通って前記装置本体内に延設された電気ケーブルと、
を備えた電気機器であって、
前記操作パネルの前記背面から前記開口部に挿入され、前記電気ケーブルの少なくとも一部を覆うように形成されたカバー部と、
前記装着部の前記開口部の内壁から前記カバー部内へ突出し、前記開口部を通る前記電気ケーブルの位置を規制する規制壁と、を備える、
ことを特徴とする電気機器が提供される。
【発明の効果】
【0007】
本発明によれば、操作パネルの姿勢変更に伴う電気ケーブルの露出を防止し、かつ、電気ケーブルの位置を制御することで静電気の影響を低減可能な電気機器を提供することができる。
【図面の簡単な説明】
【0008】
本発明の一実施形態に係る電気機器の外観図。
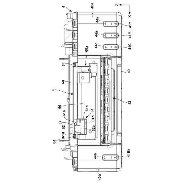
図1の電気機器の内部機構の説明図。
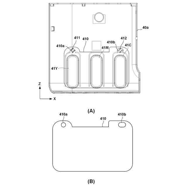
(A)は正面カバーの背面図、(B)は透過部材の説明図。
図2のD-D線に沿うタンク及びその周辺構造の断面図。
操作パネルの姿勢を変化させた態様を示す図1の電気機器の外観図。
操作パネルを取り外した状態の記録部の正面図。
操作パネル及び支持フレームの分解斜視図。
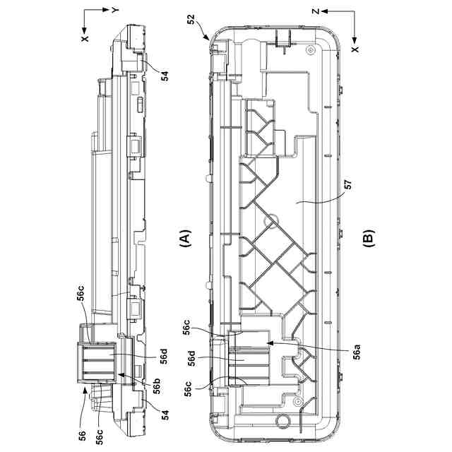
(A)は操作パネルのベース部材の平面図、(B)はベース部材の正面図。
(A)は支持フレームの平面図、(B)は支持フレームの正面図。
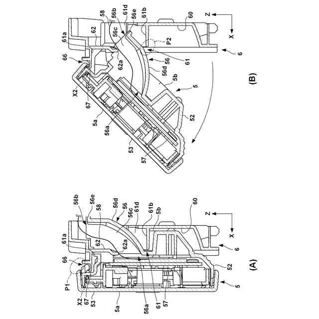
図1のA-A線に沿う操作パネル及び支持フレームの断面図。
図1のB-B線に沿う操作パネル及び支持フレームの断面図。
操作パネルの姿勢を変化態様を示す操作パネル及び支持フレームの断面図。
(A)は図1のC-C線に沿う操作パネル及び支持フレームの断面図、(B)は操作パネルの姿勢を変化態様を示す操作パネル及び支持フレームの断面図。
(A)及び(B)は原稿読取部と記録部との境界部分の断面図。
(A)は原稿読取部の正面カバーの正面図、(B)は正面カバーの底面図。
(A)及び(B)は別の実施形態に係る操作パネル及び支持フレームの断面図。
【発明を実施するための形態】
【0009】
以下、添付図面を参照して実施形態を詳しく説明する。尚、以下の実施形態は特許請求の範囲に係る発明を限定するものではない。実施形態には複数の特徴が記載されているが、これらの複数の特徴の全てが発明に必須のものとは限らず、また、複数の特徴は任意に組み合わせられてもよい。さらに、添付図面においては、同一若しくは同様の構成に同一の参照番号を付し、重複した説明は省略する。
【0010】
<第一実施形態>
<電気機器の全体構成>
図1は本発明の一実施形態に係る電気機器1を前側から見た外観図である。本実施形態の電気機器1は、液体としてインクを吐出して記録媒体に記録を行うインクジェット記録装置(複合機)であるが、本発明はインクジェット記録装置以外の各種の電気機器にも適用可能である。図中、矢印X及びYは互いに直交する水平方向を示し、矢印Zは上下方向(重力方向)を示している。X方向は電気機器1の幅方向(左右方向)である。Y方向は電気機器1の奥行方向(前後方向)である。
(【0011】以降は省略されています)
この特許をJ-PlatPat(特許庁公式サイト)で参照する
関連特許
キヤノン株式会社
容器
1か月前
キヤノン株式会社
容器
1か月前
キヤノン株式会社
トナー
1か月前
キヤノン株式会社
トナー
1か月前
キヤノン株式会社
電子機器
5日前
キヤノン株式会社
電子機器
28日前
キヤノン株式会社
表示装置
1か月前
キヤノン株式会社
発光装置
12日前
キヤノン株式会社
記録装置
6日前
キヤノン株式会社
現像装置
1か月前
キヤノン株式会社
撮像装置
1か月前
キヤノン株式会社
電子機器
1日前
キヤノン株式会社
測距装置
1か月前
キヤノン株式会社
定着装置
26日前
キヤノン株式会社
雲台装置
1か月前
キヤノン株式会社
撮像装置
20日前
キヤノン株式会社
撮像装置
1か月前
キヤノン株式会社
撮像装置
28日前
キヤノン株式会社
記録装置
26日前
キヤノン株式会社
表示装置
12日前
キヤノン株式会社
二次電池
7日前
キヤノン株式会社
表示装置
5日前
キヤノン株式会社
撮像装置
5日前
キヤノン株式会社
撮像装置
5日前
キヤノン株式会社
定着装置
20日前
キヤノン株式会社
定着装置
26日前
キヤノン株式会社
撮像装置
1か月前
キヤノン株式会社
撮像装置
1か月前
キヤノン株式会社
撮像装置
1か月前
キヤノン株式会社
記録装置
6日前
キヤノン株式会社
記録装置
1か月前
キヤノン株式会社
撮像装置
5日前
キヤノン株式会社
撮像装置
5日前
キヤノン株式会社
撮像装置
20日前
キヤノン株式会社
撮像装置
5日前
キヤノン株式会社
表示装置
12日前
続きを見る
他の特許を見る