TOP
|
特許
|
意匠
|
商標
特許ウォッチ
Twitter
他の特許を見る
公開番号
2025169751
公報種別
公開特許公報(A)
公開日
2025-11-14
出願番号
2024074801
出願日
2024-05-02
発明の名称
定着装置
出願人
キヤノン株式会社
代理人
弁理士法人近島国際特許事務所
主分類
G03G
15/20 20060101AFI20251107BHJP(写真;映画;光波以外の波を使用する類似技術;電子写真;ホログラフイ)
要約
【課題】効率良く、定着ベルトの表面の幅方向に関する温度差を小さくできる構成を提供する。
【解決手段】加熱ハロゲンヒータを構成するヒータA1、A2、A3は、定着ベルトを張架する加熱ローラを加熱する。ステイハロゲンヒータを構成するヒータBは、定着ベルトと加圧ローラとの間で記録材を挟持搬送するニップ部を形成する定着パッドを加熱する。記録材の搬送方向に交差する記録材の幅方向に関し、ヒータAが発熱する領域の長さを第1発熱幅L1、ヒータBが発熱する領域の長さを第2発熱幅L2とした場合に、第2発熱幅L2の方が第1発熱幅L1よりも長い。
【選択図】図3
特許請求の範囲
【請求項1】
記録材に担持されたトナー像を加熱して記録材に定着させる定着装置であって、
無端状のベルト部材と、
前記ベルト部材の外周面に接触して回転する回転体と、
前記ベルト部材の内側に前記回転体と前記ベルト部材を介して対向するように配置され、前記ベルト部材と前記回転体との間に記録材を挟持搬送するニップ部を形成するニップ部形成部材と、
前記ベルト部材の内周面に接触し、前記ベルト部材を張架する張架ローラと、
前記張架ローラを加熱する第1ヒータと、
前記ニップ部形成部材を加熱する第2ヒータと、を備え、
記録材の搬送方向に交差する記録材の幅方向に関し、前記第1ヒータが発熱する領域の長さを第1発熱幅、前記第2ヒータが発熱する領域の長さを第2発熱幅とした場合に、前記第2発熱幅の方が前記第1発熱幅よりも長いことを特徴とする定着装置。
続きを表示(約 800 文字)
【請求項2】
前記ニップ部形成部材の前記回転体と反対側に配置され、前記ニップ部形成部材を支持すると共に、内部に前記幅方向に沿った空間が形成された支持部材を備え、
前記第2ヒータは、前記支持部材の内部に配置されていることを特徴とする請求項1に記載の定着装置。
【請求項3】
前記第2発熱幅は、前記ニップ部形成部材の前記幅方向の長さよりも短いことを特徴とする請求項2に記載の定着装置。
【請求項4】
前記ニップ部形成部材は、樹脂製のパッド部材であり、
前記支持部材は、金属製のステイ部材であることを特徴とする請求項2に記載の定着装置。
【請求項5】
前記第1ヒータ及び前記第2ヒータは、それぞれフィラメントを有するハロゲンヒータであり、
前記第1発熱幅及び前記第2発熱幅は、それぞれ前記フィラメントの前記幅方向の長さであることを特徴とする請求項1に記載の定着装置。
【請求項6】
前記第1ヒータは、前記張架ローラの内部に配置されていることを特徴とする請求項1に記載の定着装置。
【請求項7】
前記張架ローラの内部には、前記第1ヒータを含む複数のヒータが配置されており、
前記複数のヒータは、前記幅方向に関してヒータが発熱する領域の長さである発熱幅が互いに異なり、
前記第1ヒータは、前記複数のヒータのうち、前記発熱幅が最も長いヒータであることを特徴とする請求項6に記載の定着装置。
【請求項8】
前記ベルト部材の内周面に接触し、回転軸線が前記張架ローラの回転軸線方向と平行な方向に対して傾動可能に配置され、傾動することで前記張架ローラの回転軸線方向に関する前記ベルト部材の位置を制御するステアリングローラを更に備えたことを特徴とする請求項1に記載の定着装置。
発明の詳細な説明
【技術分野】
【0001】
本発明は、記録材に担持されたトナー像を加熱して記録材に定着させる定着装置に関する。
続きを表示(約 1,500 文字)
【背景技術】
【0002】
複写機、プリンタ、ファクシミリ、これらの複数の機能を有する複合機などの画像形成装置は、記録材に担持されたトナー像を記録材に定着させる定着装置を有する。定着装置としては、無端状のベルト部材と、ベルト部材を加熱するヒータと、ベルト部材との間でニップ部を形成する回転体とを備え、ニップ部において記録材上のトナー像を加熱しながら搬送する構成が従来から知られている(特許文献1)。
【0003】
また、ベルト部材の表面の幅方向に関する温度差を小さくすべく、ベルト部材に接触することでベルト部材の表面の温度を拡散する熱拡散ローラを備えた構成が提案されている(特許文献2)。
【先行技術文献】
【特許文献】
【0004】
特開2007-79036号公報
特開2011-158662号公報
【発明の概要】
【発明が解決しようとする課題】
【0005】
特許文献2に記載のように、熱拡散ローラをベルト部材に接触させる構成の場合、熱拡散ローラを有する分、ベルト部材側の熱容量が増加してしまう。このため、熱容量が増加した分、ヒータの電力消費量が無駄になってしまい、非効率である。
【0006】
本発明は、効率良く、ベルト部材の表面の幅方向に関する温度差を小さくできる構成を提供することを目的とする。
【課題を解決するための手段】
【0007】
本発明の一態様は、記録材に担持されたトナー像を加熱して記録材に定着させる定着装置であって、無端状のベルト部材と、前記ベルト部材の外周面に接触して回転する回転体と、前記ベルト部材の内側に前記回転体と前記ベルト部材を介して対向するように配置され、前記ベルト部材と前記回転体との間に記録材を挟持搬送するニップ部を形成するニップ部形成部材と、前記ベルト部材の内周面に接触し、前記ベルト部材を張架する張架ローラと、前記張架ローラを加熱する第1ヒータと、前記ニップ部形成部材を加熱する第2ヒータと、を備え、記録材の搬送方向に交差する記録材の幅方向に関し、前記第1ヒータが発熱する領域の長さを第1発熱幅、前記第2ヒータが発熱する領域の長さを第2発熱幅とした場合に、前記第2発熱幅の方が前記第1発熱幅よりも長いことを特徴とする定着装置である。
【発明の効果】
【0008】
本発明によれば、効率良く、ベルト部材の表面の幅方向に関する温度差を小さくできる。
【図面の簡単な説明】
【0009】
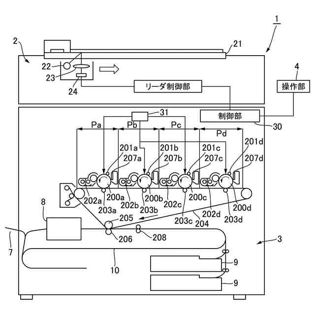
実施形態に係る画像形成装置の概略構成断面図。
実施形態に係る定着装置の概略構成断面図。
(a)実施形態に係る加熱ハロゲンヒータの発光特性を示す図、(b)実施形態に係るステイハロゲンヒータの発光特性を示す図。
(a)加熱ハロゲンヒータとステイハロゲンヒータの発熱幅が同じである場合の定着ベルトの温度分布を示す図、(b)加熱ハロゲンヒータよりもステイハロゲンヒータの発熱幅が長い場合の定着ベルトの温度分布を示す図。
ステイハロゲンヒータの発熱幅が定着パッドの幅方向の長さよりも長い場合の定着装置の断面構成の模式図。
実施形態に係る加熱ハロゲンヒータの発光特性の別例を示す図。
【発明を実施するための形態】
【0010】
実施形態について、図1ないし図6を用いて説明する。まず、本実施形態の画像形成装置の概略構成について、図1を用いて説明する。
(【0011】以降は省略されています)
この特許をJ-PlatPat(特許庁公式サイト)で参照する
関連特許
キヤノン株式会社
容器
15日前
キヤノン株式会社
容器
21日前
キヤノン株式会社
トナー
7日前
キヤノン株式会社
トナー
1か月前
キヤノン株式会社
トナー
24日前
キヤノン株式会社
トナー
1か月前
キヤノン株式会社
トナー
1か月前
キヤノン株式会社
測距装置
9日前
キヤノン株式会社
記録装置
21日前
キヤノン株式会社
電子機器
7日前
キヤノン株式会社
記録装置
今日
キヤノン株式会社
撮像装置
2日前
キヤノン株式会社
雲台装置
7日前
キヤノン株式会社
撮像装置
21日前
キヤノン株式会社
撮像装置
21日前
キヤノン株式会社
現像装置
28日前
キヤノン株式会社
撮像装置
21日前
キヤノン株式会社
定着装置
1か月前
キヤノン株式会社
記録装置
1か月前
キヤノン株式会社
定着装置
今日
キヤノン株式会社
記録装置
7日前
キヤノン株式会社
表示装置
15日前
キヤノン株式会社
定着装置
今日
キヤノン株式会社
現像装置
1か月前
キヤノン株式会社
電子機器
2日前
キヤノン株式会社
記録装置
7日前
キヤノン株式会社
現像容器
1か月前
キヤノン株式会社
現像装置
1か月前
キヤノン株式会社
撮像装置
8日前
キヤノン株式会社
撮像装置
15日前
キヤノン株式会社
電子機器
7日前
キヤノン株式会社
現像容器
1か月前
キヤノン株式会社
撮像装置
7日前
キヤノン株式会社
撮影装置
1か月前
キヤノン株式会社
測距装置
1か月前
キヤノン株式会社
定着装置
今日
続きを見る
他の特許を見る