TOP
|
特許
|
意匠
|
商標
特許ウォッチ
Twitter
他の特許を見る
10個以上の画像は省略されています。
公開番号
2025180739
公報種別
公開特許公報(A)
公開日
2025-12-11
出願番号
2024088275
出願日
2024-05-30
発明の名称
記録装置
出願人
キヤノン株式会社
代理人
弁理士法人大塚国際特許事務所
主分類
B41J
2/17 20060101AFI20251204BHJP(印刷;線画機;タイプライター;スタンプ)
要約
【課題】記録装置のユーザビリティの向上に有利な技術を提供する。
【解決手段】本発明に係る記録装置は、インクを吐出して記録する記録ヘッドを備える記録装置であって、前記記録ヘッドから排出された廃インクを出力する出力部と、前記装置本体に対して挿抜可能に構成された容器であって、前記装置本体に挿入された状態において前記出力部に接続され、該出力部から出力される廃インクを受け取る容器と、を備え、前記出力部は、廃インクを導出する流路部を含み、前記流路部は、前記装置本体に挿入される前記容器を位置決めするように該容器と係合する。
【選択図】図2
特許請求の範囲
【請求項1】
インクを吐出して記録する記録ヘッドを備える記録装置であって、
前記記録ヘッドから排出された廃インクを出力する出力部と、
前記装置本体に対して挿抜可能に構成された容器であって、前記装置本体に挿入された状態において前記出力部に接続され、該出力部から出力される廃インクを受け取る容器と、を備え、
前記出力部は、廃インクを導出する流路部を含み、
前記流路部は、前記装置本体に挿入される前記容器を位置決めするように該容器と係合する
ことを特徴とする記録装置。
続きを表示(約 830 文字)
【請求項2】
前記流路部は、前記容器の挿抜の際に該容器に面接触しないように構成されている
ことを特徴とする請求項1記載の記録装置。
【請求項3】
前記容器は、上面部に切欠きを有し、前記容器の挿抜の際には該切欠きにより前記流路部に対して摺動可能となっている
ことを特徴とする請求項2記載の記録装置。
【請求項4】
前記切欠きは、前記容器の挿抜方向に延びている
ことを特徴とする請求項3記載の記録装置。
【請求項5】
前記出力部は、前記流路部の下部において前記切欠きより幅広に延設された板状部を更に含む
ことを特徴とする請求項4記載の記録装置。
【請求項6】
前記流路部は2以上の流路部の1つであり、
前記2以上の流路部は、前記容器の挿抜方向に並配されている
ことを特徴とする請求項1記載の記録装置。
【請求項7】
前記2以上の流路部の其々は、前記装置本体に挿入される前記容器を位置決めするように該容器と係合する
ことを特徴とする請求項6記載の記録装置。
【請求項8】
前記2以上の流路部は、
顔料インクを廃インクとして導出する第1の流路部と、
染料インクを廃インクとして導出する第2の流路部と、
を含む
ことを特徴とする請求項6記載の記録装置。
【請求項9】
前記第1の流路部は、前記装置本体に対して前記第2の流路部より外方に位置する
ことを特徴とする請求項8記載の記録装置。
【請求項10】
前記容器が前記装置本体に挿入された状態では、前記容器の挿抜方向において、前記第1の流路部は、前記第2の流路部より前記容器に対し内方に位置する
ことを特徴とする請求項9記載の記録装置。
(【請求項11】以降は省略されています)
発明の詳細な説明
【技術分野】
【0001】
本発明は、主に記録装置に関する。
続きを表示(約 1,500 文字)
【背景技術】
【0002】
特許文献1には、記録装置の一例として、交換可能な廃液収容体(廃液収容容器)を備えるインクジェットプリンタが開示されている。特許文献1によれば、廃液収容体は、廃インク等の廃液を廃液収容体に導入するための廃液導入部により固定される。
【先行技術文献】
【特許文献】
【0003】
特開2012-196803号公報
【発明の概要】
【発明が解決しようとする課題】
【0004】
廃液収容体に廃液が基準以上に収容された場合には、廃液収容体はユーザにより交換される。よって、廃液収容体の交換作業が比較的簡便で、ユーザビリティの向上に有利な技術が求められる。
【0005】
本発明は、発明者による上記課題の認識を契機として為されたものであり、記録装置のユーザビリティの向上に有利な技術を提供することを例示的目的とする。
【課題を解決するための手段】
【0006】
本発明の一つの側面は記録装置にかかり、前記記録装置は、
インクを吐出して記録する記録ヘッドを備える記録装置であって、
前記記録ヘッドから排出された廃インクを出力する出力部と、
前記装置本体に対して挿抜可能に構成された容器であって、前記装置本体に挿入された状態において前記出力部に接続され、該出力部から出力される廃インクを受け取る容器と、を備え、
前記出力部は、廃インクを導出する流路部を含み、
前記流路部は、前記装置本体に挿入される前記容器を位置決めするように該容器と係合する
ことを特徴とする。
【発明の効果】
【0007】
本発明によれば、記録装置のユーザビリティの向上に有利である。
【図面の簡単な説明】
【0008】
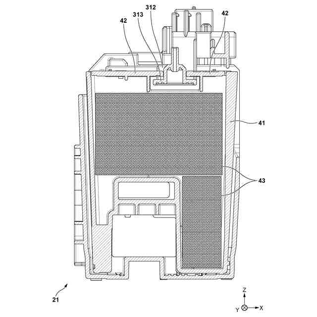
実施形態に係る記録装置の内部構造を示す斜視図。
記録装置の部分拡大図。
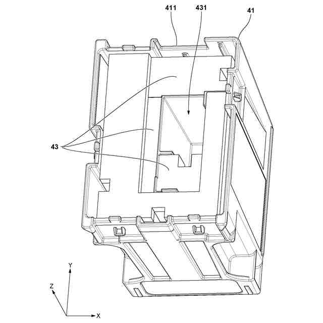
廃インク容器収容部の斜視図。
廃インク容器の斜視図。
廃インク容器収容部に収容された状態の廃インク容器の上面図。
廃インク容器収容部および廃インク容器の断面模式図。
廃インク容器収容部および廃インク容器の断面模式図。
廃インク容器収容部および廃インク容器の断面模式図。
容器蓋部が取り外された廃インク容器の斜視図。
他の実施形態に係る廃インク容器の斜視図。
他の実施形態に係る廃インク容器の斜視図。
他の実施形態に係る廃インク容器の斜視図。
他の実施形態に係る廃インク容器の斜視図。
【発明を実施するための形態】
【0009】
以下、添付図面を参照して実施形態を詳しく説明する。なお、以下の実施形態は特許請求の範囲に係る発明を限定するものでない。実施形態には複数の特徴が記載されているが、これらの複数の特徴の全てが発明に必須のものとは限らず、また、複数の特徴は任意に組み合わせられてもよい。さらに、添付図面においては、同一若しくは同様の構成に同一の参照番号を付し、重複した説明は省略する。
【0010】
≪第1実施形態≫
(装置構成について)
図1を参照しながら、第1実施形態に係る記録装置1の構成例を説明する。図中には(後述の他図についても同様であるが)、構造の理解の容易化のため、互いに交差(実質的に直交)するX方向、Y方向およびZ方向を示す。X方向は左右方向/幅方向に対応し、Y方向は前後方向/奥行方向に対応し、また、Z方向は上下方向/高さ方向に対応する。
(【0011】以降は省略されています)
この特許をJ-PlatPat(特許庁公式サイト)で参照する
関連特許
キヤノン株式会社
顕微鏡
今日
キヤノン株式会社
記録装置
7日前
キヤノン株式会社
撮像装置
15日前
キヤノン株式会社
表示装置
13日前
キヤノン株式会社
表示装置
13日前
キヤノン株式会社
撮像装置
13日前
キヤノン株式会社
電気機器
1日前
キヤノン株式会社
撮像装置
13日前
キヤノン株式会社
記録装置
1日前
キヤノン株式会社
記録装置
今日
キヤノン株式会社
表示装置
13日前
キヤノン株式会社
電子機器
2日前
キヤノン株式会社
記録装置
今日
キヤノン株式会社
記録装置
今日
キヤノン株式会社
定着装置
今日
キヤノン株式会社
記録装置
今日
キヤノン株式会社
記録装置
今日
キヤノン株式会社
撮像装置
今日
キヤノン株式会社
撮像装置
今日
キヤノン株式会社
撮像装置
今日
キヤノン株式会社
撮像装置
6日前
キヤノン株式会社
二次電池
8日前
キヤノン株式会社
記録装置
7日前
キヤノン株式会社
撮像装置
6日前
キヤノン株式会社
撮像装置
6日前
キヤノン株式会社
発光装置
13日前
キヤノン株式会社
電子機器
6日前
キヤノン株式会社
撮像装置
6日前
キヤノン株式会社
表示装置
6日前
キヤノン株式会社
定着装置
21日前
キヤノン株式会社
撮像装置
6日前
キヤノン株式会社
インク容器
7日前
キヤノン株式会社
インク容器
今日
キヤノン株式会社
画像形成装置
14日前
キヤノン株式会社
映像表示装置
7日前
キヤノン株式会社
画像形成装置
今日
続きを見る
他の特許を見る