TOP
|
特許
|
意匠
|
商標
特許ウォッチ
Twitter
他の特許を見る
10個以上の画像は省略されています。
公開番号
2025181231
公報種別
公開特許公報(A)
公開日
2025-12-11
出願番号
2024089083
出願日
2024-05-31
発明の名称
インク容器
出願人
キヤノン株式会社
代理人
弁理士法人谷・阿部特許事務所
主分類
B41J
2/175 20060101AFI20251204BHJP(印刷;線画機;タイプライター;スタンプ)
要約
【課題】インクパックを単素材へ分解しリサイクル性が向上する技術を提供する。すなわち、脱炭素/循環型社会などの持続可能な社会の実現に貢献し得る。
【解決手段】インクを収容する第1容器と、第1容器に接合され、第1容器内のインクをインク容器の外部へ供給するためのインク供給部と、を備え、第1容器とインク供給部とは、それぞれの接着領域における接着剤を介して接着される、ことを特徴とする、インクを収容するためのインク容器。
【選択図】図4
特許請求の範囲
【請求項1】
インクを収容するためのインク容器であって、
インクを収容する第1容器と、
前記第1容器に接合され、前記第1容器内のインクを前記インク容器の外部へ供給するためのインク供給部と、を備え、
前記第1容器と前記インク供給部とは、それぞれの接着領域における接着剤を介して接着される、ことを特徴とするインク容器。
続きを表示(約 690 文字)
【請求項2】
前記接着剤は、前記第1容器と前記インク供給部の接着領域から、前記第1容器の内側にはみ出している、請求項1に記載のインク容器。
【請求項3】
第2容器をさらに備え、前記第1容器は前記第2容器の内部に配置され、前記第1容器と前記第2容器との間の一部は接着剤で接着される、請求項1乃至2のいずれか1項に記載のインク容器。
【請求項4】
前記第1容器または前記第2容器はそれぞれ、単一材料のフィルムで形成されるパックの形態の第1パックおよび第2パックである、請求項3に記載のインク容器。
【請求項5】
前記第1パックの外側、前記第2パックの内側のいずれかにアルミニウムの蒸着層を備える、請求項4に記載のインク容器。
【請求項6】
前記第1パックは、前記インク供給部との間の接着領域から外側に延びる把持部を備える、請求項4に記載のインク容器。
【請求項7】
前記把持部は5~30mmの長さである、請求項6に記載のインク容器。
【請求項8】
前記インク供給部は、前記第1パックとの接着領域に凹凸部を備える、請求項4に記載のインク容器。
【請求項9】
前記凹凸部は、前記インクを収容する側から前記インクを供給する側への方向に沿って配置される、請求項8に記載のインク容器。
【請求項10】
前記凹凸部は、前記インクを収容する側から前記インクを供給する側への方向に直交して配置される、請求項8に記載のインク容器。
(【請求項11】以降は省略されています)
発明の詳細な説明
【技術分野】
【0001】
本発明はインク容器に関し、詳しくは、インク収容部のフィルムをインク供給部に接着することで構成されるインク容器に関する。
続きを表示(約 1,900 文字)
【背景技術】
【0002】
インク容器の一態様として、インクパックが知られている。例えば、特許文献1が開示するインクパックは、インクを収容する内側パックと、内側パックに溶着されたインク供給部と、内側パックを収容可能な外側パックと、を備える。このようなインクパックは、使用後にインク供給部、内側パック、および外側パックを分離することによって、再利用することができる。これは、脱炭素/循環型社会などの持続可能な社会実現の要請などから再生プラスチック材を再利用(リサイクル)する上で好ましいことである。
【先行技術文献】
【特許文献】
【0003】
特開2022-20182公報
【発明の概要】
【発明が解決しようとする課題】
【0004】
しかしながら、上述のインクパックは、内側パックをインク供給部に溶着することで構成されるため、溶着部においてインク供給部材料と内側パック材料が相溶している。このため、インク供給部と内側パックの境界が明確でなくなり、分離の際に境界(界面)で相互に分離することが困難になり、また、分離の際に接着部でインク供給部材料とパック材料とが交じった状態で分離し易いことがある。その結果、インクパックのリサイクル性が低下するという問題がある。
本発明は、リサイクル性の高い、インク供給部とインク容器構成材料との分離を可能とするインク容器を提供することを目的とする。
【課題を解決するための手段】
【0005】
インクを収容するためのインク容器は、インクを収容する第1容器と、第1容器に接合され、第1容器内のインクをインク容器の外部へ供給するためのインク供給部と、を備え、第1容器とインク供給部とは、それぞれの接着領域における接着剤を介して接着される、ことを特徴とする。
【発明の効果】
【0006】
本発明によれば、インク容器において、リサイクル性の高い、インク供給部とインク容器構成材料との分離が可能となる。
【図面の簡単な説明】
【0007】
図1は、第1の実施形態におけるインク吐出装置の斜視図である。
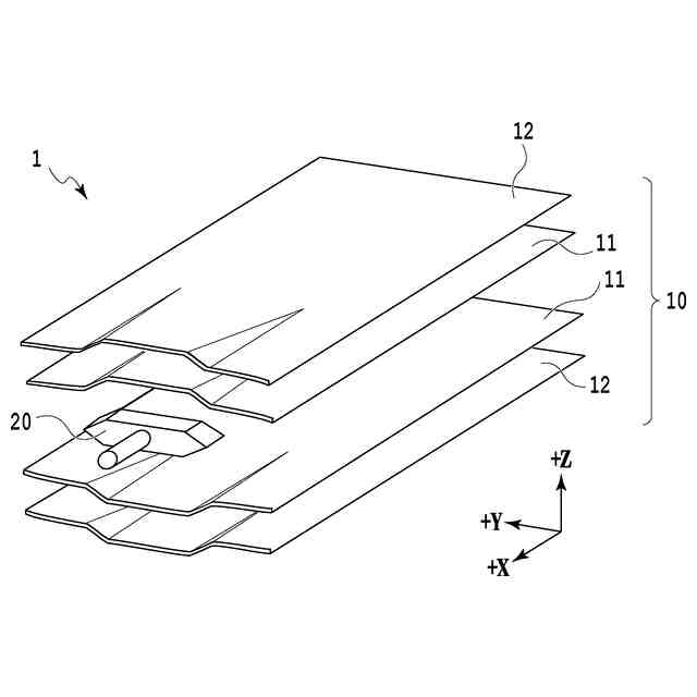
図2は、第1の実施形態におけるインクパックの概要斜視図である。
図3は、第1の実施形態におけるインクパックの分解斜視図である。
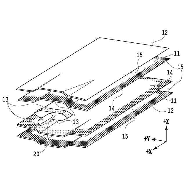
図4は、第1の実施形態におけるインクパックの接着領域図である。
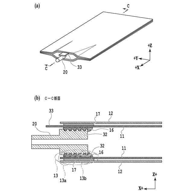
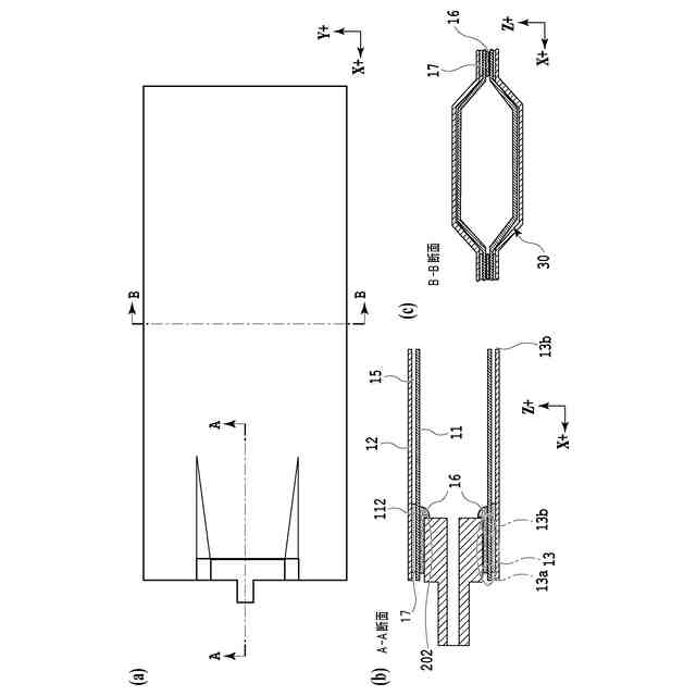
図5(a)~(c)は、第1の実施形態におけるインクパックの上面図、接着領域断面図、および断面図である。
図6は、第2実施形態におけるインクパックの斜視図である。
図7(a)および(b)は、第3の実施形態におけるインクパックの斜視図および接着領域断面図である。
図8(a)~(c)は、第3の実施形態におけるインクパックの詳細図である。
図9(a)~(c)は、第4の実施形態におけるインクパックの接着領域断面図、上面断面図、および詳細図である。
図10(a)~(b)は、第4の実施形態におけるインクパックの詳細図である。
【発明を実施するための形態】
【0008】
(第1の実施形態)
以下、本開示の技術を実施するための形態について図面を用いて説明する。尚、以下の実施の形態は特許請求の範囲に係る発明を限定するものでなく、また、実施の形態で説明されている特徴の組み合わせの全てが発明の解決手段に必須のものとは限らない。
【0009】
図1は、本実施形態に係るインクジェット記録装置100の概略斜視図である。図1に示すように、インクジェット記録装置100は、インク吐出ヘッド101と、記録用シート102と、キャリッジ103と、搬送ローラ104と、インク供給ユニット105と、インク供給チューブ106と、回復ユニット107とを備える。
【0010】
インクジェット記録装置100は、インク吐出ヘッド101の往復移動(主走査)と、記録媒体である記録用シート102の所定量ごとの搬送(副走査)とを繰り返す。これらの動きと同期させながらインク吐出ヘッド101から選択的に複数色のインクを吐出させ、記録媒体である記録用シート102に着弾させることで、文字、記号、画像等が記録される。インクジェット記録装置100の例として、例えば、インクジェットプリンタが挙げられる。記録媒体は、例えば、紙、布、光ディスクラベル面、プラスチックシート、OHPシートおよび封筒等の種々の材質および形態であることができる。
(【0011】以降は省略されています)
この特許をJ-PlatPat(特許庁公式サイト)で参照する
関連特許
キヤノン株式会社
トナー
1か月前
キヤノン株式会社
顕微鏡
今日
キヤノン株式会社
撮像装置
21日前
キヤノン株式会社
表示装置
13日前
キヤノン株式会社
表示装置
13日前
キヤノン株式会社
表示装置
13日前
キヤノン株式会社
定着装置
27日前
キヤノン株式会社
撮像装置
13日前
キヤノン株式会社
記録装置
今日
キヤノン株式会社
記録装置
1日前
キヤノン株式会社
記録装置
今日
キヤノン株式会社
撮像装置
13日前
キヤノン株式会社
記録装置
27日前
キヤノン株式会社
撮像装置
15日前
キヤノン株式会社
発光装置
13日前
キヤノン株式会社
定着装置
27日前
キヤノン株式会社
定着装置
21日前
キヤノン株式会社
撮像装置
今日
キヤノン株式会社
撮像装置
今日
キヤノン株式会社
記録装置
今日
キヤノン株式会社
定着装置
27日前
キヤノン株式会社
記録装置
今日
キヤノン株式会社
定着装置
今日
キヤノン株式会社
撮像装置
21日前
キヤノン株式会社
定着装置
21日前
キヤノン株式会社
電気機器
1日前
キヤノン株式会社
記録装置
今日
キヤノン株式会社
表示装置
6日前
キヤノン株式会社
記録装置
7日前
キヤノン株式会社
撮像装置
6日前
キヤノン株式会社
撮像装置
6日前
キヤノン株式会社
撮像装置
6日前
キヤノン株式会社
雲台装置
1か月前
キヤノン株式会社
撮像装置
6日前
キヤノン株式会社
撮像装置
1か月前
キヤノン株式会社
記録装置
7日前
続きを見る
他の特許を見る