TOP
|
特許
|
意匠
|
商標
特許ウォッチ
Twitter
他の特許を見る
10個以上の画像は省略されています。
公開番号
2025180700
公報種別
公開特許公報(A)
公開日
2025-12-11
出願番号
2024088210
出願日
2024-05-30
発明の名称
定着装置
出願人
キヤノン株式会社
代理人
個人
,
個人
,
個人
主分類
G03G
15/20 20060101AFI20251204BHJP(写真;映画;光波以外の波を使用する類似技術;電子写真;ホログラフイ)
要約
【課題】定着ベルトを長期に使用する場合において、定着ベルト内周面にある潤滑剤のシリコーンオイルを含むグリースが定着ベルト端部から漏れ出すことで生じる出力画像内の画像光沢度差の発生を抑制する定着装置を提供する。
【解決手段】定着ベルトと、シリコーンオイルを含むグリースを介して該定着ベルトの内周面と接する摺動部材と、該定着ベルトを挟んで該摺動部材と対向し、加圧する加圧部材とを具備する定着装置であって、定着ベルトの表面において、加圧部材と接しない領域の定着ベルト表面の表面粗さを粗くし、さらに加圧部材と接する領域の定着ベルト表面の表面粗さを、加圧部材と接しない領域の定着ベルト表面の表面粗さを粗くした領域の表面粗さより、小さくすることを特徴とする定着装置。
【選択図】図2
特許請求の範囲
【請求項1】
電子写真画像形成装置に用いられる定着装置であって、
該定着装置は、
(i)定着ベルトと、
(ii)該定着ベルトの内周面側に配置され、シリコーンオイルを含むグリースを介して該定着ベルトの内周面と接する摺動面を有する摺動部材と、
(iii)該定着ベルトを挟んで該摺動部材と対向し、該定着ベルトを該摺動部材側に加圧する加圧部材と、
を具備し、
該定着ベルトは基層と表面層とを有し、
周方向に直交する長手方向における該定着ベルト及び該加圧部材の長さに関して、
(a)該定着ベルトの両端部には、該加圧部材と当接しない領域が存在し、
(b)該定着ベルトは、該定着ベルトの端部から該加圧部材と当接するまでの、該加圧部材と当接していない領域を領域Aとし、該加圧部材と当接している領域を領域Bとしたとき、
(b-1)該定着ベルトの両端部の該領域Aのそれぞれには、外表面の長手方向の算術平均粗さRaCが0.06μm以上0.50μm以下である外表面を有する領域Cが1.25mm以上の幅で存在し、
(b-2)該領域Bの外表面の長手方向の算術平均粗さをRaBとしたとき、該RaBと該RaCとが下記式(1)を満たすことを特徴とする定着装置。
RaC>RaB (1)
続きを表示(約 210 文字)
【請求項2】
前記RaBが、0.05μm以下である、請求項1に記載の定着装置。
【請求項3】
前記RaCが、0.06μm以上0.35μm以下である、請求項1に記載の定着装置。
【請求項4】
前記RaCが、0.06μm以上0.20μm以下である、請求項1に記載の定着装置。
【請求項5】
前記摺動部材が、加熱部材である、請求項1~4のいずれか1項に記載の定着装置。
発明の詳細な説明
【技術分野】
【0001】
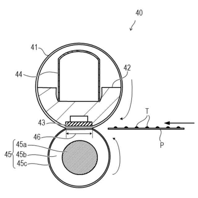
本開示は、電子写真画像形成装置の定着装置に関する。
続きを表示(約 2,100 文字)
【背景技術】
【0002】
プリンタ、コピー機、ファクシミリ等の電子写真画像形成装置の定着装置に用いられる定着部材等の電子写真部材として、フィルム形状やローラ形状のものがある。定着部材は、例えば、耐熱樹脂製又は金属製のフィルム形状又はローラ形状の基材上に、必要に応じて、耐熱ゴム等からなる弾性層や表面層が形成されたものが知られている。例えば、表面層には離型性を有するフッ素樹脂等が用いられる。
【0003】
弾性層は、定着装置において定着ニップを確保するため、また定着部材の表面が紙の凹凸に追従し得るために定着部材に柔軟性を付与する層として機能する。また、表面層は、トナーに対して優れた離型性を有するフッ素樹脂としてテトラフルオロエチレン-パーフルオロアルキルビニルエーテル共重合体(PFA)が好ましく用いられる。
【0004】
ところで、近年では省エネルギー推進の観点から、熱伝達効率が高く、装置の立ち上がりが速いオンデマンド方式として、熱容量の小さい定着ベルトを介して加熱するフィルム加熱方式の定着装置、すなわちフィルム定着装置が提案されている。
【0005】
例えば、特許文献1及び2において、フィルム定着装置は、固定支持された摺動部材及び加熱部材としての例えばセラミックヒータ(以下、「ヒータ」とも記す。)を有する。更に、フィルム定着装置は、該ヒータと摺動する伝熱部材としての例えば耐熱性樹脂フィルム(以下、「定着ベルト」と記す。)と、該定着ベルトを介して前記ヒータに圧接してトナー像定着領域としての定着ニップ部を形成する加圧部材としての弾性加圧ローラを有する。これらの部材を有するフィルム定着装置は、定着ニップ部の定着ベルトと加圧ローラとの間で未定着トナー像を担持した記録材を挟持搬送させて定着ベルトを介したヒータからの熱により未定着トナー像を記録材上に加熱溶融定着させるものである。
【0006】
このような摺動部材を定着ベルト内面に有する定着装置の場合、定着ベルトの内面とベルト内面と摺擦する部材との摺動性を確保するために、定着ベルトの内面に潤滑剤としてグリースが塗布されている。潤滑剤としてシリコーンオイルを含むシリコーングリースを用いた際に、長期使用時にグリースが定着ベルト端部から漏れ出し、そのグリースが定着ベルト表面の画像形成領域に付着することによって、出力画像内でグリース未付着部とグリース付着部と間で画像光沢度に差が生じるという問題が発生する。
【0007】
特許文献3では、定着ベルト端部から潤滑剤が漏れ出す問題に対して、ヒータ保持部材の外周面や定着ベルトの内周面に溝を設けることで漏れ出しを抑制している。
【先行技術文献】
【特許文献】
【0008】
特開昭63-313182号公報
特開平2-157878号公報
特開2020-197701号公報
【発明の概要】
【発明が解決しようとする課題】
【0009】
特許文献3に記載されているようなヒータ保持部材の外周面や定着ベルト内面に溝を設けた場合は、長期に使用される場合においては溝部でシリコーンオイルを含むシリコーングリースをせき止めきれずに定着ベルト端部から漏れ出してしまうことがある。定着ベルトの端部から漏れ出ると、定着ベルト表面上でシリコーンオイルを含むシリコーングリースの移動を止めるものがないため、定着ベルト表面の画像形成部まで移動してしまい、対策が不十分だといえる。特に、シリコーンオイルを含むシリコーングリースの影響が出やすい出力画像の画像端部と、シリコーンオイルを含むシリコーングリースの影響が出にくい出力画像中央部との画像光沢度差が生じやすい。
【課題を解決するための手段】
【0010】
本開示の一態様に係る定着装置は、(i)定着ベルトと、(ii)該定着ベルトの内周面側に配置され、シリコーンオイルを含むグリースを介して該定着ベルトの内周面と接する摺動面を有する摺動部材と、(iii)該定着ベルトを挟んで該摺動部材と対向し、該定着ベルトを該摺動部材側に加圧する加圧部材と、を具備し、該定着ベルトは基層と表面層とを有し、周方向に直交する長手方向における該定着ベルト及び該加圧部材の長さに関して、(a)該定着ベルトの両端部には、該加圧部材と当接しない領域が存在し、(b)該定着ベルトは、該定着ベルトの端部から該加圧部材と当接するまでの、該加圧部材と当接していない領域を領域Aとし、該加圧部材と当接している領域を領域Bとしたとき、(b-1)該定着ベルトの両端部の該領域Aのそれぞれには、外表面の長手方向の算術平均粗さRaCが0.06μm以上0.50μm以下である外表面を有する領域Cが1.25mm以上の幅で存在し、(b-2)該領域Bの外表面の長手方向の算術平均粗さをRaBとしたとき、該RaBと該RaCとが、下記式(1)を満たすことを特徴とする。
RaC>RaB (1)
【発明の効果】
(【0011】以降は省略されています)
この特許をJ-PlatPat(特許庁公式サイト)で参照する
関連特許
キヤノン株式会社
顕微鏡
今日
キヤノン株式会社
トナー
1か月前
キヤノン株式会社
電子機器
2日前
キヤノン株式会社
記録装置
今日
キヤノン株式会社
二次電池
8日前
キヤノン株式会社
記録装置
今日
キヤノン株式会社
撮像装置
1か月前
キヤノン株式会社
発光装置
13日前
キヤノン株式会社
電気機器
1日前
キヤノン株式会社
定着装置
27日前
キヤノン株式会社
記録装置
1か月前
キヤノン株式会社
撮像装置
今日
キヤノン株式会社
撮像装置
今日
キヤノン株式会社
記録装置
1日前
キヤノン株式会社
表示装置
13日前
キヤノン株式会社
表示装置
13日前
キヤノン株式会社
撮像装置
13日前
キヤノン株式会社
撮像装置
1か月前
キヤノン株式会社
定着装置
27日前
キヤノン株式会社
撮像装置
13日前
キヤノン株式会社
表示装置
13日前
キヤノン株式会社
定着装置
21日前
キヤノン株式会社
撮像装置
21日前
キヤノン株式会社
撮像装置
21日前
キヤノン株式会社
記録装置
1か月前
キヤノン株式会社
記録装置
今日
キヤノン株式会社
撮像装置
15日前
キヤノン株式会社
記録装置
今日
キヤノン株式会社
定着装置
今日
キヤノン株式会社
電子機器
1か月前
キヤノン株式会社
記録装置
今日
キヤノン株式会社
定着装置
21日前
キヤノン株式会社
表示装置
6日前
キヤノン株式会社
撮像装置
6日前
キヤノン株式会社
電子機器
29日前
キヤノン株式会社
撮像装置
29日前
続きを見る
他の特許を見る