TOP
|
特許
|
意匠
|
商標
特許ウォッチ
Twitter
他の特許を見る
10個以上の画像は省略されています。
公開番号
2025177889
公報種別
公開特許公報(A)
公開日
2025-12-05
出願番号
2024085037
出願日
2024-05-24
発明の名称
測距装置及び測距方法
出願人
キヤノン株式会社
代理人
個人
,
個人
,
個人
主分類
G01C
3/06 20060101AFI20251128BHJP(測定;試験)
要約
【課題】被写体が動いている場合にも精度の高い距離情報を取得しうる測距装置及び測距方法を提供する。
【解決手段】測距装置は、視差のある第1及び第2画像と第1露光時間で撮像し、視差のある第3及び第4画像を第1露光時間よりも長い第2露光時間で撮像する撮像部と、第1画像と第2画像との間の視差に基づく距離情報を表す第1距離画像と、第3画像と第4画像との間の視差に基づく距離情報を表す第2距離画像と、を生成する距離画像生成部と、第1距離画像及び第2距離画像を複数の領域に分割し、複数の領域の各々に対応する距離情報に基づいて、複数の領域の各々において第1距離画像及び第2距離画像のうちの一方を選択することにより、第1距離画像と第2距離画像とを合成した合成距離画像を生成する距離画像合成部と、を有する。
【選択図】図1
特許請求の範囲
【請求項1】
視差のある第1画像と第2画像とを第1露光時間で撮像し、視差のある第3画像と第4画像とを前記第1露光時間よりも長い第2露光時間で撮像する撮像部と、
前記第1画像と前記第2画像との間の前記視差に基づく距離情報を表す第1距離画像と、前記第3画像と前記第4画像との間の前記視差に基づく距離情報を表す第2距離画像と、を生成する距離画像生成部と、
前記第1距離画像及び前記第2距離画像を複数の領域に分割し、前記複数の領域の各々に対応する前記距離情報に基づいて、前記複数の領域の各々において前記第1距離画像及び前記第2距離画像のうちの一方を選択することにより、前記第1距離画像と前記第2距離画像とを合成した合成距離画像を生成する距離画像合成部と
を有することを特徴とする測距装置。
続きを表示(約 1,100 文字)
【請求項2】
前記距離画像合成部は、前記第1距離画像の前記領域に対応する前記距離情報が被写体までの距離値を有している場合は、前記合成距離画像の前記領域の距離情報として前記第1距離画像の前記距離情報を選択する
ことを特徴とする請求項1記載の測距装置。
【請求項3】
前記距離画像合成部は、前記第1距離画像が前記領域に対応する距離値を有していない場合は、前記合成距離画像の前記領域の距離情報として前記第2距離画像の前記距離情報を選択する
ことを特徴とする請求項1記載の測距装置。
【請求項4】
前記距離画像合成部は、前記第1距離画像及び前記第2距離画像が前記領域に対応する距離値を有していない場合は、前記合成距離画像の前記領域の距離情報として距離値がないことを表す情報を選択する
ことを特徴とする請求項1記載の測距装置。
【請求項5】
前記距離画像合成部は、前記第1距離画像の前記距離情報が所定の閾値未満の距離値である前記領域に対して前記第1距離画像の前記距離情報を選択し、前記第1距離画像の前記距離情報が前記所定の閾値以上の距離値である前記領域に対して前記第2距離画像の前記距離情報を選択する
ことを特徴とする請求項1記載の測距装置。
【請求項6】
前記距離画像合成部は、前記第1距離画像の前記距離情報が前記所定の閾値以上の距離値である前記領域において、前記第2距離画像の前記距離情報として距離値を有していない場合は、前記領域の前記距離情報として前記第1距離画像の前記距離情報を選択する
ことを特徴とする請求項5記載の測距装置。
【請求項7】
前記第1画像、前記第2画像、前記第3画像及び前記第4画像に対して所定の補正を行う画像補正部を更に有する
ことを特徴とする請求項1乃至6のいずれか1項に記載の測距装置。
【請求項8】
前記第1画像と前記第2画像とを撮像する際の前記第1露光時間の露光期間と、前記第3画像と前記第4画像とを撮像する際の前記第2露光時間の露光期間とは、少なくとも一部が重なっている
ことを特徴とする請求項1乃至6のいずれか1項に記載の測距装置。
【請求項9】
前記撮像部は、所定の間隔を空けて配置された複数の撮像素子を有する
ことを特徴とする請求項1乃至6のいずれか1項に記載の測距装置。
【請求項10】
前記撮像部は、瞳分割画素を含む撮像素子を有する
ことを特徴とする請求項1乃至6のいずれか1項に記載の測距装置。
(【請求項11】以降は省略されています)
発明の詳細な説明
【技術分野】
【0001】
本発明は、測距装置及び測距方法に関する。
続きを表示(約 2,200 文字)
【背景技術】
【0002】
デジタルカメラを用いて被写体までの距離を検出する技術が知られている。例えば、2つのデジタルカメラを所定の間隔で配置し、これら2つのデジタルカメラで同時刻に取得された画像を比較することにより、被写体までの距離を検出する方法がある。このように取得された2つの画像に写る被写体には、被写体までの距離に応じた位置ずれ(視差)が生じるため、この視差を計測することで被写体までの距離を算出することができる。
【0003】
特許文献1には、露光時間の異なる画像を取得する2つのカメラを各々が有する2つの撮像装置を所定の間隔で配置し、露光時間の短い画像と長い画像から飽和や黒潰れのある領域を補完しつつ広ダイナミックレンジの距離画像を取得することが提案されている。
【先行技術文献】
【特許文献】
【0004】
特開2021-156579号公報
【発明の概要】
【発明が解決しようとする課題】
【0005】
一般的に、動いている被写体を撮像する場合、露光時間が長くなるほど、また、被写体までの距離が近いほど、取得した画像データ上において被写体ブレが起きやすくなる。しかしながら、特許文献1に記載の技術では、動いている被写体について特段の考慮がなされておらず、被写体ブレに起因して視差の算出に誤差が生じ、ひいては被写体の測距精度が低下することがあった。
【0006】
本発明の目的は、被写体が動いている場合にも精度の高い距離情報を取得しうる測距装置及び測距方法を提供することにある。
【課題を解決するための手段】
【0007】
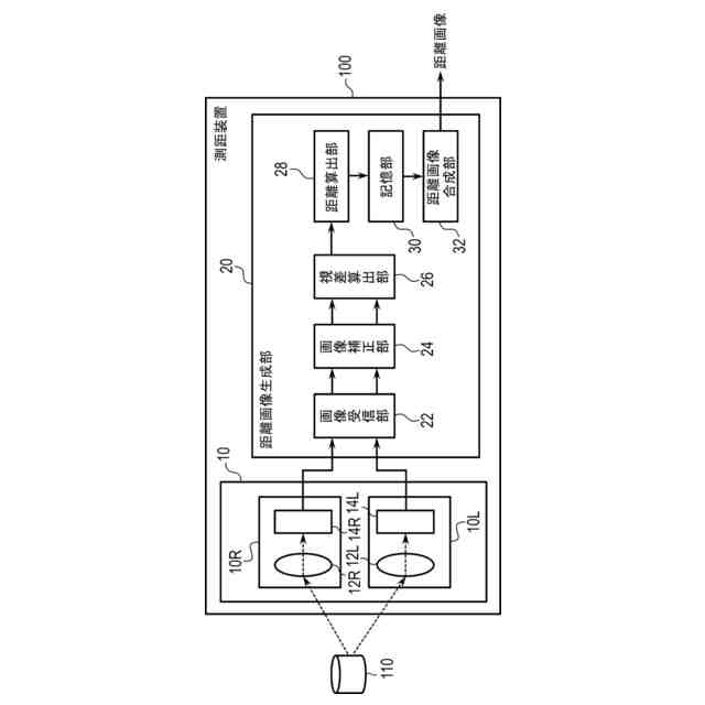
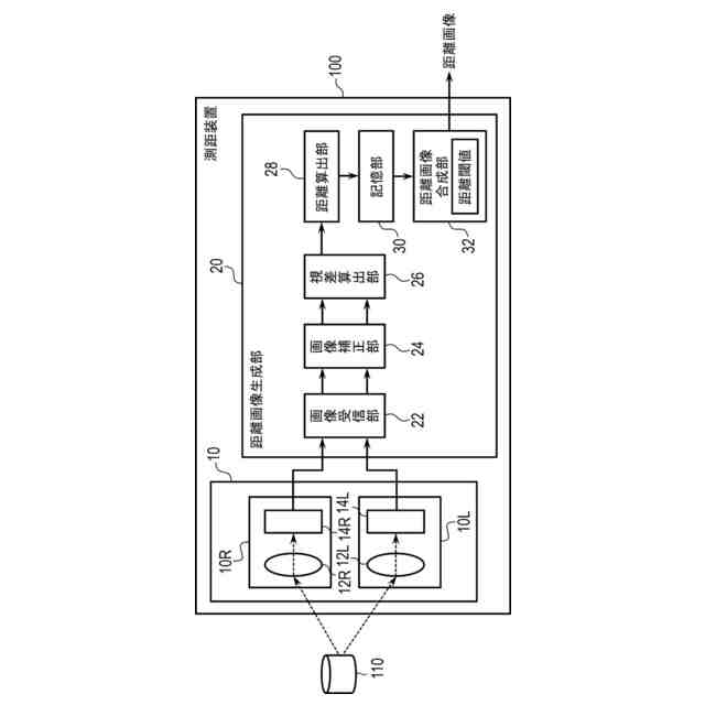
本明細書の一開示によれば、視差のある第1画像と第2画像とを第1露光時間で撮像し、視差のある第3画像と第4画像とを前記第1露光時間よりも長い第2露光時間で撮像する撮像部と、前記第1画像と前記第2画像との間の前記視差に基づく距離情報を表す第1距離画像と、前記第3画像と前記第4画像との間の前記視差に基づく距離情報を表す第2距離画像と、を生成する距離画像生成部と、前記第1距離画像及び前記第2距離画像を複数の領域に分割し、前記複数の領域の各々に対応する前記距離情報に基づいて、前記複数の領域の各々において前記第1距離画像及び前記第2距離画像のうちの一方を選択することにより、前記第1距離画像と前記第2距離画像とを合成した合成距離画像を生成する距離画像合成部とを有する測距装置が提供される。
【0008】
また、本明細書の他の一開示によれば、第1露光時間で撮像された視差のある第1画像及び第2画像と、前記第1露光時間よりも長い第2露光時間で撮像された視差のある第3画像及び第4画像と、が入力される画像受信部と、前記第1画像と前記第2画像との間の前記視差に基づく距離情報を表す第1距離画像と、前記第3画像と前記第4画像との間の前記視差に基づく距離情報を表す第2距離画像と、を生成する距離画像生成部と、前記第1距離画像及び前記第2距離画像を複数の領域に分割し、前記複数の領域の各々に対応する前記距離情報に基づいて、前記複数の領域の各々において前記第1距離画像及び前記第2距離画像のうちの一方を選択することにより、前記第1距離画像と前記第2距離画像とを合成した合成距離画像を生成する距離画像合成部とを有する情報処理装置が提供される。
【0009】
また、本明細書の更に他の一開示によれば、コンピュータを、第1露光時間で撮像された視差のある第1画像及び第2画像と、前記第1露光時間よりも長い第2露光時間で撮像された視差のある第3画像及び第4画像と、を受信する手段、前記第1画像と前記第2画像との間の前記視差に基づく距離情報を表す第1距離画像と、前記第3画像と前記第4画像との間の前記視差に基づく距離情報を表す第2距離画像と、を生成する手段、及び前記第1距離画像及び前記第2距離画像を複数の領域に分割し、前記複数の領域の各々に対応する前記距離情報に基づいて、前記複数の領域の各々において前記第1距離画像及び前記第2距離画像のうちの一方を選択することにより、前記第1距離画像と前記第2距離画像とを合成した合成距離画像を生成する手段として機能させるプログラムが提供される。
【0010】
また、本明細書の更に他の一開示によれば、第1露光時間で撮像された視差のある第1画像及び第2画像と、前記第1露光時間よりも長い第2露光時間で撮像された視差のある第3画像及び第4画像と、を取得し、前記第1画像と前記第2画像との間の前記視差に基づく距離情報を表す第1距離画像と、前記第3画像と前記第4画像との間の前記視差に基づく距離情報を表す第2距離画像と、を生成し、前記第1距離画像及び前記第2距離画像を複数の領域に分割し、前記複数の領域の各々に対応する前記距離情報に基づいて、前記複数の領域の各々において前記第1距離画像及び前記第2距離画像のうちの一方を選択することにより、前記第1距離画像と前記第2距離画像とを合成した合成距離画像を生成する測距方法が提供される。
【発明の効果】
(【0011】以降は省略されています)
この特許をJ-PlatPat(特許庁公式サイト)で参照する
関連特許
キヤノン株式会社
トナー
28日前
キヤノン株式会社
撮像装置
23日前
キヤノン株式会社
定着装置
21日前
キヤノン株式会社
撮像装置
今日
キヤノン株式会社
撮像装置
15日前
キヤノン株式会社
撮像装置
15日前
キヤノン株式会社
撮像装置
9日前
キヤノン株式会社
定着装置
15日前
キヤノン株式会社
撮像装置
29日前
キヤノン株式会社
撮像装置
今日
キヤノン株式会社
撮像装置
今日
キヤノン株式会社
記録装置
1日前
キヤノン株式会社
記録装置
1日前
キヤノン株式会社
定着装置
21日前
キヤノン株式会社
記録装置
28日前
キヤノン株式会社
電子機器
28日前
キヤノン株式会社
記録装置
28日前
キヤノン株式会社
表示装置
今日
キヤノン株式会社
電子機器
28日前
キヤノン株式会社
記録装置
21日前
キヤノン株式会社
二次電池
2日前
キヤノン株式会社
表示装置
7日前
キヤノン株式会社
撮像装置
7日前
キヤノン株式会社
定着装置
21日前
キヤノン株式会社
雲台装置
28日前
キヤノン株式会社
撮像装置
28日前
キヤノン株式会社
撮像装置
7日前
キヤノン株式会社
表示装置
7日前
キヤノン株式会社
電子機器
23日前
キヤノン株式会社
表示装置
7日前
キヤノン株式会社
発光装置
7日前
キヤノン株式会社
撮像装置
今日
キヤノン株式会社
撮像装置
今日
キヤノン株式会社
撮像装置
1か月前
キヤノン株式会社
電子機器
今日
キヤノン株式会社
測距装置
1か月前
続きを見る
他の特許を見る