TOP
|
特許
|
意匠
|
商標
特許ウォッチ
Twitter
他の特許を見る
公開番号
2025175590
公報種別
公開特許公報(A)
公開日
2025-12-03
出願番号
2024081771
出願日
2024-05-20
発明の名称
画像記録装置
出願人
キヤノン株式会社
代理人
弁理士法人谷・阿部特許事務所
主分類
B41J
29/46 20060101AFI20251126BHJP(印刷;線画機;タイプライター;スタンプ)
要約
【課題】基材交換中に基材不一致エラーが発生せず、基材の印刷開始時に不一致エラー通知し、基材交換を容易にする画像記録装置を提供する。
【解決手段】基材に画像を記録する画像記録装置は、装着された基材を供給する供給ユニットと、供給ユニットによって供給された基材に記録を行う記録部と、供給ユニットから供給された基材の基材種類を判別する判別部と、記録に用いる基材の基材種類を設定する設定部と、判別部で判別された基材種類と設定部によって設定された基材種類が一致するか否かを判断する判断部と、判断部によって基材種類が一致しないと判断された場合に、エラーを報知する報知部と、を備え、報知部は、供給ユニットによる基材の供給準備が完了するまでエラーを報知しない。
【選択図】図6
特許請求の範囲
【請求項1】
基材に画像を記録する画像記録装置であって、
装着された基材を供給する供給ユニットと、
前記供給ユニットによって供給された基材に記録を行う記録部と、
前記供給ユニットから供給された基材の基材種類を判別する判別部と、
記録に用いる基材の基材種類を設定する設定手段と、
前記判別部で判別された基材種類と前記設定手段によって設定された基材種類が一致するか否かを判断する判断手段と、
前記判断手段によって基材種類が一致しないと判断された場合に、エラーを報知する報知手段と、
を備え、
前記報知手段は、前記供給ユニットによる基材の供給準備が完了するまで前記エラーを報知しないことを特徴とする画像記録装置。
続きを表示(約 1,100 文字)
【請求項2】
前記記録部と前記供給ユニットとの間に設けられ、基材と基材を接続するスプライス部を検知する検知ユニットを備え、
前記スプライス部が、前記記録部の下流に搬送された後に、前記エラーを報知することを特徴とする請求項1に記載の画像記録装置。
【請求項3】
前記判断手段による基材種類が一致するか否かの判断は、供給準備が完了した後に行うことを特徴とする請求項1に記載の画像記録装置。
【請求項4】
前記記録部と前記供給ユニットとの間に設けられ、基材の情報を取得する情報取得手段を備え、
前記判別部は、前記情報取得手段から取得した情報に基づいて基材種類を判別することを特徴とする請求項1に記載の画像記録装置。
【請求項5】
記録に用いる基材が交換されたことを判断する交換判断手段をさらに備え、前記判断手段は、前記交換判断手段が、基材が交換されたことを判断すると、前記判別部で判別された基材種類と前記設定手段によって設定された基材種類が一致するか否かを判断することを特徴とする請求項1に記載の画像記録装置。
【請求項6】
前記判別部による判別結果を記憶する記憶手段をさらに備え、前記報知手段は、前記記憶手段が記憶する判別結果に基づいて基材種類が不一致であると判断した場合、エラーを報知することを特徴とする請求項1に記載の画像記録装置。
【請求項7】
前記判別部が判別する基材種類は、基材をグルーピングした基材種類であることを特徴とする請求項1に記載の画像記録装置。
【請求項8】
前記判別部は、基材表面の凹凸に関する情報を取得する情報取得手段を含み、基材の基材種類を、当該基材種類に対応付けられ、前記情報取得手段が取得した当該基材の表面の凹凸に関する情報によって判別することを特徴とする請求項1に記載の画像記録装置。
【請求項9】
前記判別部は、前記情報取得手段が取得した当該基材の表面の凹凸に関する情報が前記基材種類に対応付けられていないとき、前記情報取得手段が取得した当該基材の表面の凹凸に関する情報を、基材の基材種類に対応付けて保存することを特徴とする請求項8に記載の画像記録装置。
【請求項10】
前記情報取得手段が取得した当該基材の表面の凹凸に関する情報を、基材の基材種類に対応付けて保存するとき、前記設定されている基材種類と前記判別部が判別した基材の基材種類とが異なる場合、前記情報を保存しないことを特徴とする請求項9に記載の画像記録装置。
(【請求項11】以降は省略されています)
発明の詳細な説明
【技術分野】
【0001】
本開示は、画像記録装置に関し、詳しくは、基材の判別を実施する画像記録装置に関する。
続きを表示(約 1,800 文字)
【背景技術】
【0002】
画像記録装置は、記録に用いる基材に応じてその記録動作等を制御する。このような画像記録装置では、基材を別の種類の基材に交換する際に、画像記録装置における基材不一致エラー状態を発生させないように、基材情報を更新する。
【0003】
特許文献1には、画像記録装置が、基材としてのロール紙をその装着部から取り出した状態で、ホスト装置から新たな基材情報を受信してロール紙情報の更新設定を行い、その後、装着部に新たなロール紙を装着する。そして、この更新の後、画像記録装置は、装着された新たなロール紙が現在の基材情報の内容に一致しているか否かの判別を行う。この構成によれば、基材の交換およびその更新設定の過程で基材不一致エラーが生じることを防ぐことができる。
【先行技術文献】
【特許文献】
【0004】
特開2009-208418号公報
【発明の概要】
【発明が解決しようとする課題】
【0005】
しかしながら、特許文献1では、基材交換に関するプロセスが、基材情報を更新し、その後、新たな基材を装置に取り付けることに限定されている。このため、基材の交換およびその更新設定の過程、つまり基材交換中に基材不一致エラーが生じることがある。例えば、誤って、上記順序とは逆に、新たな基材を取り付けた後、基材情報を更新しようとすると、特許文献1では、基材不一致エラーが発生する。
【0006】
このように、基材交換中に、基材不一致エラーが発生した場合、ユーザは基材の装着位置から基材不一致エラーを表示する位置まで移動しその状況を確認する必要がある。特に、比較的大型な画像記録装置では上述の二つの位置に移動する距離が長いことから、ユーザは確認のための手間や時間がかかり、操作の利便性が低下する。
【0007】
本開示は、基材交換中に基材不一致エラーが発生することなく操作の利便性の低下を防止することが可能な画像記録装置を提供することを目的とする。
【課題を解決するための手段】
【0008】
本開示は、基材に画像を記録する画像記録装置であって、装着された基材を供給する供給ユニットと、前記供給ユニットによって供給された基材に記録を行う記録部と、前記供給ユニットから供給された基材の基材種類を判別する判別部と、記録に用いる基材の基材種類を設定する設定手段と、前記判別部で判別された基材種類と前記設定手段によって設定された基材種類が一致するか否かを判断する判断手段と、前記判断手段によって基材種類が一致しないと判断された場合に、エラーを報知する報知手段と、を備え、前記報知手段は、前記供給ユニットによる基材の供給準備が完了するまで前記エラーを報知しないことを特徴とする。
【発明の効果】
【0009】
本開示によれば、基材交換時に不一致エラー通知を出さず、基材の印刷を開始する際に、基材データによって不一致を判断し、不一致エラー通知を発送するので、印刷開始前に無駄に不一致エラー通知を発生することを防止可能であり、ユーザは自由な順序で基材情報を設定し、又は基材を交換することが出来る。
【図面の簡単な説明】
【0010】
本実施形態に係る画像記録装置を示す側面図である。
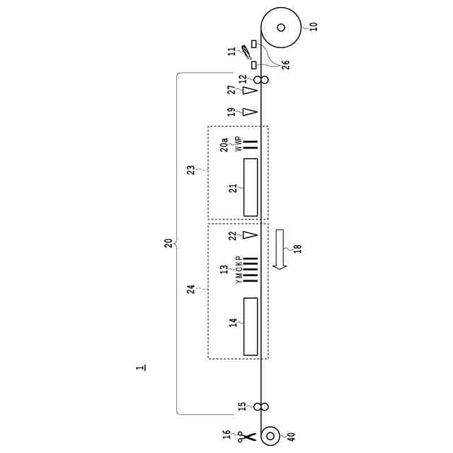
搬送ユニットによる搬送経路に沿って、本実施形態に係る各ユニットを示す模式図である。
本実施形態に係る画像記録装置の制御ユニットを示すブロック図である。
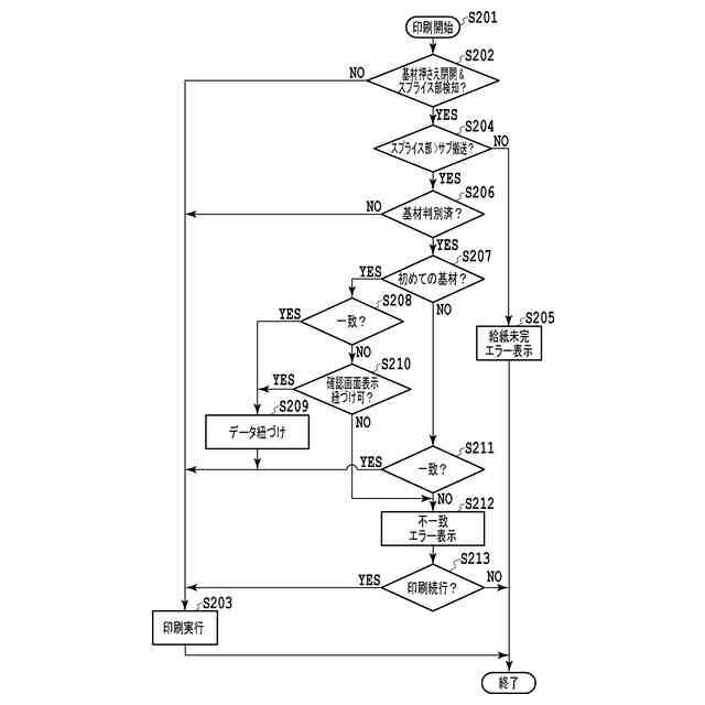
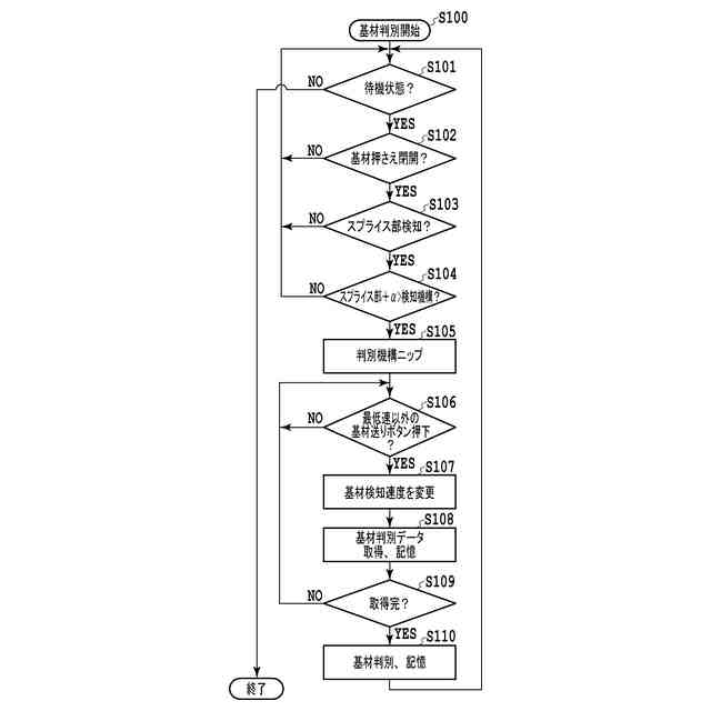
本実施形態に係る画像記録装置において、基材を判別する処理を示すフローチャートである。
(a)は本実施形態に係る画像記録装置の本体カバーが閉じるとき、搬送ユニットを示す図であり、(b)は本実施形態に係る画像記録装置の本体カバーが開くとき、搬送ユニットを示す図である。
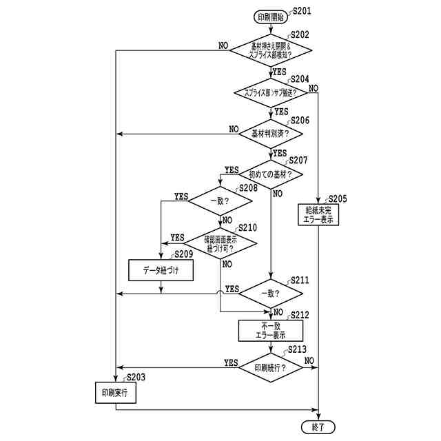
本実施形態に係る画像記録装置において、印刷開始を指示した処理を示すフローチャートである。
本実施形態に係る画像記録装置の操作パネルの画面を示す図である。
もう一つの実施形態に係る画像記録装置において、印刷開始を指示した処理を示すフローチャートである。
もう一つの実施形態に係る画像記録装置の操作パネルの画面を示す図である。
【発明を実施するための形態】
(【0011】以降は省略されています)
この特許をJ-PlatPat(特許庁公式サイト)で参照する
関連特許
キヤノン株式会社
トナー
27日前
キヤノン株式会社
撮像装置
27日前
キヤノン株式会社
撮像装置
14日前
キヤノン株式会社
定着装置
20日前
キヤノン株式会社
発光装置
6日前
キヤノン株式会社
定着装置
20日前
キヤノン株式会社
表示装置
6日前
キヤノン株式会社
電子機器
27日前
キヤノン株式会社
定着装置
14日前
キヤノン株式会社
撮像装置
14日前
キヤノン株式会社
記録装置
20日前
キヤノン株式会社
表示装置
6日前
キヤノン株式会社
表示装置
6日前
キヤノン株式会社
撮像装置
6日前
キヤノン株式会社
定着装置
14日前
キヤノン株式会社
撮像装置
8日前
キヤノン株式会社
記録装置
27日前
キヤノン株式会社
電子機器
27日前
キヤノン株式会社
撮像装置
6日前
キヤノン株式会社
撮像装置
22日前
キヤノン株式会社
定着装置
20日前
キヤノン株式会社
雲台装置
27日前
キヤノン株式会社
記録装置
27日前
キヤノン株式会社
電子機器
22日前
キヤノン株式会社
二次電池
1日前
キヤノン株式会社
露光ヘッド
20日前
キヤノン株式会社
画像形成装置
20日前
キヤノン株式会社
印刷システム
14日前
キヤノン株式会社
画像形成装置
14日前
キヤノン株式会社
画像形成装置
14日前
キヤノン株式会社
画像形成装置
27日前
キヤノン株式会社
画像形成装置
27日前
キヤノン株式会社
情報処理装置
14日前
キヤノン株式会社
情報処理装置
14日前
キヤノン株式会社
画像認識装置
14日前
キヤノン株式会社
情報処理装置
14日前
続きを見る
他の特許を見る