TOP
|
特許
|
意匠
|
商標
特許ウォッチ
Twitter
他の特許を見る
10個以上の画像は省略されています。
公開番号
2025168004
公報種別
公開特許公報(A)
公開日
2025-11-07
出願番号
2024073086
出願日
2024-04-26
発明の名称
画像形成装置
出願人
キヤノン株式会社
代理人
弁理士法人近島国際特許事務所
主分類
G03G
21/16 20060101AFI20251030BHJP(写真;映画;光波以外の波を使用する類似技術;電子写真;ホログラフイ)
要約
【課題】被装着部に装着されたトナーカートリッジからロータリ側の収容部へトナーが流入していない状態でトナーカートリッジの種類を判別可能とする。
【解決手段】複数のトナーカートリッジと、ロータリと、読取手段と、を備え、ロータリは、交換姿勢からの回転角度が第1角度以下である状態では被装着部に装着されたトナーカートリッジから収容部にトナーが流入せず、回転角度が第1角度を超えた状態では被装着部に装着されたトナーカートリッジから収容部にトナーが流入するように構成され、読取手段は、ロータリが交換姿勢から所定方向に向かって第1角度よりも小さい第2角度まで回転された状態において情報保持手段から情報を読み取るように構成されている、画像形成装置。
【選択図】図1
特許請求の範囲
【請求項1】
互いに異なる種類のトナーを収容する複数のトナーカートリッジと、
前記複数のトナーカートリッジを装着されるように構成された回転可能なロータリと、
前記複数のトナーカートリッジの少なくとも1つに設けられた情報保持手段からトナーカートリッジの種類を判別するための情報を読み取る読取手段と、
を備え、
前記ロータリは、現像ローラと、前記現像ローラに供給されるトナーを収容する収容部と、被装着部と、を有し、前記被装着部に対して前記複数のトナーカートリッジのいずれかが着脱されることを許容する交換姿勢をとることが可能であり、
前記ロータリは、前記被装着部に前記複数のトナーカートリッジのいずれかが装着された後で前記ロータリが前記交換姿勢から所定方向に向かって回転される場合に、前記交換姿勢からの回転角度が第1角度以下である状態では前記被装着部に装着されたトナーカートリッジから前記収容部にトナーが流入せず、前記回転角度が前記第1角度を超えた状態では前記被装着部に装着されたトナーカートリッジから前記収容部にトナーが流入するように構成され、
前記読取手段は、前記ロータリが前記交換姿勢から前記所定方向に向かって前記第1角度よりも小さい第2角度まで回転された状態において前記情報保持手段から前記情報を読み取るように構成されている、
ことを特徴とする画像形成装置。
続きを表示(約 2,100 文字)
【請求項2】
互いに異なる種類のトナーを収容する複数のトナーカートリッジと、
前記複数のトナーカートリッジを装着されるように構成された回転可能なロータリと、
前記複数のトナーカートリッジの少なくとも1つに設けられた情報保持手段からトナーカートリッジの種類を判別するための情報を読み取る読取手段と、
を備え、
前記ロータリは、現像ローラと、前記現像ローラに供給されるトナーを収容する収容部と、被装着部と、を有し、前記被装着部に対して前記複数のトナーカートリッジのいずれかが着脱されることを許容する交換姿勢をとることが可能であり、
前記収容部は、前記被装着部に装着されたトナーカートリッジからトナーを受け入れる受入開口を有し、前記ロータリが前記交換姿勢から所定方向に向かって第1角度まで回転された場合に前記受入開口の開口方向が水平となるように構成されており、
前記読取手段は、前記ロータリが前記交換姿勢から前記所定方向に向かって前記第1角度よりも小さい第2角度まで回転された状態において前記情報保持手段から前記情報を読み取るように構成されている、
ことを特徴とする画像形成装置。
【請求項3】
前記第2角度は、前記被装着部に装着されたトナーカートリッジに収容されているトナーの安息角よりも小さい、
ことを特徴とする請求項1又は2に記載の画像形成装置。
【請求項4】
前記ロータリを回転駆動する駆動源と、
前記駆動源を制御し、且つ前記読取手段を介して前記情報を取得する制御手段と、
を更に備え、
前記制御手段は、
前記読取手段を介して取得した前記情報が示すトナーカートリッジの種類が前記被装着部に装着されるべきトナーカートリッジの種類と一致する場合、前記ロータリが前記所定方向に向かって前記第1角度を超えて回転することを許容し、
前記読取手段を介して取得した前記情報が示すトナーカートリッジの種類が前記被装着部に装着されるべきトナーカートリッジの種類と一致しない場合、前記ロータリが前記所定方向に向かって前記第1角度を超えて回転することを規制する、
ことを特徴とする請求項1又は2に記載の画像形成装置。
【請求項5】
前記制御手段は、前記被装着部に前記複数のトナーカートリッジのいずれかが装着された場合に、前記駆動源により前記ロータリを前記交換姿勢から前記所定方向に向かって前記第2角度まで回転させて前記読取手段に前記情報を読み取らせる、
ことを特徴とする請求項4に記載の画像形成装置。
【請求項6】
前記制御手段は、前記読取手段を介して取得した前記情報が示すトナーカートリッジの種類が前記被装着部に装着されるべきトナーカートリッジの種類と一致しない場合、前記ロータリを前記第2角度から前記所定方向の反対方向に向かって前記交換姿勢まで回転させる、
ことを特徴とする請求項4に記載の画像形成装置。
【請求項7】
前記ロータリを収容し、開口が備えられた本体枠体を更に備え、
前記被装着部は、前記複数のトナーカートリッジのいずれかを支持する支持部材に設けられ、
前記支持部材は、前記被装着部に装着されたトナーカートリッジが前記本体枠体に収容される収容位置と、前記開口を通じて前記被装着部にトナーカートリッジが着脱されることを許容する着脱位置と、の間で前記ロータリに対して移動可能であり、
前記制御手段は、前記ロータリを前記第2角度から前記反対方向に向かって前記交換姿勢まで回転させた後で前記支持部材を前記収容位置から前記着脱位置へ移動させる、
ことを特徴とする請求項6に記載の画像形成装置。
【請求項8】
前記読取手段は、前記情報保持手段から前記情報を読み取ることが可能な読取位置と、前記読取位置から退避した退避位置と、の間で移動可能であり、前記ロータリが回転されている間は前記退避位置に位置されるように構成されている、
ことを特徴とする請求項1又は2に記載の画像形成装置。
【請求項9】
前記画像形成装置の動作を制御する制御手段を更に備え、
前記情報保持手段は、前記情報を保持する電気部品と、前記電気部品と電気的に接続された第1接点部と、を有し、
前記読取手段は、前記制御手段と電気的に接続された第2接点部を有し、
前記ロータリが前記第2角度まで回転された状態において前記第1接点部と前記第2接点部とが接触することで、前記制御手段と前記電気部品とが電気的に接続される、
ことを特徴とする請求項1又は2に記載の画像形成装置。
【請求項10】
前記電気部品は、半導体記憶装置である、
ことを特徴とする請求項9に記載の画像形成装置。
(【請求項11】以降は省略されています)
発明の詳細な説明
【技術分野】
【0001】
本発明は、記録材に画像を形成する画像形成装置に関する。
続きを表示(約 2,500 文字)
【背景技術】
【0002】
特許文献1には、複数の現像ローラを備えたロータリを回転させることでカラー画像を形成するロータリ現像方式の画像形成装置が記載されている。特許文献2には、ロータリに対して互いに異なる色のトナーを収容する4つのトナーカートリッジを着脱可能なロータリ現像方式の画像形成装置が記載されている。
【先行技術文献】
【特許文献】
【0003】
特開2008-096852号公報
特開2007-183305号公報
【発明の概要】
【発明が解決しようとする課題】
【0004】
ロータリの被装着部に対し、本来装着されるべき種類とは異なる種類のトナーカートリッジが誤って装着された状態でロータリが回転されると、誤った種類のトナーがロータリ側の収容部に収容されているトナーと混ざる可能性がある。そのため、被装着部に装着されたトナーカートリッジからロータリ側の収容部へトナーが流入していない状態でトナーカートリッジの種類を判別されることが好ましい。
【0005】
そこで、本発明は、被装着部に装着されたトナーカートリッジからロータリ側の収容部へトナーが流入していない状態でトナーカートリッジの種類を判別可能な構成を備えた画像形成装置を提供することを目的とする。
【課題を解決するための手段】
【0006】
本発明の一態様は、互いに異なる種類のトナーを収容する複数のトナーカートリッジと、前記複数のトナーカートリッジを装着されるように構成された回転可能なロータリと、前記複数のトナーカートリッジの少なくとも1つに設けられた情報保持手段からトナーカートリッジの種類を判別するための情報を読み取る読取手段と、を備え、前記ロータリは、現像ローラと、前記現像ローラに供給されるトナーを収容する収容部と、被装着部と、を有し、前記被装着部に対して前記複数のトナーカートリッジのいずれかが着脱されることを許容する交換姿勢をとることが可能であり、前記ロータリは、前記被装着部に前記複数のトナーカートリッジのいずれかが装着された後で前記ロータリが前記交換姿勢から所定方向に向かって回転される場合に、前記交換姿勢からの回転角度が第1角度以下である状態では前記被装着部に装着されたトナーカートリッジから前記収容部にトナーが流入せず、前記回転角度が前記第1角度を超えた状態では前記被装着部に装着されたトナーカートリッジから前記収容部にトナーが流入するように構成され、前記読取手段は、前記ロータリが前記交換姿勢から前記所定方向に向かって前記第1角度よりも小さい第2角度まで回転された状態において前記情報保持手段から前記情報を読み取るように構成されている、ことを特徴とする画像形成装置である。
【0007】
本発明の他の一態様は、互いに異なる種類のトナーを収容する複数のトナーカートリッジと、前記複数のトナーカートリッジを装着されるように構成された回転可能なロータリと、前記複数のトナーカートリッジの少なくとも1つに設けられた情報保持手段からトナーカートリッジの種類を判別するための情報を読み取る読取手段と、を備え、前記ロータリは、現像ローラと、前記現像ローラに供給されるトナーを収容する収容部と、被装着部と、を有し、前記被装着部に対して前記複数のトナーカートリッジのいずれかが着脱されることを許容する交換姿勢をとることが可能であり、前記収容部は、前記被装着部に装着されたトナーカートリッジからトナーを受け入れる受入開口を有し、前記ロータリが前記交換姿勢から所定方向に向かって第1角度まで回転された場合に前記受入開口の開口方向が水平となるように構成されており、前記読取手段は、前記ロータリが前記交換姿勢から前記所定方向に向かって前記第1角度よりも小さい第2角度まで回転された状態において前記情報保持手段から前記情報を読み取るように構成されている、ことを特徴とする画像形成装置である。
【発明の効果】
【0008】
本発明によれば、被装着部に装着されたトナーカートリッジからロータリ側の収容部へトナーが流入していない状態でトナーカートリッジの種類を判別可能な構成を備えた画像形成装置を提供することができる。
【図面の簡単な説明】
【0009】
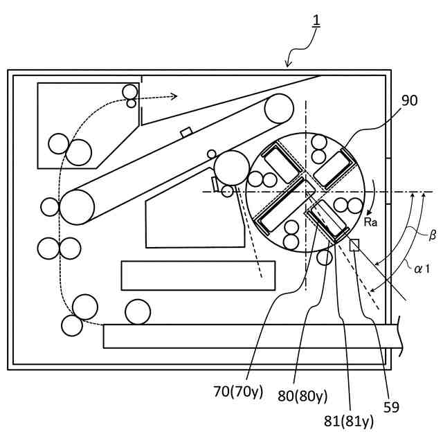
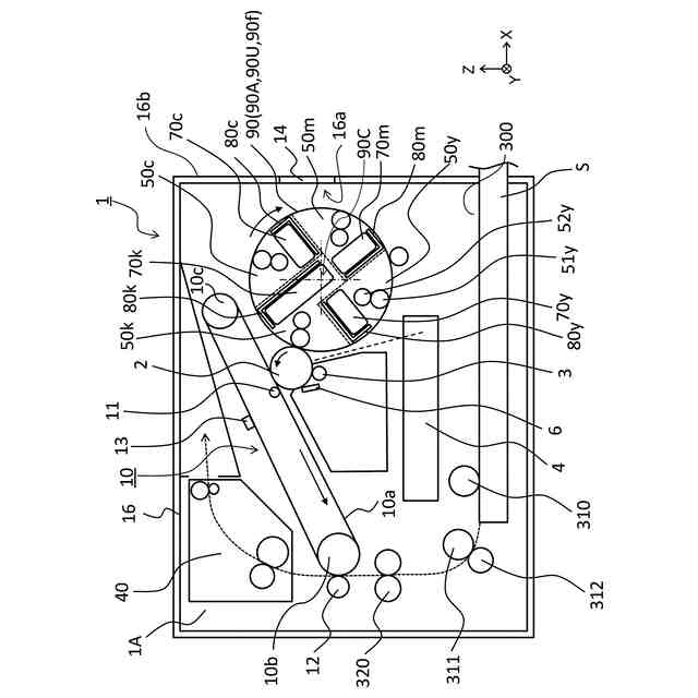
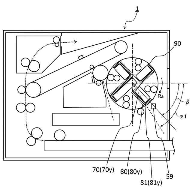
実施例1に係る読取ユニットの配置を示す概略図。
実施例1に係る画像形成装置の概略図。
実施例1に係るロータリ本体とトナーカートリッジの1つを示す概略図(a)と、ロータリ本体の回転角度についての説明図(b)~(e)。
実施例1に係る画像形成装置の断面図(a、b)。
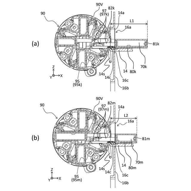
実施例1に係るロータリ本体の斜視図。
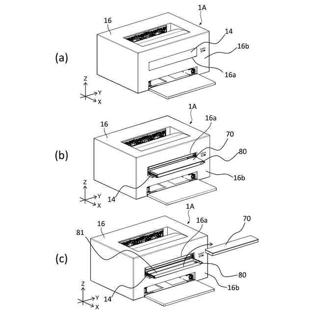
実施例1に係る画像形成装置の斜視図(a~c)。
実施例1に係る画像形成装置の断面図(a、b)。
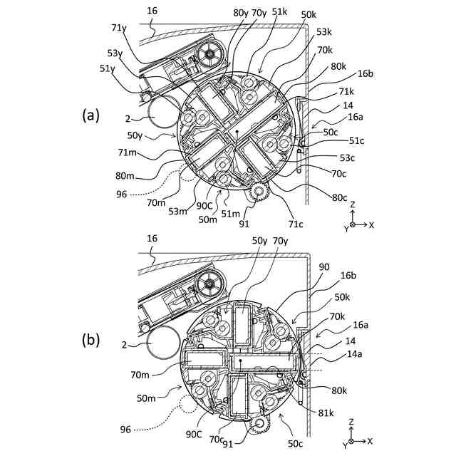
実施例1に係るロータリ本体の説明図。
実施例1に係るロータリ本体の説明図。
実施例1に係るトレイの移動に関する構成の説明図(a、b)。
実施例1に係るトレイの移動に関する構成の説明図(a、b)。
実施例1に係るロータリ本体、トナーカートリッジ及び読取ユニットの斜視図。
実施例1に係るトナーカートリッジの斜視図。
実施例1に係る画像形成装置の制御系を示すブロック図(a)及びトレイの移動に関する構成を示す模式図(b)。
実施例1に係る画像形成装置の制御方法を示すフローチャート。
変形例に係る読取ユニットの配置を示す概略図。
実施例2に係るトナーカートリッジの斜視図。
実施例3に係るトナーカートリッジの斜視図。
【発明を実施するための形態】
【0010】
以下、本開示に係る実施形態について、図面を参照しながら説明する。
(【0011】以降は省略されています)
この特許をJ-PlatPat(特許庁公式サイト)で参照する
関連特許
キヤノン株式会社
容器
1か月前
キヤノン株式会社
容器
1か月前
キヤノン株式会社
トナー
1か月前
キヤノン株式会社
トナー
1か月前
キヤノン株式会社
撮像装置
9日前
キヤノン株式会社
撮像装置
2日前
キヤノン株式会社
現像装置
1か月前
キヤノン株式会社
電子機器
1か月前
キヤノン株式会社
記録装置
3日前
キヤノン株式会社
電子機器
1か月前
キヤノン株式会社
記録装置
3日前
キヤノン株式会社
撮像装置
17日前
キヤノン株式会社
撮像装置
2日前
キヤノン株式会社
撮像装置
2日前
キヤノン株式会社
撮像装置
17日前
キヤノン株式会社
雲台装置
1か月前
キヤノン株式会社
撮像装置
1か月前
キヤノン株式会社
定着装置
17日前
キヤノン株式会社
記録装置
1か月前
キヤノン株式会社
撮像装置
1か月前
キヤノン株式会社
定着装置
17日前
キヤノン株式会社
撮像装置
1か月前
キヤノン株式会社
表示装置
9日前
キヤノン株式会社
表示装置
9日前
キヤノン株式会社
撮像装置
9日前
キヤノン株式会社
表示装置
9日前
キヤノン株式会社
表示装置
1か月前
キヤノン株式会社
発光装置
9日前
キヤノン株式会社
記録装置
1か月前
キヤノン株式会社
電子機器
25日前
キヤノン株式会社
測距装置
1か月前
キヤノン株式会社
撮像装置
1か月前
キヤノン株式会社
撮像装置
1か月前
キヤノン株式会社
撮像装置
1か月前
キヤノン株式会社
撮像装置
11日前
キヤノン株式会社
二次電池
4日前
続きを見る
他の特許を見る