TOP
|
特許
|
意匠
|
商標
特許ウォッチ
Twitter
他の特許を見る
10個以上の画像は省略されています。
公開番号
2025177489
公報種別
公開特許公報(A)
公開日
2025-12-05
出願番号
2024084359
出願日
2024-05-23
発明の名称
画像形成装置
出願人
キヤノン株式会社
代理人
個人
,
個人
,
個人
,
個人
,
個人
主分類
G03G
15/16 20060101AFI20251128BHJP(写真;映画;光波以外の波を使用する類似技術;電子写真;ホログラフイ)
要約
【課題】 ディスチャージ装置のブラシの毛先の乱れを抑え、長期にわたり安定したディスチャージ効果を維持することができる画像形成装置を提供すること。
【解決手段】 本発明における画像形成装置は、中間転写体6、1次転写手段5、2次転写手段9、中間転写体クリーニング手段12、ディスチャージ装置27、を有する画像形成装置において、高湿環境では、画像比率に応じて、クリーニング手段に供給する電流もしくは電圧を変え、低湿環境では画像比率に関わらずクリーニング手段の供給する電流もしくは電圧を一定にする。
【選択図】 図1
特許請求の範囲
【請求項1】
トナー像を担持する像担持体と、
前記像担持体から一次転写部においてトナー像が一次転写され、二次転写部においてトナー像を記録材へ二次転写する中間転写ベルトと、
第1のクリーニング部で前記中間転写ベルトと接触して設けられ、前記中間転写ベルトに第1のクリーニング電流を供給して前記中間転写ベルト上の正規極性に帯電したトナーを回収する第1のクリーニングブラシと、
第2のクリーニング部で前記中間転写ベルトと接触して設けられ、前記中間転写ベルトに第2のクリーニング電流を供給して前記中間転写ベルト上の正規極性とは逆極性に帯電したトナーを回収する第2のクリーニングブラシと、
前記中間転写ベルトの回転方向において、前記第1のクリーニング部及び前記第2のクリーニング部よりも下流で、前記一次転写部よりも上流にあるディスチャージ部で前記中間転写ベルトに接触して設けられ、前記中間転写ベルトにディスチャージ電流を供給するディスチャージブラシと、
前記第1のクリーニングブラシ、前記第2のクリーニングブラシと、前記ディスチャージブラシに電流を供給する電源部と、
前記電源部を制御する制御部と、を備えた画像形成装置において、
前記制御部は、環境湿度が第1所定湿度の場合は、画像比率に応じて、前記第1のクリーニングブラシに供給される電流もしくは電圧を変更させ、環境湿度が前記第1所定湿度より低い第2所定湿度の場合は、画像比率に関わらず、前記第1のクリーニングブラシに供給される電流もしくは電圧を一定となるように、前記電源部を制御するように構成されていることを特徴とする画像形成装置。
続きを表示(約 300 文字)
【請求項2】
前記電源部は、前記ディスチャージブラシに前記ディスチャージ電流が供給されたときに、前記ディスチャージブラシの電位の極性が、トナーの正規極性と逆極性となるように構成されていることを特徴とする請求項1に記載の画像形成装置。
【請求項3】
前記制御部は、環境湿度が前記第1所定湿度の場合は、2次転写された後に前記中間転写ベルトに残留するトナーの一部が前記第1クリーニング部を通過するように前記第1のクリーニング電流の値が設定され、前記第1クリーニング部を通過させたトナーが前記ディスチャージブラシに供給されるように構成されていることを特徴とする請求項2に記載の画像形成装置。
発明の詳細な説明
【技術分野】
【0001】
本発明は、記録材にトナー像を形成する画像形成装置に関する。
続きを表示(約 2,400 文字)
【背景技術】
【0002】
弾性層を有する中間転写ベルトが商業印刷市場で使用されている。弾性層があることにより、紙の表面に凹凸があるエンボス紙の転写性に優れるといった特徴がある。
【0003】
しかしながら、通電箇所が多い中間転写ベルトは抵抗が上昇するという問題がある。これは、弾性層の抵抗調整にイオン導電系を用いた場合に顕著である。
【0004】
イオン導電性のベルトが使用される場合には、電流が流れることでベルト層内に電界が発生する。ベルト層内に発生する電界により、イオン導電性を担うイオン導電剤は電界より力を受け、負の電荷を帯びたイオン導電剤は電界とは逆方向の力を受け移動する。つまり、例えば一次転写手段に正極性の電流を供給すると、イオン導電剤は中間転写ベルトの内面側へと移動する。これに対して、2次転写ローラは中間転写ベルトの外側から正極性の電流を供給して、トナーを紙に転写する。このため、1次転写とは逆方向の電界を発生させるため、中間転写ベルト内のイオン導電剤は1次転写時と逆方向へ移動する。このような中間転写ベルトに対して電流を供給する高圧印加手段による外方向と内方向への総電荷量のバランスが大きくくずれることにより、中間転写ベルト内のイオンに偏りが発生し、中間転写ベルトは抵抗上昇する。耐久を通じて中間転写ベルトの抵抗が上昇し、必要な転写高圧が上昇していくと、1次転写部や2次転写部での放電起因の画像不良が発生しやすくなることが分かっている。
【0005】
中間転写ベルトの抵抗上昇を抑えて、耐久寿命を延ばすためには、抵抗上昇を抑制するためのディスチャージ装置が必要となる。例えば、ディスチャージ装置として、静電ファーブラシ等の電圧印加部手段を中間転写体に当接させる構成がある。(特許文献1)これによれば、画像形成中の中間転写体のその他の電圧印加手段の総電流の収支を略0になる電流をディスチャージ装置により中間転写ベルトに供給することで達成可能としている(特許文献1)。タンデムのフルカラー画像形成装置においては、4か所でトナーと逆極性の正極性のバイアスを1次転写手段に印加するため、中間転写ベルトの内面から外面への正極性電流が多くなる。このため、ディスチャージ装置には外面から内面方向へ正極性のバイアスを印加することが望ましい。
【先行技術文献】
【特許文献】
【0006】
特開2018-12861号公報
【発明の概要】
【発明が解決しようとする課題】
【0007】
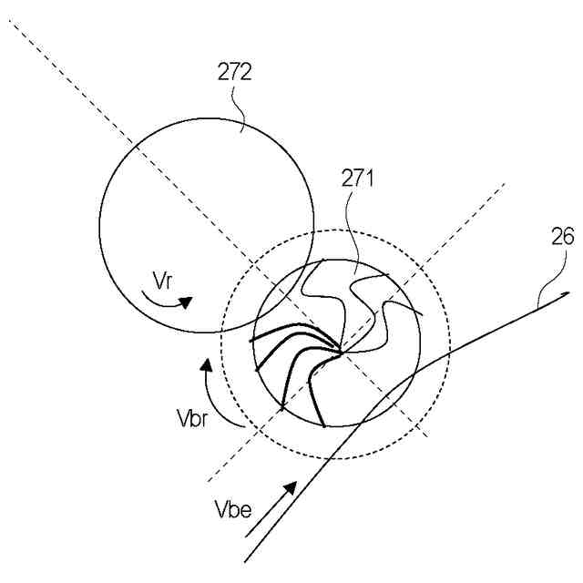
しかしながら、ディスチャージ装置として、中間転写ベルトのクリーニング手段として用いられる静電ファーブラシを用いた場合、ブラシが毛倒れという問題がある。これは、ブラシは中間転写ベルトに押し付けられており、使用に応じて毛が押し倒されたままになることによるものである。トナーを回収するクリーニング手段のブラシとその下流に配置したディスチャージを比べると、ディスチャージ手段のブラシの毛倒れのスピードが速い。トナーを回収するブラシは毛と毛の間にトナーが入り、毛倒れを抑制している。特許文献1のようなトナーを回収しないブラシは、径が大きい初期はベルトより周速が速いが、径が小さくなるとベルトより周速が遅くなる。これにより、一度毛倒れした毛が起こされて毛先がランダムになる。毛先が乱れると給電が不安定になる。不安定になった結果、電流が流れにくくなり、電源装置の容量上限まで、電圧を上げることになる。その後は必要電流が流せなくなり、交換が必要となる。
【0008】
そこで本発明の目的は、ディスチャージ装置のファーブラシの毛先の毛倒れを簡易な構成で抑制可能な画像形成装置を提供することである。
【課題を解決するための手段】
【0009】
本発明における画像形成装置は、トナー像を担持する像担持体と、前記像担持体から一次転写部においてトナー像が一次転写され、二次転写部においてトナー像を記録材へ二次転写する中間転写ベルトと、第1のクリーニング部で前記中間転写ベルトと接触して設けられ、前記中間転写ベルトに第1のクリーニング電流を供給して前記中間転写ベルト上の正規極性に帯電したトナーを回収する第1のクリーニングブラシと、第2のクリーニング部で前記中間転写ベルトと接触して設けられ、前記中間転写ベルトに第2のクリーニング電流を供給して前記中間転写ベルト上の正規極性とは逆極性に帯電したトナーを回収する第2のクリーニングブラシと、前記中間転写ベルトの回転方向において、前記第1のクリーニング部及び前記第2のクリーニング部よりも下流で、前記一次転写部よりも上流にあるディスチャージ部で前記中間転写ベルトに接触して設けられ、前記中間転写ベルトにディスチャージ電流を供給するディスチャージブラシと、前記第1のクリーニングブラシ、前記第2のクリーニングブラシと、前記ディスチャージブラシに電流を供給する電源部と、前記電源部を制御する制御部と、を備えた画像形成装置において、前記制御部は、環境湿度が第1所定湿度の場合は、画像比率に応じて、前記第1のクリーニングブラシに供給される電流もしくは電圧を変更させ、環境湿度が前記第1所定湿度より低い第2所定湿度の場合は、画像比率に関わらず、前記第1のクリーニングブラシに供給される電流もしくは電圧を一定となるように、前記電源部を制御するように構成されていることを特徴とする。
【発明の効果】
【0010】
本発明によれば、ディスチャージ装置のファーブラシの毛先の毛倒れを簡易な構成で抑制可能な画像形成装置を提供することができる。
【図面の簡単な説明】
(【0011】以降は省略されています)
この特許をJ-PlatPat(特許庁公式サイト)で参照する
関連特許
キヤノン株式会社
容器
1か月前
キヤノン株式会社
容器
1か月前
キヤノン株式会社
トナー
28日前
キヤノン株式会社
トナー
1か月前
キヤノン株式会社
トナー
1か月前
キヤノン株式会社
トナー
1か月前
キヤノン株式会社
トナー
1か月前
キヤノン株式会社
表示装置
7日前
キヤノン株式会社
現像装置
1か月前
キヤノン株式会社
定着装置
21日前
キヤノン株式会社
撮像装置
28日前
キヤノン株式会社
撮像装置
15日前
キヤノン株式会社
雲台装置
28日前
キヤノン株式会社
発光装置
7日前
キヤノン株式会社
撮像装置
29日前
キヤノン株式会社
二次電池
2日前
キヤノン株式会社
撮像装置
23日前
キヤノン株式会社
測距装置
1か月前
キヤノン株式会社
撮像装置
15日前
キヤノン株式会社
現像容器
1か月前
キヤノン株式会社
定着装置
1か月前
キヤノン株式会社
撮像装置
今日
キヤノン株式会社
現像装置
1か月前
キヤノン株式会社
現像容器
1か月前
キヤノン株式会社
現像装置
1か月前
キヤノン株式会社
電子機器
28日前
キヤノン株式会社
電子機器
23日前
キヤノン株式会社
撮像装置
今日
キヤノン株式会社
撮像装置
今日
キヤノン株式会社
撮像装置
今日
キヤノン株式会社
記録装置
28日前
キヤノン株式会社
撮像装置
今日
キヤノン株式会社
記録装置
28日前
キヤノン株式会社
表示装置
今日
キヤノン株式会社
記録装置
1か月前
キヤノン株式会社
定着装置
15日前
続きを見る
他の特許を見る