TOP
|
特許
|
意匠
|
商標
特許ウォッチ
Twitter
他の特許を見る
公開番号
2025175508
公報種別
公開特許公報(A)
公開日
2025-12-03
出願番号
2024081670
出願日
2024-05-20
発明の名称
画像形成装置
出願人
キヤノン株式会社
代理人
弁理士法人近島国際特許事務所
主分類
G03G
21/14 20060101AFI20251126BHJP(写真;映画;光波以外の波を使用する類似技術;電子写真;ホログラフイ)
要約
【課題】画像不良を抑制する。
【解決手段】トナー像を担持する像担持体と、所定の回転方向に回転するベルトと、ベルトの外周面に当接する外ローラと、外ローラと共に転写ニップを形成する内ローラと、テンションローラと、転写ニップに向けてシートを搬送する搬送ローラ対と、搬送ローラ対のニップと転写ニップとを通る仮想線と、テンションローラと内ローラとの間で張架されるベルトの外周面に沿って延びる仮想線と、の間に配置されると共にベルトの外周面に向けて突出する凸部を有するガイド部材と、ベルト駆動モータと、トルクセンサと、シートが転写ニップに到達した後に、トルクセンサの検知結果に基づいて転写ニップによるシートの第1搬送速度が搬送ローラ対によるシートの第2搬送速度よりも速くなるように搬送ローラ対の回転速度を制御する搬送制御を実行する制御部と、を備える、画像形成装置。
【選択図】図7
特許請求の範囲
【請求項1】
トナー像を担持する像担持体と、
所定の回転方向に回転しながら前記像担持体からトナー像が転写されるベルトと、
前記ベルトの外周面に当接する外ローラと、
前記ベルトを挟んで前記外ローラに対向して配置され、前記ベルトの内周面に当接し、前記外ローラと共に転写ニップを形成する内ローラと、
前記ベルトの前記内周面に当接し、前記回転方向において前記内ローラの上流に配置されるテンションローラと、
前記転写ニップに向けてシートを搬送する搬送ローラ対と、
前記搬送ローラ対によって搬送されるシートを前記転写ニップに向けて案内するガイド部材であって、前記搬送ローラ対のニップと前記転写ニップとを通る仮想線と、前記テンションローラと前記内ローラとの間で張架される前記ベルトの前記外周面に沿って延びる仮想線と、の間に配置されると共に前記ベルトの前記外周面に向けて突出する凸部を有するガイド部材と、
前記ベルトを駆動するためのベルト駆動モータと、
前記ベルト駆動モータのトルクを検知するトルクセンサと、
シートが前記転写ニップに到達した後に、前記トルクセンサの検知結果に基づいて前記転写ニップによるシートの第1搬送速度が前記搬送ローラ対によるシートの第2搬送速度よりも速くなるように前記搬送ローラ対の回転速度を制御する搬送制御を実行する制御部と、を備える、
ことを特徴とする画像形成装置。
続きを表示(約 1,500 文字)
【請求項2】
前記ガイド部材の前記凸部は、前記搬送制御が実行されている際に前記搬送ローラ対及び前記転写ニップによって挟持されるシートに擦接するように構成されてる、
ことを特徴とする請求項1に記載の画像形成装置。
【請求項3】
前記制御部は、前記第1搬送速度が前記第2搬送速度よりも速くなるように設定される前記ベルト駆動モータの目標トルクと、前記転写ニップによってシートが挟持されている際の前記ベルト駆動モータの第1トルクから前記転写ニップによってシートが挟持されていない際の前記ベルト駆動モータの第2トルクを差し引いた搬送トルクと、を取得し、前記搬送制御において、前記目標トルクよりも前記搬送トルクが大きい場合には前記第2搬送速度が減速するように前記搬送ローラ対の回転速度を制御し、かつ前記目標トルクよりも前記搬送トルクが小さい場合には前記第2搬送速度が増速するように前記搬送ローラ対の回転速度を制御する、
ことを特徴とする請求項1に記載の画像形成装置。
【請求項4】
前記目標トルクは、搬送されるシートの属性に応じて設定される、
ことを特徴とする請求項3に記載の画像形成装置。
【請求項5】
前記トルクセンサは、前記ベルト駆動モータに流れる電流を検知する電流検知部を含む、
ことを特徴とする請求項1に記載の画像形成装置。
【請求項6】
前記制御部は、シートが前記転写ニップに到達した後、当該シートが前記搬送ローラ対を抜けるまでの間の少なくとも一部の期間において前記搬送制御を実行する、
ことを特徴とする請求項1に記載の画像形成装置。
【請求項7】
前記搬送ローラ対を駆動するための搬送モータを更に備え、
前記制御部は、前記搬送モータを制御することで、前記搬送ローラ対の回転速度を制御する、
ことを特徴とする請求項1に記載の画像形成装置。
【請求項8】
トナー像を担持する像担持体と、
所定の回転方向に回転しながら前記像担持体からトナー像が転写されるベルトと、
前記ベルトの外周面に当接する外ローラと、
前記ベルトを挟んで前記外ローラに対向して配置され、前記ベルトの内周面に当接し、前記外ローラと共に転写ニップを形成する内ローラと、
前記ベルトの前記内周面に当接し、前記回転方向において前記内ローラの上流に配置されるテンションローラと、
前記転写ニップに向けてシートを搬送する搬送ローラ対と、
前記搬送ローラ対によって搬送されるシートを前記転写ニップに向けて案内するガイド部材であって、前記搬送ローラ対のニップと前記転写ニップとを通る仮想線と、前記テンションローラと前記内ローラとの間で張架される前記ベルトの外周面に沿って延びる仮想線と、の間に配置されると共に前記ベルトの前記外周面に向けて突出する凸部を有するガイド部材と、
前記ベルトを駆動するためのベルト駆動モータと、
前記ベルト駆動モータのトルクを検知するトルクセンサと、
前記転写ニップのみよってシートが挟持して搬送されている際に前記トルクセンサによって検知されるトルクよりも、前記搬送ローラ対及び前記転写ニップによってシートが挟持されている際に前記トルクセンサによって検知されるトルクが大きくなるように、前記搬送ローラ対の回転速度を制御する搬送制御を実行する制御部と、を備える、
ことを特徴とする画像形成装置。
発明の詳細な説明
【技術分野】
【0001】
本発明は、シートに画像を形成する画像形成装置に関する。
続きを表示(約 2,500 文字)
【背景技術】
【0002】
一般に、画像形成装置は、転写部において中間転写ベルトや感光ドラムに形成されたトナー像をシートに転写して、その後、熱と圧力によりトナー像をシートに定着させる。転写部の上流にはレジストレーションローラ対(以下、レジローラ対とする)があり、シートが転写部とレジローラ対に跨った状態が発生する。シートがそれぞれのローラに跨った状態になると、両者の回転速度のわずかな違いにより、レジローラ対によるシートの引っ張りや押し込みが生じることが一般的に知られている。その結果、シートの姿勢が転写部の上流で不安定となり、画像不良の要因となってしまう。例えば、レジローラ対の外径公差により、レジローラ対と転写部とでシートの搬送速度が異なってしまう。
【0003】
そこで、特許文献1では、シートが転写部のみで搬送される際の二次転写ローラの設定トルクを記憶した画像形成装置が提案されている。そして、該画像形成装置は、シートがレジローラ対及び転写部の両方によって搬送される際の二次転写ローラの実測トルクを設定トルクから減算してトルク偏差を求め、該トルク偏差が0となるようにレジローラ対の回転速度を制御する。これにより、レジローラ対によるシートの引っ張りや押し込みの抑制を図っている。
【先行技術文献】
【特許文献】
【0004】
特開2011-091347号公報
【発明の概要】
【発明が解決しようとする課題】
【0005】
しかしながら、特に剛度が低いシートの場合には、転写部とレジローラ対との間でのシートの搬送速度差が、シートの姿勢に影響しやすくなるものの、シートが転写部に押し込まれている状況での二次転写ローラの駆動トルクの変動に影響しにくい。これは、シートが転写部に押し込まれる際に、シートにループが形成されることに起因する。このため、
特許文献1のようにトルク偏差が0となるようにレジローラ対の回転速度を制御しても、特に剛度が低いシートの場合には、適切にシートの姿勢を安定化できない虞がある。
【0006】
本発明は、転写ニップに搬送されるシートの姿勢を安定させ、画像不良を抑制可能な画像形成装置を提供することを目的とする。
【課題を解決するための手段】
【0007】
本発明は、画像形成装置において、トナー像を担持する像担持体と、所定の回転方向に回転しながら前記像担持体からトナー像が転写されるベルトと、前記ベルトの外周面に当接する外ローラと、前記ベルトを挟んで前記外ローラに対向して配置され、前記ベルトの内周面に当接し、前記外ローラと共に転写ニップを形成する内ローラと、前記ベルトの前記内周面に当接し、前記回転方向において前記内ローラの上流に配置されるテンションローラと、前記転写ニップに向けてシートを搬送する搬送ローラ対と、前記搬送ローラ対によって搬送されるシートを前記転写ニップに向けて案内するガイド部材であって、前記搬送ローラ対のニップと前記転写ニップとを通る仮想線と、前記テンションローラと前記内ローラとの間で張架される前記ベルトの前記外周面に沿って延びる仮想線と、の間に配置されると共に前記ベルトの前記外周面に向けて突出する凸部を有するガイド部材と、前記ベルトを駆動するためのベルト駆動モータと、前記ベルト駆動モータのトルクを検知するトルクセンサと、シートが前記転写ニップに到達した後に、前記トルクセンサの検知結果に基づいて前記転写ニップによるシートの第1搬送速度が前記搬送ローラ対によるシートの第2搬送速度よりも速くなるように前記搬送ローラ対の回転速度を制御する搬送制御を実行する制御部と、を備える、ことを特徴とする。
【0008】
また、本発明は、画像形成装置において、トナー像を担持する像担持体と、所定の回転方向に回転しながら前記像担持体からトナー像が転写されるベルトと、前記ベルトの外周面に当接する外ローラと、前記ベルトを挟んで前記外ローラに対向して配置され、前記ベルトの内周面に当接し、前記外ローラと共に転写ニップを形成する内ローラと、前記ベルトの前記内周面に当接し、前記回転方向において前記内ローラの上流に配置されるテンションローラと、前記転写ニップに向けてシートを搬送する搬送ローラ対と、前記搬送ローラ対によって搬送されるシートを前記転写ニップに向けて案内するガイド部材であって、前記搬送ローラ対のニップと前記転写ニップとを通る仮想線と、前記テンションローラと前記内ローラとの間で張架される前記ベルトの外周面に沿って延びる仮想線と、の間に配置されると共に前記ベルトの前記外周面に向けて突出する凸部を有するガイド部材と、前記ベルトを駆動するためのベルト駆動モータと、前記ベルト駆動モータのトルクを検知するトルクセンサと、前記転写ニップのみよってシートが挟持して搬送されている際に前記トルクセンサによって検知されるトルクよりも、前記搬送ローラ対及び前記転写ニップによってシートが挟持されている際に前記トルクセンサによって検知されるトルクが大きくなるように、前記搬送ローラ対の回転速度を制御する搬送制御を実行する制御部と、を備える、ことを特徴とする。
【発明の効果】
【0009】
本発明によると、画像不良を抑制することができる。
【図面の簡単な説明】
【0010】
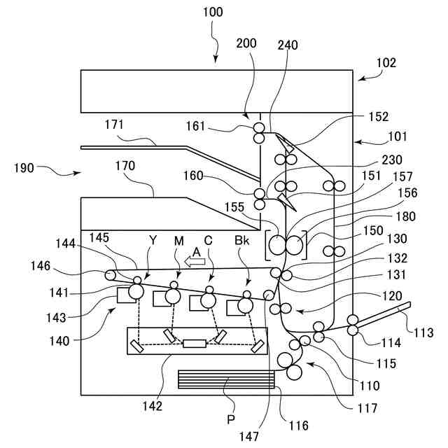
画像形成装置の断面構成を示す全体概略図。
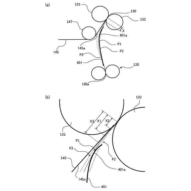
転写ニップの周辺構成を示す模式図。
画像形成装置に設けられた制御部の制御ブロックを示すブロック図。
ベルト駆動モータのトルク変動を示すグラフ。
(a)はシートの挙動を示す模式図、(b)は図5(a)の拡大図。
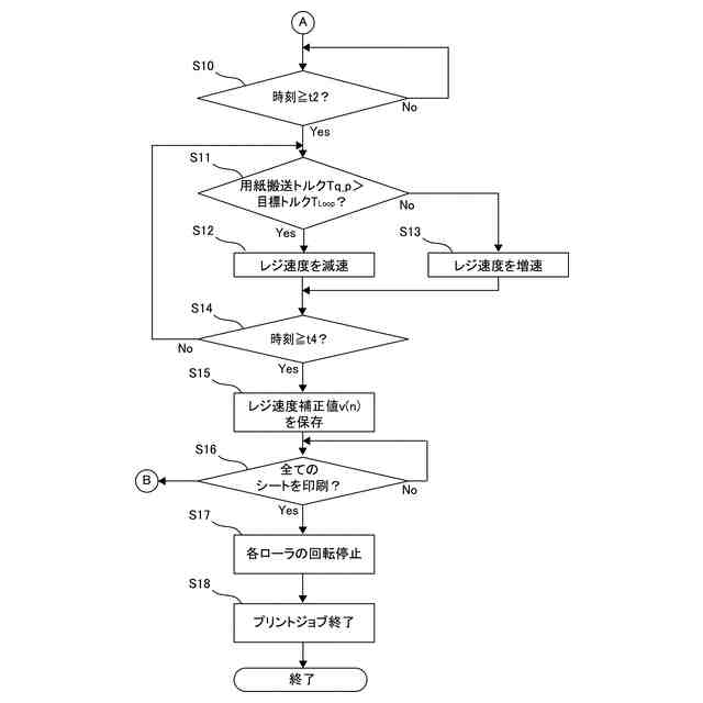
印刷制御を示すフローチャート。
印刷制御を示すフローチャート。
(a)は変形例に係るガイド部材を示す模式図、(b)は変形例に係る図8(a)の拡大図。
【発明を実施するための形態】
(【0011】以降は省略されています)
この特許をJ-PlatPat(特許庁公式サイト)で参照する
関連特許
キヤノン株式会社
トナー
27日前
キヤノン株式会社
記録装置
今日
キヤノン株式会社
二次電池
1日前
キヤノン株式会社
記録装置
20日前
キヤノン株式会社
記録装置
27日前
キヤノン株式会社
定着装置
20日前
キヤノン株式会社
定着装置
20日前
キヤノン株式会社
撮像装置
6日前
キヤノン株式会社
発光装置
6日前
キヤノン株式会社
定着装置
14日前
キヤノン株式会社
撮像装置
28日前
キヤノン株式会社
電子機器
27日前
キヤノン株式会社
撮像装置
14日前
キヤノン株式会社
撮像装置
14日前
キヤノン株式会社
表示装置
6日前
キヤノン株式会社
表示装置
6日前
キヤノン株式会社
撮像装置
6日前
キヤノン株式会社
定着装置
14日前
キヤノン株式会社
測距装置
29日前
キヤノン株式会社
撮像装置
8日前
キヤノン株式会社
定着装置
20日前
キヤノン株式会社
表示装置
6日前
キヤノン株式会社
撮像装置
27日前
キヤノン株式会社
電子機器
27日前
キヤノン株式会社
記録装置
27日前
キヤノン株式会社
雲台装置
27日前
キヤノン株式会社
記録装置
今日
キヤノン株式会社
電子機器
22日前
キヤノン株式会社
撮像装置
22日前
キヤノン株式会社
液体収容体
29日前
キヤノン株式会社
露光ヘッド
20日前
キヤノン株式会社
液体収容体
1か月前
キヤノン株式会社
インク容器
今日
キヤノン株式会社
画像形成装置
27日前
キヤノン株式会社
情報処理装置
28日前
キヤノン株式会社
印刷システム
14日前
続きを見る
他の特許を見る