TOP
|
特許
|
意匠
|
商標
特許ウォッチ
Twitter
他の特許を見る
公開番号
2025166565
公報種別
公開特許公報(A)
公開日
2025-11-06
出願番号
2024070680
出願日
2024-04-24
発明の名称
情報処理装置
出願人
キヤノン株式会社
代理人
個人
主分類
G06F
3/12 20060101AFI20251029BHJP(計算;計数)
要約
【課題】印刷指示する際に、認証処理に基づく印刷を行わせるか否かを制御できるようにする。
【解決手段】情報処理装置は、印刷装置と通信可能な情報処理装置であって、前記印刷装置から、他のユーザーが前記印刷装置を使ったことがあるか否かを示す特定の情報を取得する第1の取得手段と、当該情報処理装置から前記印刷装置に印刷指示する際に、前記第1の取得手段で取得した前記特定の情報に基づき、他のユーザーが使ったことがない印刷装置であれば、前記印刷装置における認証処理で認証されたことに基づいて印刷が行われる第1の方式の印刷処理を促す特定の処理を行わず、他のユーザーが使ったことがある印刷装置であれば、前記特定の処理を行うように制御する制御手段とを有する。
【選択図】図4
特許請求の範囲
【請求項1】
印刷装置と通信可能な情報処理装置であって、
前記印刷装置から、他のユーザーが前記印刷装置を使ったことがあるか否かを示す特定の情報を取得する第1の取得手段と、
当該情報処理装置から前記印刷装置に印刷指示する際に、前記第1の取得手段で取得した前記特定の情報に基づき、他のユーザーが使ったことがない印刷装置であれば、前記印刷装置における認証処理で認証されたことに基づいて印刷が行われる第1の方式の印刷処理を促す特定の処理を行わず、他のユーザーが使ったことがある印刷装置であれば、前記特定の処理を行うように制御する制御手段と
を有することを特徴とする情報処理装置。
続きを表示(約 1,800 文字)
【請求項2】
前記制御手段は、他のユーザーが使ったことがある印刷装置であれば、前記印刷装置に対して、前記印刷装置が前記第1の方式の印刷処理を行うように指示し、他のユーザーが使ったことがない印刷装置であれば、前記印刷装置に対して、前記印刷装置が認証処理なしで印刷を行う第2の方式の印刷処理を行うように指示することを特徴とする請求項1に記載の情報処理装置。
【請求項3】
前記制御手段は、他のユーザーが使ったことがある印刷装置であれば、前記印刷装置に対して、認証情報が設定された印刷ジョブを送信するように制御し、他のユーザーが使ったことがない印刷装置であれば、前記印刷装置に対して、認証情報が設定されていない印刷ジョブを送信するように制御することを特徴とする請求項2に記載の情報処理装置。
【請求項4】
前記情報処理装置のユーザー情報を取得する第2の取得手段をさらに有し、
前記特定の情報は、前記印刷装置を使ったことがあるユーザー情報を含み、
前記制御手段は、前記特定の情報に含まれるユーザー情報が、前記第2の取得手段で取得したユーザー情報以外のユーザー情報を含む場合には、前記特定の処理を行い、前記特定の情報に含まれるユーザー情報が、前記第2の取得手段で取得したユーザー情報以外のユーザー情報を含まない場合には、前記特定の処理を行わないように制御することを特徴とする請求項1に記載の情報処理装置。
【請求項5】
前記制御手段は、前記特定の情報に含まれるユーザー情報が、前記第2の取得手段で取得したユーザー情報以外のユーザー情報を含む場合には、前記印刷装置に対して、前記第2の取得手段で取得したユーザー情報及び認証情報が設定された印刷ジョブを送信するように制御し、前記特定の情報に含まれるユーザー情報が、前記第2の取得手段で取得したユーザー情報以外のユーザー情報を含まない場合には、前記印刷装置に対して、前記第2の取得手段で取得したユーザー情報が設定され、かつ、認証情報が設定されていない印刷ジョブを送信するように制御することを特徴とする請求項4に記載の情報処理装置。
【請求項6】
前記特定の情報は、印刷ジョブ履歴であることを特徴とする請求項5に記載の情報処理装置。
【請求項7】
前記ユーザー情報は、ログインユーザー名であることを特徴とする請求項4に記載の情報処理装置。
【請求項8】
前記情報処理装置への接続先情報を取得する第2の取得手段をさらに有し、
前記特定の情報は、前記印刷装置を使ったことがある接続先情報を含み、
前記制御手段は、前記特定の情報に含まれる接続先情報の中で、前記第2の取得手段で取得した接続先情報以外の接続先情報の少なくともいずれかがオンライン状態である場合には、前記特定の処理を行い、前記特定の情報に含まれる接続先情報の中で、前記第2の取得手段で取得した接続先情報以外の接続先情報のすべてがオフライン状態である場合には、前記特定の処理を行わないように制御することを特徴とする請求項1に記載の情報処理装置。
【請求項9】
前記制御手段は、前記特定の情報に含まれる接続先情報の中で、前記第2の取得手段で取得した接続先情報以外の接続先情報の少なくともいずれかがオンライン状態である場合には、前記印刷装置に対して、認証情報が設定された印刷ジョブを送信するように制御し、前記特定の情報に含まれる接続先情報の中で、前記第2の取得手段で取得した接続先情報以外の接続先情報のすべてがオフライン状態である場合には、前記印刷装置に対して、認証情報が設定されていない印刷ジョブを送信するように制御することを特徴とする請求項8に記載の情報処理装置。
【請求項10】
前記制御手段は、前記特定の情報に含まれる接続先情報の中で、前記第2の取得手段で取得した接続先情報以外の接続先情報の少なくともいずれかへの送信に対する応答があった場合には、前記特定の処理を行い、前記特定の情報に含まれる接続先情報の中で、前記第2の取得手段で取得した接続先情報以外の接続先情報のすべてへの送信に対する応答がなかった場合には、前記特定の処理を行わないように制御することを特徴とする請求項8に記載の情報処理装置。
(【請求項11】以降は省略されています)
発明の詳細な説明
【技術分野】
【0001】
本発明は、情報処理装置、情報処理装置の制御方法、印刷システム、プログラム及び記憶媒体に関する。
続きを表示(約 1,200 文字)
【背景技術】
【0002】
一般的に、印刷装置で印刷される文書等には、機密性を有するものが含まれていることがある。このような機密性を有する文書等が不用意に漏洩しないように、印刷時に印刷ジョブの認証を行うことによって、他者に機密文章等が持ち去られることを防止する技術(留め置き印刷)が知られている。
【0003】
留め置き印刷の認証方法としては、印刷アプリケーションによりID及びPINといった認証情報を設定した状態で印刷ジョブを印刷装置に送信し、印刷者が印刷時に印刷装置の操作パネル上に認証情報を入力する。その入力された認証情報が印刷ジョブに付加された認証情報と一致するか否かに応じて、印刷の可否を判定している。
【0004】
このような留め置き印刷において、ユーザーから印刷の実行指示があるまで、印刷ジョブを印刷装置に保存するという留め置き設定が行われている場合、受信した印刷ジョブは印刷装置で一旦留め置かれることとなる。すると、印刷装置で印刷が開始されるまでに時間がかかってしまう。
【0005】
そこで、特許文献1には、リモート印刷において認証情報を入力することなく印刷装置から別の印刷装置に印刷ジョブを送信し、印刷を指示することで印刷ジョブが印刷されるまでの時間を短縮する技術が開示されている。
【先行技術文献】
【特許文献】
【0006】
特開2021-3875号公報
【発明の概要】
【発明が解決しようとする課題】
【0007】
しかし、個人のみで使用している印刷装置に印刷する場合は、時間が短縮になってよいが、共用で使用されている印刷装置に印刷する場合は、他者に持ち去られてしまうリスクがあり、セキュリティが担保されていない。
【0008】
そこで、本発明は、印刷指示する際に、認証処理に基づく印刷を行わせるか否かを制御できるようにすることを目的とする。
【課題を解決するための手段】
【0009】
情報処理装置は、印刷装置と通信可能な情報処理装置であって、前記印刷装置から、他のユーザーが前記印刷装置を使ったことがあるか否かを示す特定の情報を取得する第1の取得手段と、当該情報処理装置から前記印刷装置に印刷指示する際に、前記第1の取得手段で取得した前記特定の情報に基づき、他のユーザーが使ったことがない印刷装置であれば、前記印刷装置における認証処理で認証されたことに基づいて印刷が行われる第1の方式の印刷処理を促す特定の処理を行わず、他のユーザーが使ったことがある印刷装置であれば、前記特定の処理を行うように制御する制御手段とを有する。
【発明の効果】
【0010】
本発明によれば、印刷指示する際に、認証処理に基づく印刷を行わせるか否かを制御することができる。
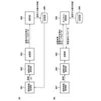
【図面の簡単な説明】
(【0011】以降は省略されています)
この特許をJ-PlatPat(特許庁公式サイト)で参照する
関連特許
キヤノン株式会社
撮像装置
1日前
キヤノン株式会社
発光装置
1日前
キヤノン株式会社
表示装置
1日前
キヤノン株式会社
表示装置
1日前
キヤノン株式会社
撮像装置
1日前
キヤノン株式会社
表示装置
1日前
キヤノン株式会社
画像形成装置
2日前
キヤノン株式会社
二成分現像剤
1日前
キヤノン株式会社
画像形成装置
1日前
キヤノン株式会社
検査システム
1日前
キヤノン株式会社
インク補充用パウチ
1日前
キヤノン株式会社
発光装置及び測距装置
1日前
キヤノン株式会社
発光装置及び測距装置
1日前
キヤノン株式会社
記録装置及びその制御方法
1日前
キヤノン株式会社
ズームレンズ及び撮像装置
1日前
キヤノン株式会社
撮像装置およびその制御方法
2日前
キヤノン株式会社
ポリマー電解質及び二次電池
1日前
キヤノン株式会社
ズームレンズおよび撮像装置
1日前
キヤノン株式会社
画像処理装置、画像処理方法
1日前
キヤノン株式会社
撮像装置、撮像装置の制御方法
1日前
キヤノン株式会社
レンズ駆動装置および光学機器
1日前
キヤノン株式会社
画像読取装置及び画像形成装置
1日前
キヤノン株式会社
走査光学装置及び画像形成装置
1日前
キヤノン株式会社
情報処理装置およびその制御方法
1日前
キヤノン株式会社
シート給送装置及び画像形成装置
1日前
キヤノン株式会社
画像処理装置、及び画像処理方法
1日前
キヤノン株式会社
情報処理装置およびその制御方法
1日前
キヤノン株式会社
画像読取装置、及び画像形成装置
2日前
キヤノン株式会社
インクパック、及び、液体吐出装置
2日前
キヤノン株式会社
撮像装置の制御方法および撮像装置
1日前
キヤノン株式会社
姿勢調整機構及び画像処理システム
1日前
キヤノン株式会社
インク収容容器及びインク吐出装置
2日前
キヤノン株式会社
インク補給容器及びその再製造方法
2日前
キヤノン株式会社
撮像装置、プログラム、及び撮像方法
2日前
キヤノン株式会社
撮像装置、制御方法およびプログラム
2日前
キヤノン株式会社
接合装置、接合方法及び物品の製造方法
1日前
続きを見る
他の特許を見る