TOP
|
特許
|
意匠
|
商標
特許ウォッチ
Twitter
他の特許を見る
公開番号
2025177665
公報種別
公開特許公報(A)
公開日
2025-12-05
出願番号
2024084698
出願日
2024-05-24
発明の名称
情報処理装置
出願人
キヤノン株式会社
代理人
弁理士法人秀和特許事務所
主分類
G06T
3/00 20240101AFI20251128BHJP(計算;計数)
要約
【課題】グラデーション処理によって境界部を目立たなくすることができ、且つ、境界部が目立たない場合のグラデーション処理による画像の輝度の変化を抑制することができる技術を提供する。
【解決手段】本発明の情報処理装置は、左目用の画像である第1の画像と、右目用の画像であり且つ一部が第1の画像の一部に対応する画像である第2の画像とを取得する第1取得手段と、ユーザーが見ているオブジェクトの情報を取得する第2取得手段と、第1の画像と第2の画像とのそれぞれに対して行うグラデーション処理を決定する決定手段とを有し、決定手段は、第1の画像と第2の画像とのそれぞれにおいてオブジェクトの領域が特定の範囲に収まっていない場合に、第1の画像と第2の画像とのそれぞれにおいてオブジェクトの領域が特定の範囲に収まっている場合よりも高い強度のグラデーション処理を決定することを特徴とする。
【選択図】図5
特許請求の範囲
【請求項1】
左目用の画像である第1の画像と、右目用の画像であり且つ一部が前記第1の画像の一部に対応する画像である第2の画像とを取得する第1取得手段と、
ユーザーが見ているオブジェクトの情報を取得する第2取得手段と、
前記第1の画像と前記第2の画像とのそれぞれに対して行うグラデーション処理を決定する決定手段と
を有し、
前記決定手段は、前記第1の画像と前記第2の画像とのそれぞれにおいて前記オブジェクトの領域が特定の範囲に収まっていない場合に、前記第1の画像と前記第2の画像とのそれぞれにおいて前記オブジェクトの領域が前記特定の範囲に収まっている場合よりも高い強度のグラデーション処理を決定する
ことを特徴とする情報処理装置。
続きを表示(約 1,500 文字)
【請求項2】
前記ユーザーの視線の情報を取得する第3取得手段
をさらに有し、
前記第2取得手段は、前記視線の情報に基づいて、前記オブジェクトの情報を取得することを特徴とする請求項1に記載の情報処理装置。
【請求項3】
前記第2取得手段は、前記視線の情報に基づいて、3次元空間における前記オブジェクトの位置およびサイズの情報を取得し、
前記決定手段は、前記オブジェクトの位置およびサイズに基づいて前記グラデーション処理を決定する
ことを特徴とする請求項2に記載の情報処理装置。
【請求項4】
前記第1の画像における前記特定の範囲は、前記第2の画像の一部に対応する前記第1の画像の一部における、左端からの距離と右端からの距離とが閾値よりも長い範囲であり、
前記第2の画像における前記特定の範囲は、前記第1の画像の一部に対応する前記第2の画像の一部における、左端からの距離と右端からの距離とが前記閾値よりも長い範囲である
ことを特徴とする請求項1に記載の情報処理装置。
【請求項5】
互いに対応する前記第1の画像の一部と前記第2の画像の一部とは、立体視可能な部分である
ことを特徴とする請求項1に記載の情報処理装置。
【請求項6】
前記決定手段は、
前記第2の画像の一部に対応する前記第1の画像の一部の左端と右端の少なくとも一方から、内側に向かって輝度を徐々に変化させる前記第1の画像のグラデーション処理と、
前記第1の画像の一部に対応する前記第2の画像の一部の左端と右端の少なくとも一方から、内側に向かって輝度を徐々に変化させる前記第2の画像のグラデーション処理との少なくとも一方を決定する
ことを特徴とする請求項1に記載の情報処理装置。
【請求項7】
前記決定手段は、
前記第1の画像と前記第2の画像とのそれぞれにおいて前記オブジェクトの領域が前記特定の範囲に収まっている場合には、前記グラデーション処理を行わないことを決定し、
前記第1の画像と前記第2の画像とのそれぞれにおいて前記オブジェクトの領域が前記特定の範囲に収まっていない場合に、前記グラデーション処理を行うことを決定する
ことを特徴とする請求項1に記載の情報処理装置。
【請求項8】
前記決定手段は、前記オブジェクトの領域と前記特定の範囲との関係に依って、
前記グラデーション処理を行う領域、
前記グラデーション処理で付与するグラデーションの輝度範囲、および
前記グラデーションにおける輝度変化パターン
の少なくともいずれかが異なるグラデーション処理を決定する
ことを特徴とする請求項1に記載の情報処理装置。
【請求項9】
前記第1の画像と前記第2の画像との少なくとも一方の輝度の情報を取得する第4取得手段
をさらに有し、
前記決定手段は、前記輝度が高い場合に、前記輝度が低い場合よりも狭い範囲を、前記特定の範囲として用いる
ことを特徴とする請求項1に記載の情報処理装置。
【請求項10】
前記決定手段によって決定された強度で、前記第1の画像と前記第2の画像とのそれぞれに対して前記グラデーション処理を行う処理手段
をさらに有する
ことを特徴とする請求項1に記載の情報処理装置。
(【請求項11】以降は省略されています)
発明の詳細な説明
【技術分野】
【0001】
本発明は、情報処理装置に関する。
続きを表示(約 1,900 文字)
【背景技術】
【0002】
現実世界と仮想世界をリアルタイムかつシームレスに融合させる技術としてMR(Mixed Reality)技術が知られている。MR技術として、HMD(Head Mounted Display)の正面の現実空間(被写体)をビデオカメラで撮像し、現実空間の画像にCG(Computer Graphics)を重畳したMR画像をユーザーに対して提示(表示)する技術が知られている。このようなHMDは、ビデオシースルー型HMDと呼ばれる。
【0003】
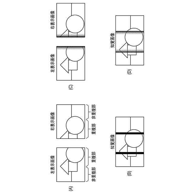
HMDでは、ユーザーが高い臨場感を得られるように、広い範囲(画角)の画像が視認可能であることが望ましい。以下の条件を満たす左目用の画像(左画像)と右目用の画像(右画像)を用いれば、広い範囲の画像が視認可能となる。
・左画像における右側(HMDを装着したユーザーの鼻側)の画像領域と、右画像における左側(HMDを装着したユーザーの鼻側)の画像領域とが、互いに対応する重複部である。
・左画像における左側(HMDを装着したユーザーの左耳側)の画像領域と、右画像における右側(HMDを装着した右耳側)の画像領域とが、どの領域とも対応しない非重複部である。
【0004】
上述した条件を満たす左画像と右画像を表示すると、左画像の非重複部は左目でしか視認されず、当該重複部について右目では表示部の枠といった黒部が視認される。同様に、右画像の非重複部は右目でしか視認されず、当該重複部について左目では黒部が視認される。これらによって、左目と右目の視野闘争が生じる。そして、視野闘争によって非重複部と重複部の境界部が目立ち、ユーザーは自然な観察を行えない。
【0005】
特許文献1には、画像の端近傍の輝度値群に基づいて、グラデーション処理を行う領域決定する技術が開示されている。特許文献2には、表示時間に基づいてグラデーション処理を行う技術が開示されている。
【先行技術文献】
【特許文献】
【0006】
特開2017-215688号公報
特開2017-156513号公報
【発明の概要】
【発明が解決しようとする課題】
【0007】
しかしながら、境界部は常に目立つというわけではない。特許文献1,2に開示の技術では、境界部が目立たない場合にもグラデーション処理が行われる。グラデーション処理を行うと、画像の輝度が変わる。そして、不要な処理(例えば、境界部が目立たない場合のグラデーション処理)によって画像の輝度が変わるのは好ましくない。
【0008】
本発明は、グラデーション処理によって境界部を目立たなくすることができ、且つ、境界部が目立たない場合のグラデーション処理による画像の輝度の変化を抑制することができる技術を提供することを目的とする。
【課題を解決するための手段】
【0009】
本発明の第1の態様は、左目用の画像である第1の画像と、右目用の画像であり且つ一部が前記第1の画像の一部に対応する画像である第2の画像とを取得する第1取得手段と、ユーザーが見ているオブジェクトの情報を取得する第2取得手段と、前記第1の画像と前記第2の画像とのそれぞれに対して行うグラデーション処理を決定する決定手段とを有し、前記決定手段は、前記第1の画像と前記第2の画像とのそれぞれにおいて前記オブジェクトの領域が特定の範囲に収まっていない場合に、前記第1の画像と前記第2の画像とのそれぞれにおいて前記オブジェクトの領域が前記特定の範囲に収まっている場合よりも高い強度のグラデーション処理を決定することを特徴とする情報処理装置である。
【0010】
本発明の第2の態様は、左目用の画像である第1の画像と、右目用の画像であり且つ一部が前記第1の画像の一部に対応する画像である第2の画像とを取得する第1取得ステップと、ユーザーが見ているオブジェクトの情報を取得する第2取得ステップと、前記第1の画像と前記第2の画像とのそれぞれに対して行うグラデーション処理を決定する決定ステップとを有し、前記決定ステップでは、前記第1の画像と前記第2の画像とのそれぞれにおいて前記オブジェクトの領域が特定の範囲に収まっていない場合に、前記第1の画像と前記第2の画像とのそれぞれにおいて前記オブジェクトの領域が前記特定の範囲に収まっている場合よりも高い強度のグラデーション処理を決定することを特徴とする情報処理装置の制御方法である。
(【0011】以降は省略されています)
この特許をJ-PlatPat(特許庁公式サイト)で参照する
関連特許
キヤノン株式会社
容器
1か月前
キヤノン株式会社
容器
1か月前
キヤノン株式会社
トナー
1か月前
キヤノン株式会社
トナー
1か月前
キヤノン株式会社
トナー
28日前
キヤノン株式会社
トナー
1か月前
キヤノン株式会社
トナー
1か月前
キヤノン株式会社
記録装置
1か月前
キヤノン株式会社
定着装置
21日前
キヤノン株式会社
記録装置
1日前
キヤノン株式会社
表示装置
1か月前
キヤノン株式会社
表示装置
7日前
キヤノン株式会社
発光装置
7日前
キヤノン株式会社
撮像装置
7日前
キヤノン株式会社
撮像装置
今日
キヤノン株式会社
撮像装置
28日前
キヤノン株式会社
現像容器
1か月前
キヤノン株式会社
測距装置
1か月前
キヤノン株式会社
定着装置
15日前
キヤノン株式会社
撮像装置
9日前
キヤノン株式会社
定着装置
1か月前
キヤノン株式会社
測距装置
1か月前
キヤノン株式会社
撮像装置
今日
キヤノン株式会社
撮像装置
今日
キヤノン株式会社
撮像装置
今日
キヤノン株式会社
現像装置
1か月前
キヤノン株式会社
記録装置
1日前
キヤノン株式会社
記録装置
21日前
キヤノン株式会社
撮像装置
1か月前
キヤノン株式会社
定着装置
21日前
キヤノン株式会社
表示装置
今日
キヤノン株式会社
撮像装置
今日
キヤノン株式会社
雲台装置
28日前
キヤノン株式会社
電子機器
28日前
キヤノン株式会社
記録装置
28日前
キヤノン株式会社
撮像装置
1か月前
続きを見る
他の特許を見る