TOP
|
特許
|
意匠
|
商標
特許ウォッチ
Twitter
他の特許を見る
10個以上の画像は省略されています。
公開番号
2025169822
公報種別
公開特許公報(A)
公開日
2025-11-14
出願番号
2024074991
出願日
2024-05-02
発明の名称
画像形成装置
出願人
キヤノン株式会社
代理人
弁理士法人近島国際特許事務所
主分類
G03G
15/08 20060101AFI20251107BHJP(写真;映画;光波以外の波を使用する類似技術;電子写真;ホログラフイ)
要約
【課題】簡素な構成で、支持部材が第1位置に移動されたこと及び支持部材が第2位置に移動されたことを検知する。
【解決手段】ロータリと、トナーカートリッジと、支持部材と、駆動源と、移動部材とセンサ部とを含む検知機構と、制御部と、を備え、支持部材が第1位置にある場合、及び、支持部材が第2位置にある場合に、センサ部が第1検知状態になり、支持部材が第1位置及び第2位置のいずれか一方から他方に向かって移動されている間は、センサ部が第2検知状態になるように、検知機構は構成されており、制御部は、駆動源による支持部材の移動方向が第1方向であり且つセンサ部が第1検知状態である場合に、支持部材が第2位置に移動されたと判断し、駆動源による支持部材の移動方向が第2方向であり且つセンサ部が第1検知状態である場合に、支持部材が第1位置に移動されたと判断する、画像形成装置。
【選択図】図12
特許請求の範囲
【請求項1】
画像形成装置であって、
現像ローラと、前記現像ローラに供給するためのトナーを収容する収容部と、を有し、回転可能なロータリと、
前記トナーを収容し、前記ロータリに着脱されるトナーカートリッジと、
前記ロータリに取り付けられ、前記トナーカートリッジを支持する支持部材であって、前記トナーカートリッジから前記収容部へトナーが補給されることを許容する第1位置と、前記ロータリに対する前記トナーカートリッジの着脱を許容する第2位置と、に移動可能な支持部材と、
前記支持部材を前記第1位置から前記第2位置に向かう第1方向に移動させ、前記支持部材を前記第2位置から前記第1位置に向かう第2方向に移動させるように構成された駆動源と、
前記駆動源による前記支持部材の移動に連動して移動するように構成された移動部材と、前記移動部材の位置に応じた信号を出力するセンサ部と、を含む検知機構と、
前記センサ部から信号を受信し、前記駆動源を制御する制御部と、
を備え、
前記支持部材が前記第1位置にある場合、及び、前記支持部材が前記第2位置にある場合に、前記センサ部が第1検知状態になり、前記支持部材が前記第1位置及び前記第2位置のいずれか一方から他方に向かって移動されている間は、前記センサ部が前記第1検知状態とは異なる第2検知状態になるように、前記検知機構は構成されており、
前記制御部は、
前記駆動源による前記支持部材の移動方向が前記第1方向であり且つ前記センサ部が前記第1検知状態である場合に、前記支持部材が前記第2位置に移動されたと判断し、
前記駆動源による前記支持部材の移動方向が前記第2方向であり且つ前記センサ部が前記第1検知状態である場合に、前記支持部材が前記第1位置に移動されたと判断する、
ことを特徴とする画像形成装置。
続きを表示(約 1,900 文字)
【請求項2】
伝達装置と、
前記伝達装置から伝達された前記駆動源の駆動力により前記支持部材を移動させる移動装置と、
を更に備え、
前記移動部材は、前記伝達装置と連結され、前記駆動力を受けて移動するように構成されている、
ことを特徴とする請求項1に記載の画像形成装置。
【請求項3】
前記伝達装置は、前記駆動力を前記ロータリに伝達するように構成され、
前記移動装置は、前記ロータリに備えられている、
ことを特徴とする請求項2に記載の画像形成装置。
【請求項4】
前記移動装置は、第1被駆動部と、第2被駆動部と、を有し、
前記伝達装置は、
前記ロータリの回転軸線方向において前記ロータリの一端側に配置され、前記第1被駆動部に前記駆動力を伝達する第1駆動部材と、
前記回転軸線方向において前記ロータリの他端側に配置され、前記第2被駆動部に前記駆動力を伝達する第2駆動部材と、
前記回転軸線方向に沿った方向に往復移動するように構成され、前記駆動源から前記第2駆動部材に向けて前記駆動力を伝達する伝達部材と、を有し、
前記移動部材は、前記伝達部材と連結されている、
ことを特徴とする請求項3に記載の画像形成装置。
【請求項5】
前記移動部材は、前記回転軸線方向に沿った方向に往復移動するように構成されている、
ことを特徴とする請求項4に記載の画像形成装置。
【請求項6】
前記伝達部材と前記移動部材とを連結する連結機構を更に備え、
前記連結機構は、前記伝達部材の移動量に比べて前記移動部材の移動量が大きくなるように構成されている、
ことを特徴とする請求項5に記載の画像形成装置。
【請求項7】
前記伝達装置は、前記駆動力を伝達するギアを有し、
前記移動部材は、前記ギアと連結されている、
ことを特徴とする請求項2に記載の画像形成装置。
【請求項8】
伝達装置と、
前記伝達装置から伝達された前記駆動源の駆動力により前記支持部材を移動させる移動装置と、
を更に備え、
前記移動部材は、前記伝達装置の一部である、
ことを特徴とする請求項1に記載の画像形成装置。
【請求項9】
第2トナーカートリッジと、
前記ロータリに取り付けられ、前記第2トナーカートリッジを支持し、前記駆動源により第3位置と第4位置との間で移動されるように構成された第2支持部材と、
を更に備え、
前記移動部材は、前記第2支持部材が前記第3位置と前記第4位置との間で移動される場合には前記第2支持部材と連動して移動するように構成され、
前記第2支持部材が前記第3位置にある場合、及び、前記第2支持部材が前記第4位置にある場合に、前記センサ部が第1検知状態になり、前記第2支持部材が前記第3位置及び前記第4位置のいずれか一方から他方に向かって移動してされている間は、前記センサ部が前記第2検知状態になるように、前記検知機構は構成されており、
前記制御部は、
前記駆動源による前記第2支持部材の移動方向が前記第3位置から前記第4位置に向かう方向であり且つ前記センサ部が前記第1検知状態である場合に、前記第2支持部材が前記第4位置に移動されたと判断し、
前記駆動源による前記第2支持部材の移動方向が前記第4位置から前記第3位置に向かう方向であり且つ前記センサ部が前記第1検知状態である場合に、前記第2支持部材が前記第3位置に移動されたと判断する、
ことを特徴とする請求項1から8のいずれか1項に記載の画像形成装置。
【請求項10】
前記第2トナーカートリッジの容量は、前記トナーカートリッジの容量よりも大きく、
前記第3位置から前記第4位置までの前記第2トナーカートリッジの移動距離は、前記第1位置から前記第2位置までの前記トナーカートリッジの移動距離よりも大きく、
前記第2トナーカートリッジが前記第3位置から前記第4位置まで移動する間の前記移動部材の移動距離は、前記トナーカートリッジが前記第1位置から前記第2位置まで移動する間の前記移動部材の移動距離と等しい、
ことを特徴とする請求項9に記載の画像形成装置。
(【請求項11】以降は省略されています)
発明の詳細な説明
【技術分野】
【0001】
本発明は、記録材に画像を形成する画像形成装置に関する。
続きを表示(約 2,200 文字)
【背景技術】
【0002】
特許文献1には、複数の現像ローラを備えたロータリを回転させることでカラー画像を形成するロータリ現像方式の画像形成装置が記載されている。特許文献2には、ロータリに対して互いに異なる色のトナーを収容する4つのトナーカートリッジを着脱可能なロータリ現像方式の画像形成装置が記載されている。
【先行技術文献】
【特許文献】
【0003】
特開2007-183305号公報
特開2008-096852号公報
【発明の概要】
【発明が解決しようとする課題】
【0004】
トナーカートリッジを支持する支持部材をロータリに取り付け、支持部材を第1位置と第2位置との間で移動な構成とすることが考えられる。この場合において、支持部材が第1位置にあることを検知するセンサと支持部材が第2位置にあることを検知するセンサとを別々に配置すると、コストアップにつながる。
【0005】
そこで、本発明は、簡素な構成で、支持部材が第1位置に移動されたこと及び支持部材が第2位置に移動されたことを検知可能な画像形成装置を提供することを目的とする。
【課題を解決するための手段】
【0006】
本発明の一態様は、画像形成装置であって、現像ローラと、前記現像ローラに供給するためのトナーを収容する収容部と、を有し、回転可能なロータリと、前記トナーを収容し、前記ロータリに着脱されるトナーカートリッジと、前記ロータリに取り付けられ、前記トナーカートリッジを支持する支持部材であって、前記トナーカートリッジから前記収容部へトナーが補給されることを許容する第1位置と、前記ロータリに対する前記トナーカートリッジの着脱を許容する第2位置と、に移動可能な支持部材と、前記支持部材を前記第1位置から前記第2位置に向かう第1方向に移動させ、前記支持部材を前記第2位置から前記第1位置に向かう第2方向に移動させるように構成された駆動源と、前記駆動源による前記支持部材の移動に連動して移動するように構成された移動部材と、前記移動部材の位置に応じた信号を出力するセンサ部と、を含む検知機構と、前記センサ部から信号を受信し、前記駆動源を制御する制御部と、を備え、前記支持部材が前記第1位置にある場合、及び、前記支持部材が前記第2位置にある場合に、前記センサ部が第1検知状態になり、前記支持部材が前記第1位置及び前記第2位置のいずれか一方から他方に向かって移動されている間は、前記センサ部が前記第1検知状態とは異なる第2検知状態になるように、前記検知機構は構成されており、前記制御部は、前記駆動源による前記支持部材の移動方向が前記第1方向であり且つ前記センサ部が前記第1検知状態である場合に、前記支持部材が前記第2位置に移動されたと判断し、前記駆動源による前記支持部材の移動方向が前記第2方向であり且つ前記センサ部が前記第1検知状態である場合に、前記支持部材が前記第1位置に移動されたと判断する、ことを特徴とする画像形成装置である。
【発明の効果】
【0007】
本発明によれば、簡素な構成で、支持部材が第1位置に移動されたこと及び支持部材が第2位置に移動されたことを検知可能な画像形成装置を提供することができる。
【図面の簡単な説明】
【0008】
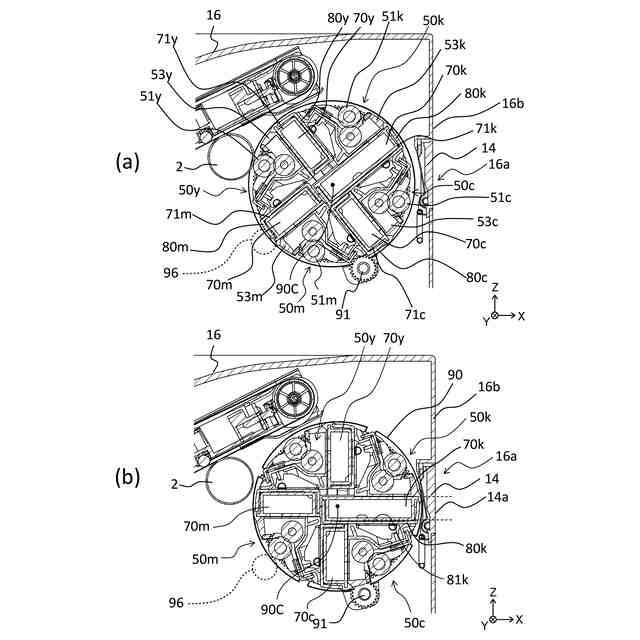
実施例1に係る画像形成装置の概略図。
実施例1に係る画像形成装置の構成図。
実施例1に係る現像ユニット、トナーカートリッジ及びトレイの模式図。
実施例1に係る画像形成装置の断面図(a、b)。
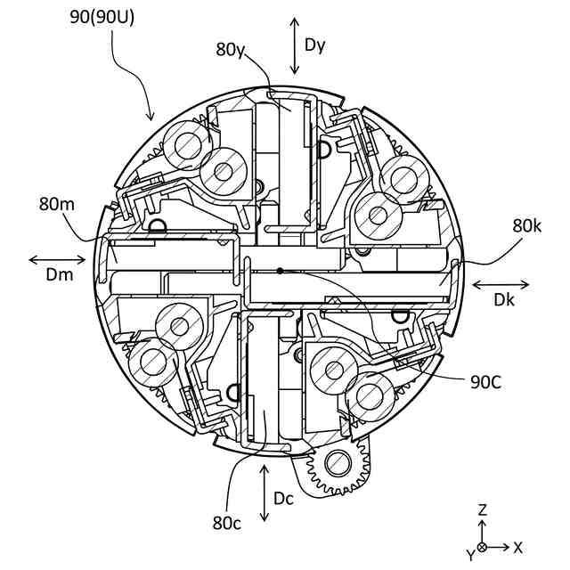
実施例1に係るロータリ本体の斜視図。
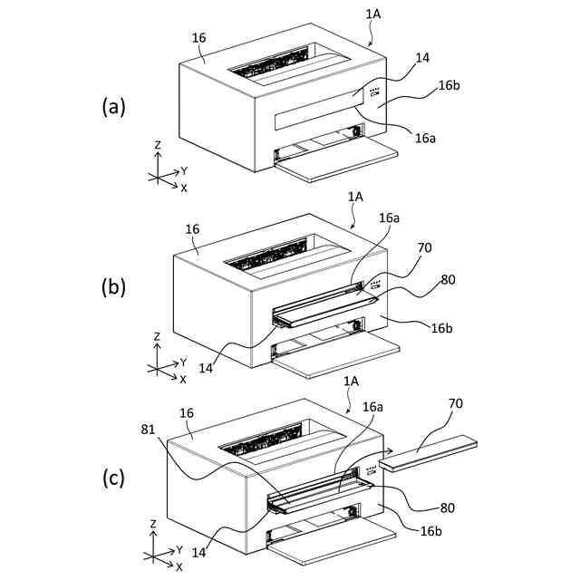
実施例1に係る画像形成装置の斜視図(a~c)。
実施例1に係る画像形成装置の断面図(a、b)。
実施例1に係るロータリ本体の説明図。
実施例1に係るロータリ本体の説明図。
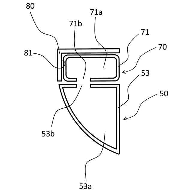
実施例1に係るトレイの移動に関する構成の説明図(a、b)。
実施例1に係るトレイの移動に関する構成の説明図(a、b)。
実施例1に係るトレイ位置検知機構の説明図(a~c)。
実施例2に係るトレイ位置検知機構の説明図。
実施例3に係るトレイ位置検知機構の説明図。
実施例4に係るトレイ位置検知機構の説明図(a~d)。
【発明を実施するための形態】
【0009】
以下、本開示に係る実施形態について、図面を参照しながら説明する。
【0010】
《実施例1》
図1~図12(a~c)を用いて、実施例1に係る画像形成装置1について説明する。以下の説明及び各図面において、画像形成装置1が水平面に設置された場合の鉛直方向をZ方向とする。Z方向と交差する方向であって、後述するロータリ本体90の回転軸線90Cの方向(ロータリの回転軸線方向)をY方向とする。Z方向及びY方向の双方と交差する方向をX方向とする。X方向及びY方向は、好ましくは水平方向である。また、X方向、Y方向、Z方向は、好ましくは互いに直交する。また、必要に応じ、各図面に図示した矢印X、Y、Zの方向をそれぞれ+X側、+Y側、+Z側と表し、その反対側をそれぞれ-X側、-Y側、-Z側と表す。
(【0011】以降は省略されています)
この特許をJ-PlatPat(特許庁公式サイト)で参照する
関連特許
キヤノン株式会社
容器
1か月前
キヤノン株式会社
容器
1か月前
キヤノン株式会社
トナー
1か月前
キヤノン株式会社
トナー
2か月前
キヤノン株式会社
トナー
2か月前
キヤノン株式会社
トナー
2か月前
キヤノン株式会社
トナー
1か月前
キヤノン株式会社
測距装置
1か月前
キヤノン株式会社
定着装置
18日前
キヤノン株式会社
撮像装置
18日前
キヤノン株式会社
電子機器
1か月前
キヤノン株式会社
電子機器
1か月前
キヤノン株式会社
記録装置
1か月前
キヤノン株式会社
現像装置
1か月前
キヤノン株式会社
記録装置
4日前
キヤノン株式会社
記録装置
4日前
キヤノン株式会社
撮像装置
3日前
キヤノン株式会社
撮像装置
3日前
キヤノン株式会社
撮像装置
3日前
キヤノン株式会社
雲台装置
1か月前
キヤノン株式会社
撮像装置
18日前
キヤノン株式会社
撮像装置
1か月前
キヤノン株式会社
記録装置
1か月前
キヤノン株式会社
二次電池
5日前
キヤノン株式会社
定着装置
18日前
キヤノン株式会社
撮影装置
1か月前
キヤノン株式会社
記録装置
1か月前
キヤノン株式会社
発光装置
10日前
キヤノン株式会社
測距装置
1か月前
キヤノン株式会社
撮像装置
12日前
キヤノン株式会社
撮像装置
1か月前
キヤノン株式会社
表示装置
10日前
キヤノン株式会社
表示装置
10日前
キヤノン株式会社
撮像装置
10日前
キヤノン株式会社
定着装置
2か月前
キヤノン株式会社
表示装置
10日前
続きを見る
他の特許を見る