TOP
|
特許
|
意匠
|
商標
特許ウォッチ
Twitter
他の特許を見る
10個以上の画像は省略されています。
公開番号
2025170537
公報種別
公開特許公報(A)
公開日
2025-11-19
出願番号
2024075195
出願日
2024-05-07
発明の名称
眼科撮像装置
出願人
キヤノン株式会社
代理人
個人
,
個人
,
個人
,
個人
,
個人
主分類
A61B
3/10 20060101AFI20251112BHJP(医学または獣医学;衛生学)
要約
【課題】 視認性の高い固視灯の提示可能な眼科撮像装置を提供する。
【解決手段】 眼科撮像装置は、被検眼の断層像を取得するための第一の光学系と、前記被検眼の二次元像を取得するための第二の光学系と、前記被検眼との光路を前記第一の光学系と前記第二の光学系に分岐する分岐部材と、を有し、前記第一の光学系は、前記被検眼に可視光を照射するための光源を有する
【選択図】 図1
特許請求の範囲
【請求項1】
被検眼の断層像を取得するための第一の光学系と、
前記被検眼の二次元像を取得するための第二の光学系と、
前記被検眼との光路を前記第一の光学系と前記第二の光学系に分岐する分岐部材と、を有し、
前記第一の光学系は、前記被検眼に可視光を照射するための光源を有することを特徴とする眼科撮像装置。
続きを表示(約 910 文字)
【請求項2】
前記光源は、被検者に固視を促す固視目標を提示するための第一の固視灯光源であることを特徴とする請求項1に記載の眼科撮像装置。
【請求項3】
前記第一の光学系は、前記断層像の取得光と前記第一の固視灯光源の可視光とを合波する光ファイバーを有することを特徴とする請求項2に記載の眼科撮像装置。
【請求項4】
前記第一の固視灯光源は、被検者に提示する前記固視目標の大きさに応じて光出力の大きさが変更されることを特徴とする請求項2に記載の眼科撮像装置。
【請求項5】
前記第一の光学系は、前記断層像の取得にあたって前記被検眼を二次元に走査するための第一の走査部を有し、
前記第一の固視灯光源の可視光は、前記第一の走査部を介して前記被検眼に照射されることを特徴とする請求項2に記載の眼科撮像装置。
【請求項6】
前記第一の走査部は、ガルバノスキャナであることを特徴とする請求項5に記載の眼科撮像装置。
【請求項7】
前記第一の走査部は、被検者に提示する前記固視目標の大きさに応じて走査速度が変更されることを特徴とする請求項5に記載の眼科撮像装置。
【請求項8】
前記第一の光学系は、前記断層像の取得光の光路中に前記第一の固視灯光源の可視光を挿入するか否かを切り替える切替部を有することを特徴とする請求項2に記載の眼科撮像装置。
【請求項9】
前記第一の光学系は、分岐ミラーをさらに有し、
前記切替部は、前記断層像の取得光の光路に対して前記分岐ミラーを挿抜することを特徴とする請求項8に記載の眼科撮像装置。
【請求項10】
前記第二の光学系は、前記二次元像の取得にあたって前記被検眼を二次元に走査する第二の走査部と、前記被検者に固視を促す更なる固視目標を提示するための第二の固視灯光源と、を有し、
前記第二の固視灯光源の可視光は、前記第二の走査部を介して前記被検眼に照射されることを特徴とする請求項2に記載の眼科撮像装置。
(【請求項11】以降は省略されています)
発明の詳細な説明
【技術分野】
【0001】
本発明は、眼科診療等に用いられる眼科撮像装置に関するものである。
続きを表示(約 1,500 文字)
【背景技術】
【0002】
従来、低コヒーレンス光による干渉を利用した光断層画像撮像(Optical Coherence Tomography:OCT)の眼科装置が知られている。また、レーザ走査により被検眼の眼底を撮影する走査レーザ検眼鏡(SLO:Scanning Laser Ophthalmoscope)の眼科装置が知られている。昨今ではこれらの眼科撮像装置特徴を兼ね備えた複合機が登場してきている。
【0003】
こうした眼科撮像装置では、被検眼の視線を安定させるために、固視目標(固視灯)を提示する仕組みが採用されている。特許文献1では、固視目標を提示するための手法として、撮影光をスキャンするフレームと固視灯をスキャンするフレームを分ける技術を開示している。
【先行技術文献】
【特許文献】
【0004】
特開2022-25446号公報
【発明の概要】
【発明が解決しようとする課題】
【0005】
しかしながら、特許文献1の眼科撮像装置は、固視灯の視認性向上と撮影時間の抑制を両立するうえで改善の余地がある。なぜならば、撮影光をスキャンするフレームと固視灯をスキャンするフレームを分けた場合、固視灯をスキャンするフレームの割合を減らすと固視灯の視認性が下がり、固視灯をスキャンするフレームの割合を増やすと全体の撮影時間が長くなってしまうからである。
【0006】
本発明は、視認性の高い固視灯の提示可能な眼科撮像装置を提供することを目的とする。
【課題を解決するための手段】
【0007】
本発明の眼科撮像装置は、被検眼の断層像を取得するための第一の光学系と、前記被検眼の二次元像を取得するための第二の光学系と、前記被検眼との光路を前記第一の光学系と前記第二の光学系に分岐する分岐部材と、を有し、前記第一の光学系は、前記被検眼に可視光を照射するための光源を有することを特徴とするものである。
【発明の効果】
【0008】
本発明によれば、視認性の高い固視灯の提示可能な眼科撮像装置を提供できる。
【図面の簡単な説明】
【0009】
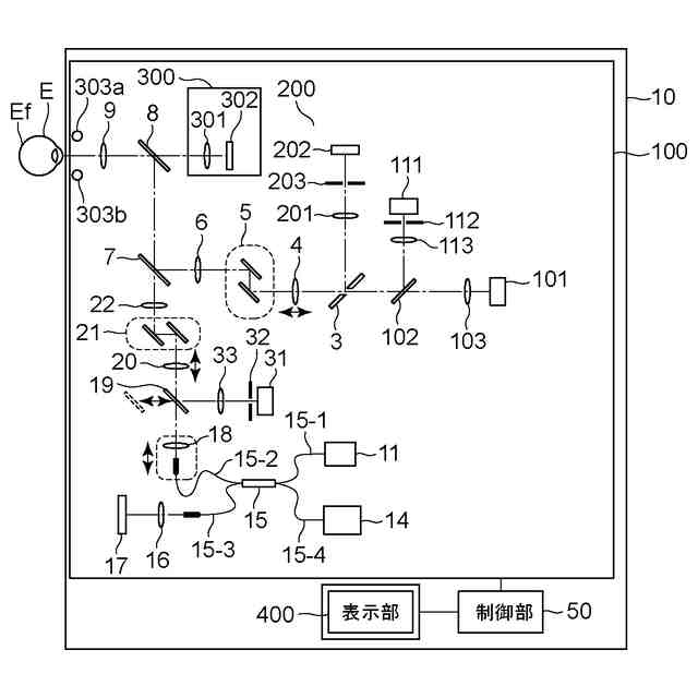
眼科撮像装置の光学構成の一例を示した図である。
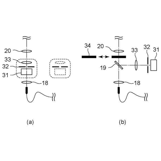
図2(a)は第一の固視灯の構成を示した図である。図2(b)は第一の固視灯の構成の変形例を示した図である。
制御部の構成を示した図である。
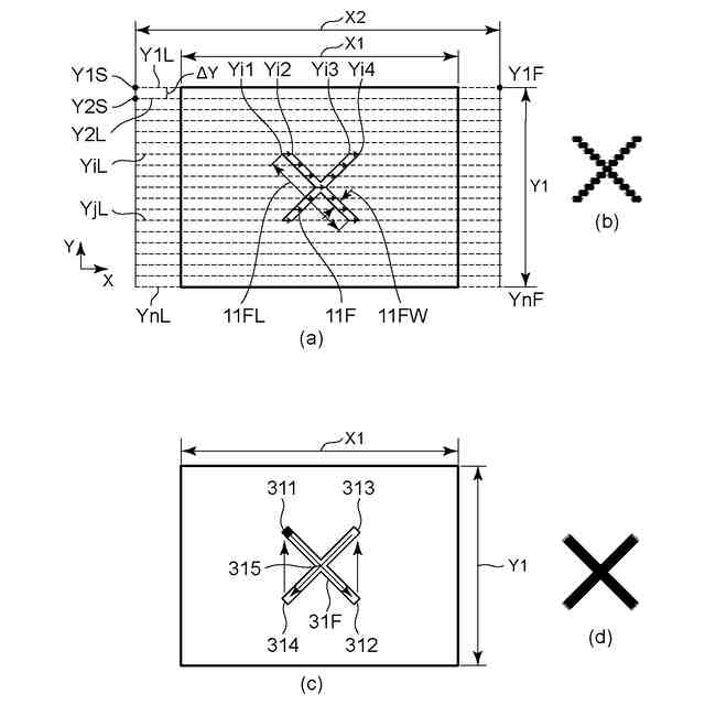
図4(a)は固視灯の走査を示した図である。図4(b)は固視灯を示した図である。図4(c)は固視灯の走査例の変形例を示した図である。図4(d)は固視灯の変形例を示した図である。
図5(a)は固視灯の走査を示した図である。図5(b)は固視灯の走査を示した図である。図5(c)は固視灯の走査を示した図である。
表示部の様子を示した図である。
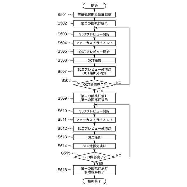
動作フローを示したフローチャートである。
眼科撮像装置の光学構成を示した図である。
第一の固視灯の走査例を示した図である。
動作フローを示したフローチャートである。
図11(a)は断層像を示す図である。図11(b)は二次元像を示す図である。図11(c)は断層像を示す図である。図11(d)は二次元像を示す図である。
【発明を実施するための形態】
【0010】
本発明を実施するための形態について実施例を挙げ、図面を参照して詳細に説明する。
(【0011】以降は省略されています)
この特許をJ-PlatPat(特許庁公式サイト)で参照する
関連特許
キヤノン株式会社
容器
20日前
キヤノン株式会社
容器
26日前
キヤノン株式会社
トナー
29日前
キヤノン株式会社
トナー
1か月前
キヤノン株式会社
トナー
1か月前
キヤノン株式会社
トナー
1か月前
キヤノン株式会社
トナー
1か月前
キヤノン株式会社
トナー
12日前
キヤノン株式会社
現像容器
1か月前
キヤノン株式会社
撮像装置
26日前
キヤノン株式会社
撮像装置
26日前
キヤノン株式会社
撮像装置
26日前
キヤノン株式会社
撮像装置
13日前
キヤノン株式会社
現像容器
1か月前
キヤノン株式会社
現像装置
1か月前
キヤノン株式会社
定着装置
5日前
キヤノン株式会社
現像装置
1か月前
キヤノン株式会社
定着装置
5日前
キヤノン株式会社
記録装置
26日前
キヤノン株式会社
電子機器
12日前
キヤノン株式会社
記録装置
5日前
キヤノン株式会社
撮像装置
1か月前
キヤノン株式会社
測距装置
1か月前
キヤノン株式会社
記録装置
12日前
キヤノン株式会社
現像装置
1か月前
キヤノン株式会社
撮像装置
1か月前
キヤノン株式会社
記録装置
12日前
キヤノン株式会社
電子機器
12日前
キヤノン株式会社
記録装置
1か月前
キヤノン株式会社
定着装置
5日前
キヤノン株式会社
定着装置
1か月前
キヤノン株式会社
表示装置
20日前
キヤノン株式会社
電子機器
1か月前
キヤノン株式会社
撮像装置
7日前
キヤノン株式会社
撮像装置
12日前
キヤノン株式会社
撮像装置
20日前
続きを見る
他の特許を見る