TOP
|
特許
|
意匠
|
商標
特許ウォッチ
Twitter
他の特許を見る
公開番号
2025169834
公報種別
公開特許公報(A)
公開日
2025-11-14
出願番号
2024075012
出願日
2024-05-04
発明の名称
画像形成装置
出願人
キヤノン株式会社
代理人
個人
,
個人
主分類
G03G
15/16 20060101AFI20251107BHJP(写真;映画;光波以外の波を使用する類似技術;電子写真;ホログラフイ)
要約
【課題】簡易な構成で、交換作業における転写ローラの取扱性を向上させる。
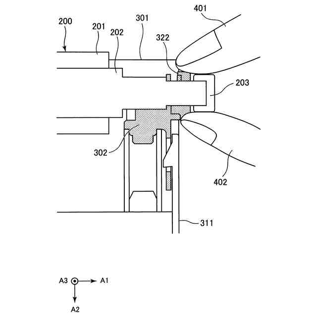
【解決手段】画像形成装置100は、回転軸線方向における軸部202の外側の端部に把持部203が設けられたローラ200と、把持部203よりもローラ200の回転軸線方向における内側で軸部200を回転可能に支持する支持部302と、支持部302を保持する保持部材301であって、支持部302よりもローラ200の回転軸線方向における外側で把持部203に隣接する側壁面311を備えた保持部材301と、を有し、ローラ200は、支持部302に対して着脱可能であり、ローラ200の回転軸線方向において、保持部材301の側壁面311は、支持部302の外側の端面よりも内側に位置する構成とされる。
【選択図】図13
特許請求の範囲
【請求項1】
シートを搬送する回転可能なローラであって、前記ローラの回転軸線方向の端部に前記ローラの回転軸線方向における外側に向けて突出した軸部を備え、前記ローラの回転軸線方向における前記軸部の外側の端部に把持部が設けられたローラと、
前記把持部よりも前記ローラの回転軸線方向における内側で前記軸部を回転可能に支持する支持部と、
前記支持部を保持する保持部材であって、前記支持部よりも前記ローラの回転軸線方向における外側で前記把持部に隣接する側壁面を備えた保持部材と、
を有し、
前記ローラは、前記支持部に対して着脱可能であり、
前記ローラの回転軸線方向において、前記保持部材の前記側壁面は、前記支持部の外側の端面よりも内側に位置することを特徴とする画像形成装置。
続きを表示(約 1,000 文字)
【請求項2】
前記ローラの回転軸線方向において、前記保持部材の前記側壁面は、前記支持部の外側の端面よりも2.5mm以上内側に位置することを特徴とする請求項1に記載の画像形成装置。
【請求項3】
前記支持部は、前記軸部を回転可能に支持する軸受部であって、前記ローラの回転軸線方向と交差する着脱方向に沿って前記軸部を受け入れる開口部が設けられた軸受部を有し、
前記ローラは、前記着脱方向に沿って並進運動させることで前記支持部に対して着脱可能であることを特徴とする請求項1に記載の画像形成装置。
【請求項4】
前記着脱方向における前記把持部からの距離が10mm以上の範囲の前記側壁面が、前記ローラの回転軸線方向において前記支持部の外側の端面よりも内側に位置することを特徴とする請求項3に記載の画像形成装置。
【請求項5】
前記着脱方向と略直交する方向における前記把持部からの距離が8mm以上の範囲の前記側壁面が、前記ローラの回転軸線方向において前記支持部の外側の端面よりも内側に位置することを特徴とする請求項3に記載の画像形成装置。
【請求項6】
前記支持部は、前記軸受部よりも前記ローラの回転軸線方向における外側に設けられた、前記着脱方向に沿って前記軸部が前記支持部から外れる方向へ移動するのを規制するローラ抜け止め部であって、前記着脱方向に沿って前記軸部を受け入れる抜け止め開口部が設けられたローラ抜け止め部と、前記着脱方向において前記抜け止め開口部と対向する位置に設けられた底部と、を有し、
前記ローラの回転軸線方向において、前記底部の外側の端面は、前記ローラ抜け止め部の外側の端面よりも内側に位置することを特徴とする請求項3に記載の画像形成装置。
【請求項7】
前記ローラの回転軸線方向における前記ローラ抜け止め部の外側の端面が、前記ローラの回転軸線方向における前記支持部の外側の端面を構成することを特徴とする請求項6に記載の画像形成装置。
【請求項8】
前記ローラは、回転可能な対向部材に加圧された状態で回転することを特徴とする請求項1乃至7のいずれか1項に記載の画像形成装置。
【請求項9】
前記ローラは、前記対向部材としてのトナー像を担持する像担持体との間でシートを挟持し、前記像担持体からシートにトナー像を転写する転写ローラであることを特徴とする請求項8に記載の画像形成装置。
発明の詳細な説明
【技術分野】
【0001】
本発明は、電子写真方式や静電記録方式を用いた複写機、プリンタ、ファクシミリ装置、あるいはこれらのうち複数の機能を備えた複合機などの画像形成装置に関するものである。
続きを表示(約 1,800 文字)
【背景技術】
【0002】
従来、画像形成装置において、ローラの表面の摩耗や紙粉の付着などによる、記録材の搬送性などのローラの機能の低下を理由に、画像形成装置本体が寿命に達する前に交換されるローラがある。
【0003】
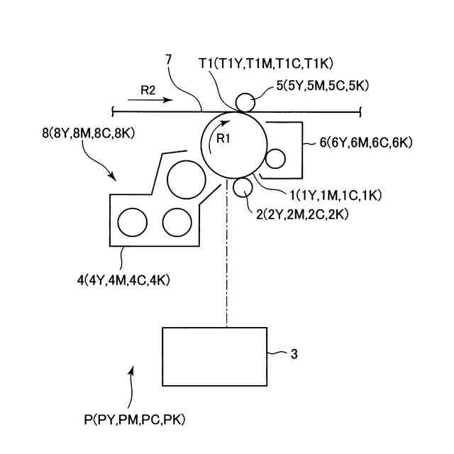
一例として、画像形成装置本体に対して着脱可能な転写ローラがある。例えば、電子写真方式を用いた複写機などの画像形成装置では、感光体や中間転写体といった像担持体上に形成されたトナー像を、転写ローラに転写バイアスを印加することで記録材に転写することが行われている。この転写ローラとしては、例えば、イオン導電剤などを分散して導電性を付与した弾性層を備えたローラが用いられている。このような転写ローラに対してその軸部から給電する場合、電気の流れは軸部の中心からローラの外周に向かう方向の一方向となる。そのため、通電が繰り返されることによって、イオン導電剤が偏在してしまい、転写ローラの電気抵抗が上昇することがある。この場合、所望の転写電流を得るために、転写ローラの電気抵抗の上昇に伴って転写ローラに印加する電圧を上げることが行われる。しかし、印加電圧が高圧基板の容量から決まる印加電圧の上限に達する前に、転写ローラを新品に交換することが必要となることがある。
【0004】
この転写ローラの交換作業は、交換作業に慣れている専門のサービス担当者が行うことが一般的であり、交換作業に不慣れな一般のユーザが行うことはほとんどなかった。そのため、交換作業における転写ローラの取扱性は重視されていなかった。しかし、近年、コスト負担の軽減などのために、転写ローラを一般のユーザが交換できるようにすることが望まれる傾向にある。そのため、一般のユーザでも転写ローラの交換作業が適切かつ容易に行えるように、その交換作業における作業性を向上させることが望まれている。
【0005】
特許文献1には、二次転写ローラの交換を可能とする次のような構成が開示されている。二次転写ローラの回転軸線方向の端部に、一対の把持部を備えた取付部が取り付けられている。この一対の把持部を把持すると、取付部に設けられた撓み部が撓むことで、取付部に設けられた突出部と、メンテナンスドアに設けられた爪部と、の係合状態が解除される。この状態で二次転写ローラを上方に持ち上げることで、二次転写ローラをメンテナンスドアから取り外すことができる。
【先行技術文献】
【特許文献】
【0006】
特開2013-200399号公報
【発明の概要】
【発明が解決しようとする課題】
【0007】
しかしながら、上記先行技術の構成は、比較的複雑な構成であり、また着脱性を向上させるためには把持部を大きくする必要がある。そのため、画像形成装置が大型化する可能性がある。
【0008】
比較的簡易な構成で転写ローラの着脱を可能とするためには、転写ローラの回転軸線方向の端部の軸部を操作して転写ローラの着脱を行う構成とすることが考えられる。しかし、従来は、転写ローラの回転軸線方向の端部の軸部の周辺の構成は、交換作業における転写ローラの取扱性を重視した構成とはされていなかった。
【0009】
そこで、本発明の目的は、簡易な構成で、交換作業における転写ローラの取扱性を向上させることである。
【課題を解決するための手段】
【0010】
上記目的は本発明に係る画像形成装置にて達成される。要約すれば、本発明は、シートを搬送する回転可能なローラであって、前記ローラの回転軸線方向の端部に前記ローラの回転軸線方向における外側に向けて突出した軸部を備え、前記ローラの回転軸線方向における前記軸部の外側の端部に把持部が設けられたローラと、前記把持部よりも前記ローラの回転軸線方向における内側で前記軸部を回転可能に支持する支持部と、前記支持部を保持する保持部材であって、前記支持部よりも前記ローラの回転軸線方向における外側で前記把持部に隣接する側壁面を備えた保持部材と、を有し、前記ローラは、前記支持部に対して着脱可能であり、前記ローラの回転軸線方向において、前記保持部材の前記側壁面は、前記支持部の外側の端面よりも内側に位置することを特徴とする画像形成装置である。
【発明の効果】
(【0011】以降は省略されています)
この特許をJ-PlatPat(特許庁公式サイト)で参照する
関連特許
他の特許を見る