TOP
|
特許
|
意匠
|
商標
特許ウォッチ
Twitter
他の特許を見る
10個以上の画像は省略されています。
公開番号
2025170515
公報種別
公開特許公報(A)
公開日
2025-11-19
出願番号
2024075157
出願日
2024-05-07
発明の名称
画像形成装置
出願人
キヤノン株式会社
代理人
弁理士法人秀和特許事務所
主分類
G03G
15/08 20060101AFI20251112BHJP(写真;映画;光波以外の波を使用する類似技術;電子写真;ホログラフイ)
要約
【課題】従来の技術を発展させた新たな形態の画像形成装置を提供する。
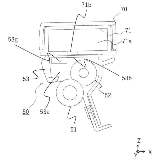
【解決手段】軸線方向に延びる回転軸線の周りに回転可能なロータリと、ロータリに支持され、トナーを排出する排出口を有するトナーカートリッジと、ロータリに支持され、排出口から排出されるトナーを受け入れる受入口53bと、受入口53bから受け入れたトナーを収容する収容室53aと、収容室53aに収容されたトナーを担持する現像ローラと、を有する現像ユニット50と、を備える画像形成装置において、現像ユニット50はガイド部53gを備え、ガイド部53gはロータリが回転したときに収容室53aに収容されたトナーを軸線方向において受入口から離れるようにガイドするように構成されている。
【選択図】図15
特許請求の範囲
【請求項1】
軸線方向に延びる回転軸線の周りに回転可能なロータリと、
前記ロータリに支持され、トナーを排出する排出口を有するトナーカートリッジと、
前記ロータリに支持され、前記排出口から排出されるトナーを受け入れる受入口と、前記受入口から受け入れたトナーを収容する収容室と、前記収容室に収容されたトナーを担持する現像ローラと、を有する現像ユニットと、
を備える画像形成装置において、
前記現像ユニットはガイド部を備え、前記ガイド部は前記ロータリが回転したときに前記収容室に収容されたトナーを前記軸線方向において前記受入口から離れるようにガイドするように構成されていることを特徴とする画像形成装置。
続きを表示(約 1,300 文字)
【請求項2】
前記ガイド部は、前記軸線方向に対して傾斜した方向に延びるように設けられている請求項1に記載の画像形成装置。
【請求項3】
前記ガイド部は、前記回転軸線から遠い外側端の方が、前記回転軸線に近い内側端よりも、前記軸線方向における前記収容室の中央に近い位置となるように、前記軸線方向に対して傾斜している請求項2に記載の画像形成装置。
【請求項4】
前記ガイド部は、前記回転軸線から遠い外側端が、前記軸線方向における前記収容室の一端側に位置し、前記回転軸線に近い内側端が、前記軸線方向における前記収容室の他端側に位置するように、前記軸線方向に対して傾斜している請求項2に記載の画像形成装置。
【請求項5】
前記ガイド部は、前記回転軸線に近い内側端の方が、前記回転軸線から遠い外側端よりも、前記軸線方向における前記収容室の中央に近い位置となるように、前記軸線方向に対して傾斜している請求項2に記載の画像形成装置。
【請求項6】
前記ガイド部は、前記軸線方向と直交する方向に見たときに、前記受入口とオーバーラップする部分を有する請求項2に記載の画像形成装置。
【請求項7】
前記ガイド部は、前記軸線方向に沿って、複数並ぶように配置されている請求項2に記載の画像形成装置。
【請求項8】
複数の前記ガイド部は、
前記軸線方向と直交する方向に見たときに、前記受入口とオーバーラップする部分を有する第1ガイド部と、
前記軸線方向と直交する方向に見たときに、前記受入口とオーバーラップしない第2ガイド部と、
を含み、
少なくとも前記第2ガイド部は、前記軸線方向において、前記回転軸線から遠い外側端の方が、前記回転軸線に近い内側端よりも、前記受入口から離れた位置となるように、前記軸線方向に対して傾斜している請求項7に記載の画像形成装置。
【請求項9】
前記ロータリの回転位相のうち、
前記ガイド部がトナーを前記軸線方向において前記受入口から離れる方向にガイドする回転位相を第1回転位相とし、
前記トナーカートリッジと前記現像ユニットの位置関係が前記排出口から前記受入口にトナーが移動可能な位置関係となる回転位相を第2回転位相とし、
前記ロータリに前記トナーカートリッジが着脱される回転位相を着脱位相とすると、
前記ロータリが前記着脱位相から一回転する間において、前記第2回転位相は前記第1回転位相の後に位置している請求項1に記載の画像形成装置。
【請求項10】
前記収容室の内面は、前記ロータリの回転による前記現像ユニットの移動方向において、下流から上流に向かう方向に面した第1面を含み、
前記受入口は、前記第1面で開口し、
前記第1回転位相において、前記ガイド部は、少なくとも前記第1面に沿って移動するトナーを前記受入口から離れる方向にガイドする請求項9に記載の画像形成装置。
(【請求項11】以降は省略されています)
発明の詳細な説明
【技術分野】
【0001】
本発明は、記録材に画像を形成する画像形成装置に関する。
続きを表示(約 1,900 文字)
【背景技術】
【0002】
電子写真方式の画像形成装置において、複数本の現像ユニットを備えたロータリを回転させることでカラー画像を形成するロータリ現像方式が知られている。特許文献1、2には、複数本の現像ユニットを備えたロータリと、該ロータリに対してそれぞれ着脱可能な複数のトナーカートリッジ(トナー収容容器)と、を備えた画像形成装置が記載されている。
【先行技術文献】
【特許文献】
【0003】
特開2007-183305号公報
特開2008-096852号公報
【発明の概要】
【発明が解決しようとする課題】
【0004】
トナーカートリッジから現像ユニットにトナーが補給される際、現像ユニット内においては、トナーカートリッジと現像ユニットを連通する開口部付近にトナーが滞留し、現像ユニット内にトナーが不均一に分布することがあり、それが起因して濃度ムラなどの画像不良が発生することがあった。
【0005】
本発明の目的は、トナー補給方式のロータリ現像方式において、現像ユニット内のトナーを均一に分布させることができる技術を提供することである。
【課題を解決するための手段】
【0006】
上述の目的を達成するため、本発明の画像形成装置は、
軸線方向に延びる回転軸線の周りに回転可能なロータリと、
前記ロータリに支持され、トナーを排出する排出口を有するトナーカートリッジと、
前記ロータリに支持され、前記排出口から排出されるトナーを受け入れる受入口と、前記受入口から受け入れたトナーを収容する収容室と、前記収容室に収容されたトナーを担持する現像ローラと、を有する現像ユニットと、
を備える画像形成装置において、
前記現像ユニットはガイド部を備え、前記ガイド部は前記ロータリが回転したときに前記収容室に収容されたトナーを前記軸線方向において前記受入口から離れるようにガイドするように構成されていることを特徴とする。
【発明の効果】
【0007】
本発明によれば、トナー補給方式のロータリ現像方式において、現像ユニット内のトナーを均一に分布させることができ、不均一な分布に起因する画像不良を抑制することが可能となる。
【図面の簡単な説明】
【0008】
実施例1に係る画像形成装置の概略図。
実施例1に係る画像形成装置の構成図。
実施例1に係る現像ユニット、トナーカートリッジ及びトレイの模式図。
実施例1に係る画像形成装置の断面図。
実施例1に係るロータリ本体の斜視図。
実施例1に係る画像形成装置の斜視図。
実施例1に係る画像形成装置の断面図。
実施例1に係るロータリ本体の説明図。
実施例1に係るロータリ本体の説明図。
実施例1に係るロータリ本体の説明図。
実施例1に係るトレイの移動に関する構成の説明図。
実施例1に係るトレイの移動に関する構成の説明図。
実施例1に係るトナーカートリッジの内部構造を示す図。
実施例1に係るトナーカートリッジの内部構造を示す断面図。
実施例1に係る現像ユニットの内部構造を示す図。
実施例1に係る現像ユニットの内部構造を示す断面図。
ロータリアセンブリの回転による現像ユニットの移動の様子を示す概略図。
実施例1に係る現像ユニットのガイドがトナーを案内する模式図
実施例2に係るトナーカートリッジの内部構造を示す図。
実施例2に係る現像ユニットの内部構造を示す図。
実施例3に係るトナーカートリッジの内部構造を示す図。
実施例3に係る現像ユニットの内部構造を示す図。
【発明を実施するための形態】
【0009】
以下に図面を参照して、この発明を実施するための形態を、実施形態に基づいて例示的に詳しく説明する。ただし、この実施の形態に記載されている構成部品の寸法、材質、形状それらの相対配置などは、発明が適用される装置の構成や各種条件により適宜変更されるべきものである。すなわち、この発明の範囲を以下の実施の形態に限定する趣旨のものではない。また、以下の実施形態で説明されている特徴の全てが発明の解決手段に必須のものとは限らない。
【0010】
<実施例1>
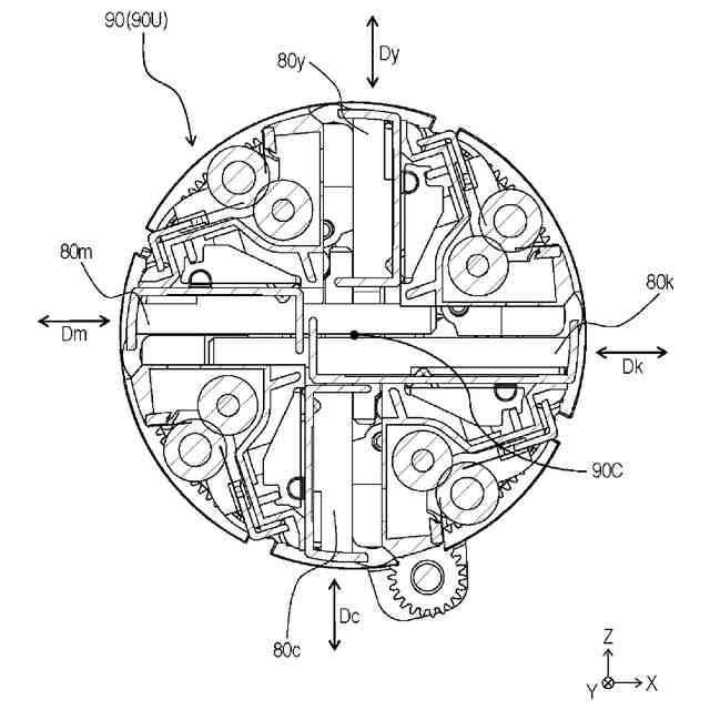
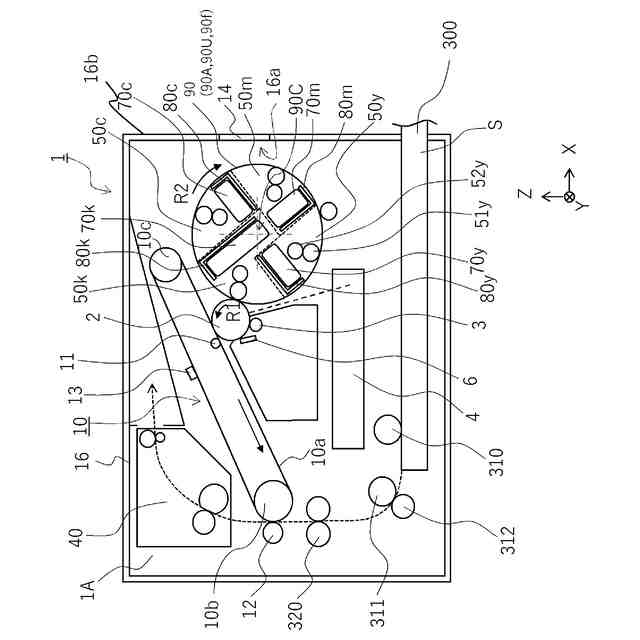
図1~図12(b)及び図17を用いて、実施例1に係る画像形成装置1について説明する。
(【0011】以降は省略されています)
この特許をJ-PlatPat(特許庁公式サイト)で参照する
関連特許
個人
表示装置
1か月前
個人
雨用レンズカバー
1か月前
日本精機株式会社
プロジェクタ
4日前
日本精機株式会社
車両用投射装置
2か月前
キヤノン株式会社
撮像装置
1か月前
キヤノン株式会社
撮像装置
11日前
キヤノン株式会社
撮像装置
1か月前
キヤノン株式会社
撮像装置
1か月前
株式会社リコー
画像形成装置
1か月前
株式会社リコー
画像形成装置
1か月前
株式会社リコー
画像形成装置
25日前
株式会社リコー
画像形成装置
1か月前
株式会社リコー
画像形成装置
2か月前
株式会社リコー
画像形成装置
1か月前
キヤノン株式会社
トナー
2か月前
キヤノン株式会社
トナー
2か月前
キヤノン株式会社
画像形成装置
1か月前
キヤノン株式会社
画像形成装置
19日前
キヤノン株式会社
トナー
1か月前
キヤノン株式会社
画像形成装置
1か月前
レーザーテック株式会社
光源装置
27日前
レーザーテック株式会社
光源装置
6日前
キヤノン株式会社
現像装置
2か月前
スタンレー電気株式会社
照明装置
2か月前
沖電気工業株式会社
画像形成装置
6日前
沖電気工業株式会社
画像形成装置
1か月前
アイホン株式会社
カメラシステム
2か月前
沖電気工業株式会社
画像形成装置
1か月前
キヤノン株式会社
レンズキャップ
1か月前
ブラザー工業株式会社
画像形成装置
2か月前
シャープ株式会社
捺染トナー
4日前
ブラザー工業株式会社
画像形成装置
2か月前
株式会社リコー
画像形成装置
2か月前
株式会社電気印刷研究所
静電印刷用積層体
2か月前
古野電気株式会社
装置
1か月前
キヤノン株式会社
二成分現像剤
11日前
続きを見る
他の特許を見る