TOP
|
特許
|
意匠
|
商標
特許ウォッチ
Twitter
他の特許を見る
10個以上の画像は省略されています。
公開番号
2025168860
公報種別
公開特許公報(A)
公開日
2025-11-12
出願番号
2024073676
出願日
2024-04-30
発明の名称
画像形成装置
出願人
キヤノン株式会社
代理人
個人
,
個人
,
個人
,
個人
,
個人
主分類
G03G
21/16 20060101AFI20251105BHJP(写真;映画;光波以外の波を使用する類似技術;電子写真;ホログラフイ)
要約
【課題】 本発明は、従来の技術を発展させた新たな形態の画像形成装置を提供することを目的とする。
【解決手段】 現像剤を収容するカートリッジを着脱可能な画像形成装置が、カートリッジから供給された現像剤を収容する収容部と、静電潜像が形成される感光体と、収容部に収容された現像剤を用いて感光体上の静電潜像を現像して現像剤像を形成する現像部と、カートリッジを収容する枠体と、カートリッジが枠体の内部に位置する装着位置と、カートリッジが枠体の外部に位置する退避位置とに、カートリッジを移動させる移動装置と、移動装置を制御する制御部と、記録材に形成された画像を読み取る読み取りユニットと、を備える。読み取りユニットは、カートリッジが装着位置から退避位置まで移動するまでのカートリッジの軌跡に重ならない位置にある。
【選択図】 図18
特許請求の範囲
【請求項1】
現像剤を収容するカートリッジを着脱可能な画像形成装置であって、
前記カートリッジから供給された前記現像剤を収容する収容部と、
静電潜像が形成される感光体と、
前記収容部に収容された前記現像剤を用いて前記感光体上の前記静電潜像を現像して現像剤像を形成する現像部と、
前記カートリッジを収容する枠体と、
前記カートリッジが前記枠体の内部に位置する装着位置と、前記カートリッジが前記枠体の外部に位置する退避位置とに、前記カートリッジを移動させる移動装置と、
前記移動装置を制御する制御部と、
記録材に形成された画像を読み取る読み取りユニットと、
を備え、
前記読み取りユニットは、前記カートリッジが前記装着位置から前記退避位置まで移動するまでの前記カートリッジの軌跡に重ならない位置にある、
ことを特徴とする画像形成装置。
続きを表示(約 820 文字)
【請求項2】
前記読み取りユニットは、前記画像形成装置に装着された前記カートリッジの上方にある、
ことを特徴とする請求項1に記載の画像形成装置。
【請求項3】
前記移動装置は、前記カートリッジを保持するトレイを含み、
前記トレイは、前記カートリッジが前記装着位置に位置する収容位置と、前記カートリッジが前記退避位置に位置する取出位置とに移動し、
前記読み取りユニットは、前記トレイが前記収容位置から前記取出位置まで移動するまでの前記トレイの軌跡に重ならない位置にある、
ことを特徴とする請求項2に記載の画像形成装置。
【請求項4】
前記収容部と、前記現像部と、を備えるロータリを備え、
前記収容位置は、前記カートリッジが前記ロータリの内部に位置する位置であり、
前記取出位置は、前記カートリッジが前記ロータリの外部に位置する位置である、
ことを特徴とする請求項3に記載の画像形成装置。
【請求項5】
前記読み取りユニットの回動軸線は、前記ロータリの回転軸線の方向に沿って延びる、
ことを特徴とする請求項4に記載の画像形成装置。
【請求項6】
前記ロータリの前記回転軸線の方向において、前記トレイの位置と前記読み取りユニットの位置が少なくとも部分的に重なる、
ことを特徴とする請求項5に記載の画像形成装置。
【請求項7】
前記読み取りユニットは、原稿を搬送する原稿搬送部を備え、
前記原稿搬送部は、前記ロータリの前記回転軸線の方向に向かって前記原稿を搬送する、
ことを特徴とする請求項6に記載の画像形成装置。
【請求項8】
前記読み取りユニットは前記枠体の上方にある、
ことを特徴とする請求項1乃至7のいずれか一項に記載の画像形成装置。
発明の詳細な説明
【技術分野】
【0001】
本発明は、記録材に画像を形成する画像形成装置に関する。
続きを表示(約 1,800 文字)
【背景技術】
【0002】
特許文献1、2には、現像ローラと、画像形成装置の本体に対して着脱可能なトナーカートリッジと、を備えた画像形成装置が記載されている。
【先行技術文献】
【特許文献】
【0003】
特開2007-183305号公報
特開2008-096852号公報
【発明の概要】
【発明が解決しようとする課題】
【0004】
本発明は、従来の技術を発展させた新たな形態の画像形成装置を提供することを目的と する。
【課題を解決するための手段】
【0005】
本発明の一態様は以下のようなものである。
【0006】
現像剤を収容するカートリッジを着脱可能な画像形成装置であって、
前記カートリッジから供給された前記現像剤を収容する収容部と、
静電潜像が形成される感光体と、
前記収容部に収容された前記現像剤を用いて前記感光体上の前記静電潜像を現像して現像剤像を形成する現像部と、
前記カートリッジを収容する枠体と、
前記カートリッジが前記枠体の内部に位置する装着位置と、前記カートリッジが前記枠体の外部に位置する退避位置とに、前記カートリッジを移動させる移動装置と、
前記移動装置を制御する制御部と、
記録材に形成された画像を読み取る読み取りユニットと、
を備え、
前記読み取りユニットは、前記カートリッジが前記装着位置から前記退避位置まで移動するまでの前記カートリッジの軌跡に重ならない位置にある、
ことを特徴とする画像形成装置。
【発明の効果】
【0007】
本発明によれば、従来の技術を発展させた新たな形態の画像形成装置を提供することができる。
【図面の簡単な説明】
【0008】
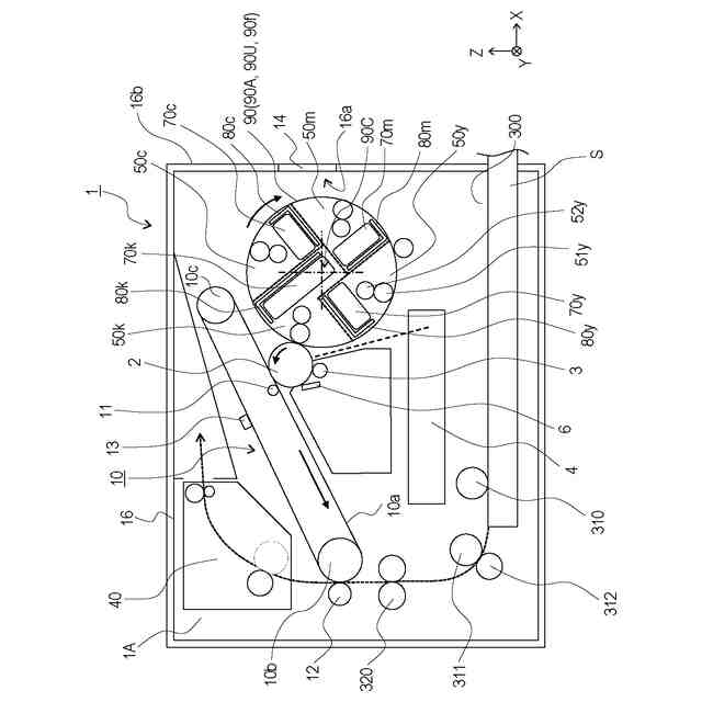
実施例1に係る画像形成装置の概略図。
実施例1に係る画像形成装置の構成図。
実施例1に係る現像ユニット、トナーカートリッジ及びトレイの模式図。
実施例1に係る画像形成装置の断面図(a、b)。
実施例1に係るロータリ本体の斜視図。
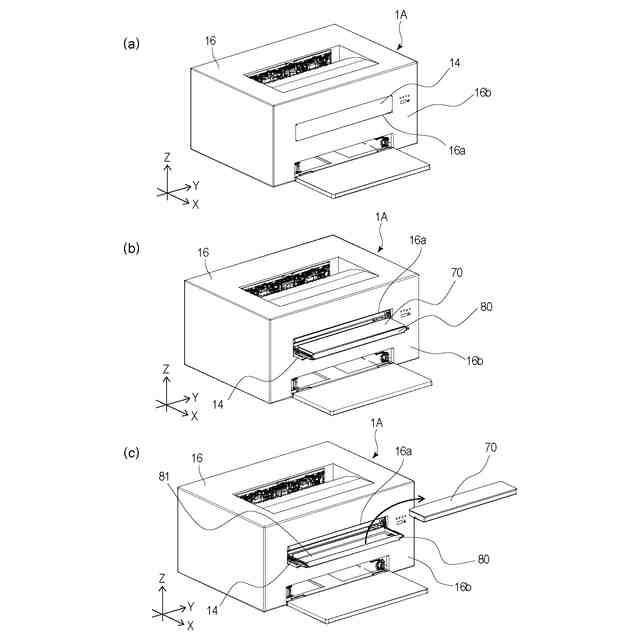
実施例1に係る画像形成装置の斜視図(a~c)。
実施例1に係る画像形成装置の断面図(a、b)。
実施例1に係るロータリ本体の説明図。
実施例1に係るロータリ本体の説明図。
実施例1に係るロータリ本体の説明図。
実施例1に係るトレイの移動に関する構成の説明図(a、b)。
実施例1に係るトレイの移動に関する構成の説明図(a、b)。
実施例2に係る画像形成装置の概略図。
実施例3に係る画像形成装置の平面図。
実施例3に係る読み取りユニットの平面図。
実施例3に係る画像形成装置の斜視図。
実施例3に係る画像形成装置の平面図(a~c)。
実施例3に係る画像形成装置の平面図。
実施例3に係る画像形成装置の平面図。
実施例3に係る画像形成装置の斜視図。
実施例3に係る画像形成装置の斜視図。
実施例3に係る画像形成装置の平面図。
実施例3に係る画像形成装置の平面図。
実施例3に係る画像形成装置の平面図。
【発明を実施するための形態】
【0009】
以下、本開示に係る実施形態について、図面を参照しながら説明する。
【0010】
《実施例1》
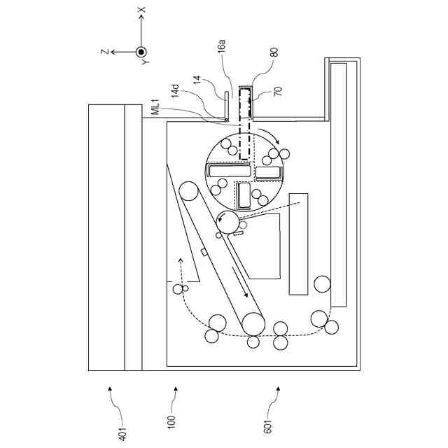
図1~図12(a、b)を用いて、実施例1に係る画像形成装置1について説明する。以下の説明及び各図面において、画像形成装置1が水平面に設置された場合の鉛直方向をZ方向とする。Z方向と交差する方向であって、後述するロータリ本体90の回転軸線90Cの方向(ロータリの回転軸線方向)をY方向とする。Z方向及びY方向の双方と交差する方向をX方向とする。X方向及びY方向は、好ましくは水平方向である。また、X方向、Y方向、Z方向は、好ましくは互いに直交する。また、必要に応じ、各図面に図示した矢印X、Y、Zの方向をそれぞれ+X側、+Y側、+Z側と表し、その反対側をそれぞれ-X側、-Y側、-Z側と表す。
(【0011】以降は省略されています)
この特許をJ-PlatPat(特許庁公式サイト)で参照する
関連特許
キヤノン株式会社
容器
1か月前
キヤノン株式会社
容器
1か月前
キヤノン株式会社
トナー
1か月前
キヤノン株式会社
トナー
1か月前
キヤノン株式会社
トナー
1か月前
キヤノン株式会社
トナー
1か月前
キヤノン株式会社
トナー
27日前
キヤノン株式会社
記録装置
今日
キヤノン株式会社
電子機器
27日前
キヤノン株式会社
雲台装置
27日前
キヤノン株式会社
撮像装置
27日前
キヤノン株式会社
電子機器
22日前
キヤノン株式会社
撮像装置
22日前
キヤノン株式会社
定着装置
20日前
キヤノン株式会社
記録装置
20日前
キヤノン株式会社
定着装置
20日前
キヤノン株式会社
定着装置
20日前
キヤノン株式会社
電子機器
27日前
キヤノン株式会社
定着装置
14日前
キヤノン株式会社
撮像装置
14日前
キヤノン株式会社
撮像装置
14日前
キヤノン株式会社
定着装置
14日前
キヤノン株式会社
撮像装置
8日前
キヤノン株式会社
表示装置
6日前
キヤノン株式会社
撮像装置
6日前
キヤノン株式会社
発光装置
6日前
キヤノン株式会社
撮像装置
6日前
キヤノン株式会社
記録装置
27日前
キヤノン株式会社
二次電池
1日前
キヤノン株式会社
記録装置
27日前
キヤノン株式会社
撮像装置
28日前
キヤノン株式会社
記録装置
今日
キヤノン株式会社
定着装置
1か月前
キヤノン株式会社
記録装置
1か月前
キヤノン株式会社
撮影装置
1か月前
キヤノン株式会社
現像容器
1か月前
続きを見る
他の特許を見る