TOP
|
特許
|
意匠
|
商標
特許ウォッチ
Twitter
他の特許を見る
10個以上の画像は省略されています。
公開番号
2025166351
公報種別
公開特許公報(A)
公開日
2025-11-06
出願番号
2024070298
出願日
2024-04-24
発明の名称
画像形成装置
出願人
キヤノン株式会社
代理人
弁理士法人近島国際特許事務所
主分類
G03G
21/16 20060101AFI20251029BHJP(写真;映画;光波以外の波を使用する類似技術;電子写真;ホログラフイ)
要約
【課題】本発明によれば、従来の技術を発展させた新たな形態の画像形成装置を提供することができる。
【解決手段】画像形成装置であって、感光ドラムと、感光ドラムの表面を露光して表面に静電潜像を形成する露光装置と、静電潜像をトナー像として現像する現像ローラと、現像ローラに供給されるトナーを収容する収容部を備えた収容枠体と、を有する回転可能なロータリと、トナーを収容し、ロータリに着脱可能なトナーカートリッジと、トナー像が感光ドラムから転写された後、感光ドラムに付着した廃トナーを回収する回収部材と、回収部材によって回収された廃トナーを収容する廃トナー収容部と、を有し、廃トナー収容部は、感光ドラムの回転軸線方向に見て、露光装置と少なくとも一部が重なるように配置されている、ことを特徴とする画像形成装置である。
【選択図】図13
特許請求の範囲
【請求項1】
画像形成装置であって、
感光ドラムと、
前記感光ドラムの表面を露光して前記表面に静電潜像を形成する露光装置と、
前記静電潜像をトナー像として現像する現像ローラと、前記現像ローラに供給されるトナーを収容する収容部を備えた収容枠体と、を有する回転可能なロータリと、
トナーを収容し、前記ロータリに着脱可能なトナーカートリッジであって、前記収容枠体に対し、装着位置と、前記装着位置から退避した退避位置とに移動可能であり、前記装着位置にある状態で前記収容部にトナーを供給するように構成されたトナーカートリッジと、
前記トナー像が前記感光ドラムから転写された後、前記感光ドラムに付着した廃トナーを回収する回収部材と、
前記回収部材によって回収された廃トナーを収容する廃トナー収容部と、
を有し、
前記廃トナー収容部は、前記感光ドラムの回転軸線方向に見て、前記露光装置と少なくとも一部が重なるように配置されている、
ことを特徴とする画像形成装置。
続きを表示(約 1,700 文字)
【請求項2】
前記廃トナー収容部は、前記廃トナーを収容する第1廃トナー収容室と、前記回転軸線方向において前記第1廃トナー収容室と異なる位置に配置され、前記廃トナーを収容する第2廃トナー収容室と、を備え、
前記第1廃トナー収容室及び前記第2廃トナー収容室は、前記回転軸線方向に見て、前記露光装置と少なくとも一部が重なるようにそれぞれ配置され、
前記露光装置は、前記回転軸線方向において、前記第1廃トナー収容室と前記第2廃トナー収容室との間に配置される、
ことを特徴とする請求項1に記載の画像形成装置。
【請求項3】
前記廃トナー収容部は、前記第1廃トナー収容室と前記第2廃トナー収容室とを連結する連結室を有し、
前記連結室は、前記回転軸線方向において前記露光装置にオーバーラップする、
ことを特徴とする請求項2に記載の画像形成装置。
【請求項4】
前記トナー像が前記感光ドラムから転写される中間転写ユニットを更に有し、
前記ロータリ、前記感光ドラム及び前記回収部材は、重力方向における前記中間転写ユニットと前記露光装置との間の空間に配置される、
ことを特徴とする請求項1に記載の画像形成装置。
【請求項5】
前記中間転写ユニット、前記ロータリ及び前記露光装置は、前記重力方向に見て、少なくとも一部が互いに重なるように配置されている、
ことを特徴とする請求項4に記載の画像形成装置。
【請求項6】
前記中間転写ユニット、前記ロータリ及び前記露光装置は、前記重力方向及び前記感光ドラムの回転軸線方向の両方に直交する方向に見て、少なくとも一部が互いに重なるように配置されている、
ことを特徴とする請求項4に記載の画像形成装置。
【請求項7】
前記トナーカートリッジが前記装着位置から前記退避位置に移動するように、前記収容枠体に対して移動可能に支持される支持部材を更に有する、
ことを特徴とする請求項1に記載の画像形成装置。
【請求項8】
駆動源と、
前記駆動源からの駆動力によって駆動されるピニオンギアと、
前記支持部材に設けられ、前記ピニオンギアと噛み合うことで前記支持部材と一体に移動するラックギアと、を更に有する、
ことを特徴とする請求項7に記載の画像形成装置。
【請求項9】
第1感光ドラムと、前記第1感光ドラムに形成された第1静電潜像を第1トナー像として現像する第1現像ユニットと、前記第1トナー像が前記第1感光ドラムから転写された後、前記第1感光ドラムに付着した廃トナーを回収する第1回収部材と、前記第1回収部材によって回収された廃トナーを収容する第1廃トナー収容部と、を備える第1プロセスユニットと、
第2感光ドラムと、前記第2感光ドラムに形成された第2静電潜像を第2トナー像として現像する第2現像ユニットと、前記第2トナー像が前記第2感光ドラムから転写された後、前記第2感光ドラムに付着した廃トナーを回収する第2回収部材と、前記第2回収部材によって回収された廃トナーを収容する第2廃トナー収容部と、を備える第2プロセスユニットと、
前記第1感光ドラム及び前記第2感光ドラムを露光することで前記第1静電潜像及び前記第2静電潜像を形成する露光装置と、
中間転写体と、前記第1トナー像を前記中間転写体に転写する第1転写ローラと、前記第2トナー像を前記中間転写体に転写する第2転写ローラと、を備える中間転写ユニットと、
を有し、
前記第1廃トナー収容部及び前記第2廃トナー収容部は、前記第1感光ドラムの回転軸線方向に見て、前記露光装置と少なくとも一部がそれぞれ重なるように配置されている、
ことを特徴とする画像形成装置。
【請求項10】
前記中間転写ユニットは、前記第1プロセスユニット、前記第2プロセスユニット及び前記露光装置の上方に配置されている、
ことを特徴とする請求項9に記載の画像形成装置。
(【請求項11】以降は省略されています)
発明の詳細な説明
【技術分野】
【0001】
本発明は、記録材に画像を形成する画像形成装置に関する。
続きを表示(約 2,600 文字)
【背景技術】
【0002】
電子写真方式の画像形成装置において、複数の現像部材を備えたロータリを回転させることでカラー画像を形成するロータリ現像方式が知られている。特許文献1、2には、複数本の現像ローラを備えたロータリと、該ロータリに対してそれぞれ着脱可能な複数のトナーカートリッジ(トナー収容容器)と、を備えた画像形成装置が記載されている。
【先行技術文献】
【特許文献】
【0003】
特開2007-183305号公報
特開2008-096852号公報
【発明の概要】
【発明が解決しようとする課題】
【0004】
本発明は、従来の技術を発展させた新たな形態の画像形成装置を提供することを目的とする。
【課題を解決するための手段】
【0005】
本発明の一態様は、画像形成装置であって、感光ドラムと、前記感光ドラムの表面を露光して前記表面に静電潜像を形成する露光装置と、前記静電潜像をトナー像として現像する現像ローラと、前記現像ローラに供給されるトナーを収容する収容部を備えた収容枠体と、を有する回転可能なロータリと、トナーを収容し、前記ロータリに着脱可能なトナーカートリッジであって、前記収容枠体に対し、装着位置と、前記装着位置から退避した退避位置とに移動可能であり、前記装着位置にある状態で前記収容部にトナーを供給するように構成されたトナーカートリッジと、前記トナー像が前記感光ドラムから転写された後、前記感光ドラムに付着した廃トナーを回収する回収部材と、前記回収部材によって回収された廃トナーを収容する廃トナー収容部と、を有し、前記廃トナー収容部は、前記感光ドラムの回転軸線方向に見て、前記露光装置と少なくとも一部が重なるように配置されている、ことを特徴とする画像形成装置である。
【0006】
本発明の他の一態様は、第1感光ドラムと、前記第1感光ドラムに形成された第1静電潜像を第1トナー像として現像する第1現像ユニットと、前記第1トナー像が前記第1感光ドラムから転写された後、前記第1感光ドラムに付着した廃トナーを回収する第1回収部材と、前記第1回収部材によって回収された廃トナーを収容する第1廃トナー収容部と、を備える第1プロセスユニットと、第2感光ドラムと、前記第2感光ドラムに形成された第2静電潜像を第2トナー像として現像する第2現像ユニットと、前記第2トナー像が前記第2感光ドラムから転写された後、前記第2感光ドラムに付着した廃トナーを回収する第2回収部材と、前記第2回収部材によって回収された廃トナーを収容する第2廃トナー収容部と、を備える第2プロセスユニットと、前記第1感光ドラム及び前記第2感光ドラムを露光することで前記第1静電潜像及び前記第2静電潜像を形成する露光装置と、中間転写体と、前記第1トナー像を前記中間転写体に転写する第1転写ローラと、前記第2トナー像を前記中間転写体に転写する第2転写ローラと、を備える中間転写ユニットと、を有し、前記第1廃トナー収容部及び前記第2廃トナー収容部は、前記第1感光ドラムの回転軸線方向に見て、前記露光装置と少なくとも一部がそれぞれ重なるように配置されている、ことを特徴とする画像形成装置である。
【発明の効果】
【0007】
本発明によれば、従来の技術を発展させた新たな形態の画像形成装置を提供することができる。
【図面の簡単な説明】
【0008】
実施例1に係る画像形成装置の概略図。
実施例1に係る画像形成装置の構成図。
実施例1に係る現像ユニット、トナーカートリッジ及びトレイの模式図。
実施例1に係る画像形成装置の断面図(a、b)。
実施例1に係るロータリ本体の斜視図。
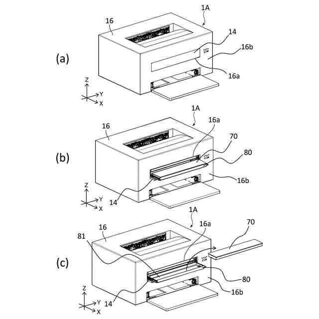
実施例1に係る画像形成装置の斜視図(a~c)。
実施例1に係る画像形成装置の断面図(a、b)。
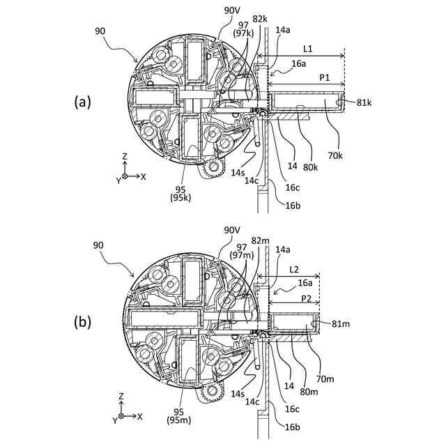
実施例1に係るロータリ本体の説明図。
実施例1に係るロータリ本体の説明図。
実施例1に係るロータリ本体の説明図。
実施例1に係るトレイの移動に関する構成の説明図(a、b)。
実施例1に係るトレイの移動に関する構成の説明図(a、b)。
実施例1に係る画像形成装置の断面構成を示す断面図(a、b)。
実施例1に係る中間転写ユニット、クリーニングユニット及びスキャナを示す斜視図。
実施例1に係るクリーニングユニット及びスキャナを示す正面図。
実施例1に係るスキャナの支持構成を示す説明図(a、b)。
変形例1,2に係る画像形成装置を示す断面図(a、b)。
実施例1に係るスキャナ及びトナーカートリッジを示す斜視図。
実施例1に係るスキャナの通過部を示す平面図。
実施例1に係るスキャナ及びトナーカートリッジを示す側面図。
実施例1に係る図20の21A-21A断面を示す断面図。
実施例2に係る図20の21A-21A断面を示す断面図。
【発明を実施するための形態】
【0009】
以下、本開示に係る実施形態について、図面を参照しながら説明する。
【0010】
《実施例1》
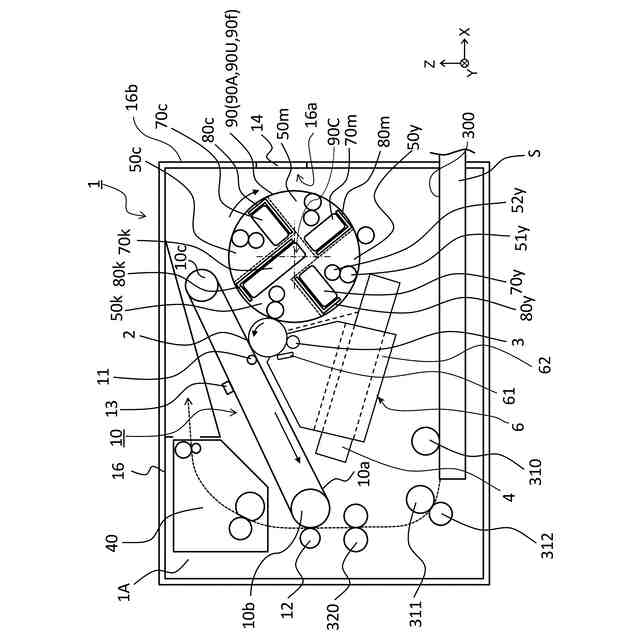
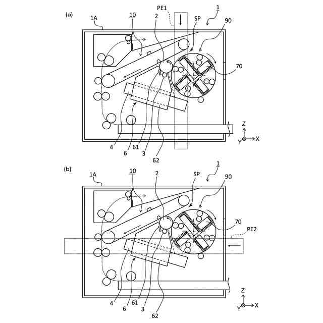
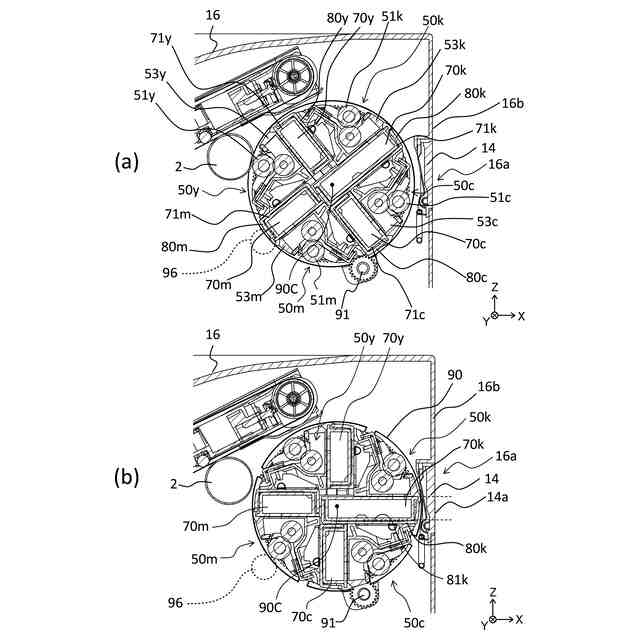
図1~図12(a、b)を用いて、実施例1に係る画像形成装置1について説明する。以下の説明及び各図面において、画像形成装置1が水平面に設置された場合の鉛直方向をZ方向とする。Z方向と交差する方向であって、後述するロータリ本体90の回転軸線90Cの方向(ロータリの回転軸線方向)をY方向とする。なお、感光ドラム2の回転軸線の方向(感光ドラムの回転軸線方向)も、ロータリ本体90の回転軸線90Cの方向は、と平行であり、Y方向である。Z方向及びY方向の双方と交差する方向をX方向とする。X方向及びY方向は、好ましくは水平方向である。また、X方向、Y方向、Z方向は、好ましくは互いに直交する。また、必要に応じ、各図面に図示した矢印X、Y、Zの方向をそれぞれ+X側、+Y側、+Z側と表し、その反対側をそれぞれ-X側、-Y側、-Z側と表す。
(【0011】以降は省略されています)
この特許をJ-PlatPat(特許庁公式サイト)で参照する
関連特許
個人
表示装置
1か月前
個人
雨用レンズカバー
1か月前
株式会社シグマ
絞りユニット
2か月前
キヤノン株式会社
撮像装置
1日前
キヤノン株式会社
撮像装置
2か月前
キヤノン株式会社
撮像装置
1か月前
キヤノン株式会社
撮像装置
1か月前
キヤノン株式会社
撮像装置
2か月前
キヤノン株式会社
撮像装置
2か月前
キヤノン株式会社
撮像装置
1か月前
日本精機株式会社
車両用投射装置
1か月前
株式会社リコー
画像形成装置
15日前
株式会社リコー
画像形成装置
24日前
株式会社リコー
画像形成装置
1か月前
株式会社リコー
画像形成装置
2か月前
株式会社リコー
画像形成装置
1か月前
株式会社リコー
画像形成装置
1か月前
株式会社リコー
画像形成装置
2か月前
キヤノン株式会社
トナー
1か月前
株式会社オプトル
プロジェクタ
2か月前
キヤノン株式会社
画像形成装置
1か月前
キヤノン株式会社
画像形成装置
1か月前
キヤノン株式会社
トナー
1か月前
キヤノン株式会社
トナー
1か月前
キヤノン株式会社
画像形成装置
9日前
沖電気工業株式会社
画像形成装置
1か月前
沖電気工業株式会社
画像形成装置
1か月前
レーザーテック株式会社
光源装置
17日前
キヤノン株式会社
レンズキャップ
1か月前
アイホン株式会社
カメラシステム
1か月前
スタンレー電気株式会社
照明装置
1か月前
キヤノン株式会社
現像装置
1か月前
ブラザー工業株式会社
画像形成装置
2か月前
古野電気株式会社
装置
1か月前
ブラザー工業株式会社
画像形成装置
2か月前
株式会社リコー
画像形成装置
2か月前
続きを見る
他の特許を見る