TOP
|
特許
|
意匠
|
商標
特許ウォッチ
Twitter
他の特許を見る
10個以上の画像は省略されています。
公開番号
2025164015
公報種別
公開特許公報(A)
公開日
2025-10-30
出願番号
2024067720
出願日
2024-04-18
発明の名称
画像形成装置
出願人
キヤノン株式会社
代理人
弁理士法人大塚国際特許事務所
主分類
G03G
15/08 20060101AFI20251023BHJP(写真;映画;光波以外の波を使用する類似技術;電子写真;ホログラフイ)
要約
【課題】トナーを収容するカートリッジの不要な交換を防ぐ。
【解決手段】トナーを収容するカートリッジを着脱可能に構成された画像形成装置は、感光体と、前記カートリッジから前記トナーが補給される様に構成され、前記感光体に形成された静電潜像を前記トナーで現像する現像ユニットと、前記カートリッジの交換が指示された場合、前記カートリッジの状態に基づき前記カートリッジを交換するための交換処理を行うか否かを制御する制御手段と、を備えている。
【選択図】図16
特許請求の範囲
【請求項1】
トナーを収容するカートリッジを着脱可能に構成された画像形成装置であって、
感光体と、
前記カートリッジから前記トナーが補給される様に構成され、前記感光体に形成された静電潜像を前記トナーで現像する現像ユニットと、
前記カートリッジの交換が指示された場合、前記カートリッジに関する情報に基づき前記カートリッジを交換するための交換処理を行うか否かを制御する制御手段と、
を備えている画像形成装置。
続きを表示(約 1,000 文字)
【請求項2】
前記制御手段は、前記交換処理を行わない場合、前記カートリッジの交換が不要であることを報知する処理を行う、請求項1に記載の画像形成装置。
【請求項3】
前記制御手段は、前記カートリッジのトナー残量が閾値より多い場合、前記交換処理を行わない、請求項1に記載の画像形成装置。
【請求項4】
前記制御手段は、前記カートリッジのトナー残量が前記閾値以下の場合、前記交換処理を行う、請求項3に記載の画像形成装置。
【請求項5】
前記制御手段は、前記カートリッジに収容されている前記トナーを前記現像ユニットに補給する補給処理を行っても前記カートリッジのトナー残量を閾値以下にできない場合、前記交換処理を行わない、請求項1に記載の画像形成装置。
【請求項6】
前記制御手段は、前記補給処理を行うことで前記カートリッジのトナー残量を前記閾値以下にできる場合、前記補給処理を行って前記カートリッジのトナー残量を前記閾値以下とした後に前記交換処理を行う、請求項5に記載の画像形成装置。
【請求項7】
前記制御手段は、前記補給処理を行うことで前記カートリッジのトナーの残量を前記閾値以下にできるが前記補給処理に必要な推定時間が所定時間より長い場合、前記交換処理を行わない、請求項5に記載の画像形成装置。
【請求項8】
前記制御手段は、前記補給処理を行うことで前記カートリッジのトナー残量を前記閾値以下にできるが前記補給処理に必要な推定時間が所定時間より長い場合、前記補給処理を行うか否かをユーザに選択させ、前記ユーザが前記補給処理を行うことを選択した場合、前記補給処理を行って前記カートリッジのトナー残量を前記閾値以下とした後に前記交換処理を行う、請求項5に記載の画像形成装置。
【請求項9】
前記制御手段は、前記補給処理を行うか否かをユーザに選択させる際、前記補給処理に前記所定時間より長い時間がかかること、或いは、前記推定時間を前記ユーザに提示する、請求項8に記載の画像形成装置。
【請求項10】
前記カートリッジは、前記カートリッジから前記現像ユニットへの一回の補給量を示す情報を格納するメモリデバイスを備え、
前記制御手段は、前記補給量に基づき前記カートリッジのトナー残量を判定する、請求項5から9のいずれか1項に記載の画像形成装置。
(【請求項11】以降は省略されています)
発明の詳細な説明
【技術分野】
【0001】
本発明は、記録材に画像を形成する画像形成装置に関する。
続きを表示(約 2,100 文字)
【背景技術】
【0002】
電子写真方式の画像形成装置において、複数本の現像ローラを備えたロータリを回転させることでカラー画像を形成するロータリ現像方式が知られている。特許文献1、2には、複数本の現像ローラを備えたロータリと、該ロータリに対してそれぞれ着脱可能な複数のトナーカートリッジ(トナー収容容器)と、を備えた画像形成装置が記載されている。以下の説明においては、トナーカートリッジを単に"カートリッジ"とも表記する。
【0003】
このような画像形成装置で使用するカートリッジは、サブスクリプションサービスの対象となり得る。サブスクリプションサービスとは、例えば、特許文献3に記載されている様に、ユーザが所定金額をサービス提供者(以下、事業者と表記する。)に支払うことにより、契約対象の画像形成装置において規定枚数までの印刷の実行が可能となるサービスである。なお、契約対象の画像形成装置は、ユーザのオフィス等のユーザ環境に設置される。サブスクリプションサービスにおいて、事業者は、例えば、サブスクリプション契約の下、契約対象の画像形成装置におけるトナーの残量を監視し、トナーが枯渇しない様にカートリッジをユーザに提供する。
【先行技術文献】
【特許文献】
【0004】
特開2007-183305号公報
特開2008-096852号公報
特開2018-156224号公報
【発明の概要】
【発明が解決しようとする課題】
【0005】
通常、カートリッジを使用する画像形成装置は、カートリッジの交換指示に応答して、当該カートリッジの交換のために必要な処理を実行する。したがって、トナーが十分残っているカートリッジの交換指示により、当該カートリッジの交換が行われてしまう。ここで、画像形成装置がサブスクリプションサービスの対象である場合、残量の多いカートリッジが交換されて廃棄されることで、事業者は、必要以上のカートリッジをユーザに提供しなければならなくなる。また、画像形成装置がサブスクリプションサービスの対象となっていない場合でも、残量の多いカートリッジが交換されて廃棄されることで、ユーザに不利益が生じる。
【0006】
本発明は、カートリッジの不要な交換を防ぐ技術を提供するものである。
【課題を解決するための手段】
【0007】
本開示の一態様によると、トナーを収容するカートリッジを着脱可能に構成された画像形成装置は、感光体と、前記カートリッジから前記トナーが補給される様に構成され、前記感光体に形成された静電潜像を前記トナーで現像する現像ユニットと、前記カートリッジの交換が指示された場合、前記カートリッジの状態に基づき前記カートリッジを交換するための交換処理を行うか否かを制御する制御手段と、を備えている。
【発明の効果】
【0008】
本発明によると、カートリッジの不要な交換を防ぐことができる。
【図面の簡単な説明】
【0009】
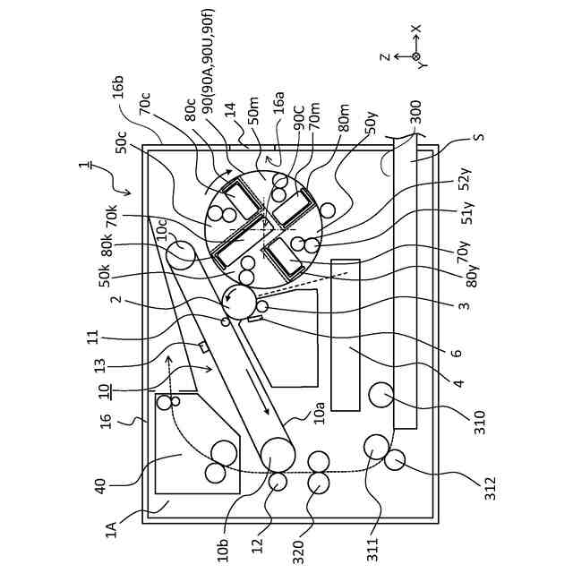
幾つかの実施形態による、画像形成装置の概略的な断面図。
幾つかの実施形態による、画像形成装置の概略的な駆動構成図。
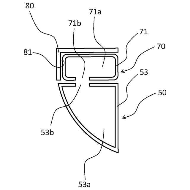
幾つかの実施形態による、現像ユニット、カートリッジ及びトレイの模式図。
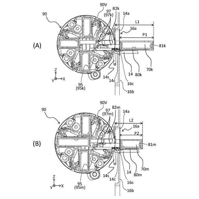
幾つかの実施形態による、画像形成装置のロータリ近傍の断面図。
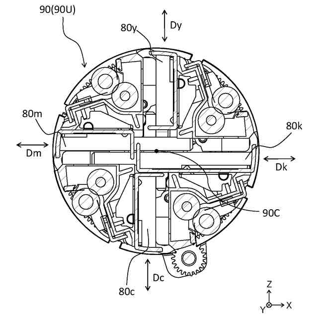
幾つかの実施形態による、ロータリ本体の斜視図。
幾つかの実施形態による、画像形成装置の斜視図。
幾つかの実施形態による、画像形成装置のロータリ近傍の断面図。
幾つかの実施形態による、ロータリ本体の説明図。
幾つかの実施形態による、ロータリ本体の説明図。
幾つかの実施形態による、ロータリ本体の説明図。
幾つかの実施形態による、トレイの移動構成の説明図。
幾つかの実施形態による、トレイの移動構成の説明図。
幾つかの実施形態による、画像形成装置の制御構成例を示す図。
幾つかの実施形態による、画像形成装置に設けられた操作ボタン例を示す図。
幾つかの実施形態による、エンジン制御部の機能ブロック図。
一実施形態による、エンジン制御部が実行する処理のフローチャート。
一実施形態による、エンジン制御部が実行する処理のフローチャート。
一実施形態による、エンジン制御部が実行する処理のフローチャート。
【発明を実施するための形態】
【0010】
以下、添付図面を参照して実施形態を詳しく説明する。なお、以下の実施形態は特許請求の範囲に係る発明を限定するものではない。実施形態には複数の特徴が記載されているが、これらの複数の特徴の全てが発明に必須のものとは限らず、また、複数の特徴は任意に組み合わせられてもよい。さらに、添付図面においては、同一若しくは同様の構成に同一の参照番号を付し、重複した説明は省略する。
(【0011】以降は省略されています)
この特許をJ-PlatPat(特許庁公式サイト)で参照する
関連特許
キヤノン株式会社
容器
1か月前
キヤノン株式会社
容器
24日前
キヤノン株式会社
トナー
1か月前
キヤノン株式会社
トナー
16日前
キヤノン株式会社
電子機器
16日前
キヤノン株式会社
表示装置
24日前
キヤノン株式会社
撮像装置
3日前
キヤノン株式会社
撮像装置
3日前
キヤノン株式会社
定着装置
3日前
キヤノン株式会社
撮像装置
24日前
キヤノン株式会社
記録装置
1か月前
キヤノン株式会社
電子機器
11日前
キヤノン株式会社
電子機器
16日前
キヤノン株式会社
記録装置
16日前
キヤノン株式会社
撮像装置
1か月前
キヤノン株式会社
撮像装置
1か月前
キヤノン株式会社
測距装置
18日前
キヤノン株式会社
撮像装置
1か月前
キヤノン株式会社
撮像装置
17日前
キヤノン株式会社
撮像装置
11日前
キヤノン株式会社
雲台装置
16日前
キヤノン株式会社
記録装置
16日前
キヤノン株式会社
定着装置
9日前
キヤノン株式会社
定着装置
9日前
キヤノン株式会社
定着装置
3日前
キヤノン株式会社
現像装置
1か月前
キヤノン株式会社
定着装置
9日前
キヤノン株式会社
記録装置
9日前
キヤノン株式会社
撮像装置
16日前
キヤノン株式会社
露光ヘッド
9日前
キヤノン株式会社
液体収容体
18日前
キヤノン株式会社
液体収容体
19日前
キヤノン株式会社
画像形成装置
11日前
キヤノン株式会社
情報処理装置
3日前
キヤノン株式会社
画像形成装置
9日前
キヤノン株式会社
画像形成装置
17日前
続きを見る
他の特許を見る