TOP
|
特許
|
意匠
|
商標
特許ウォッチ
Twitter
他の特許を見る
10個以上の画像は省略されています。
公開番号
2025158862
公報種別
公開特許公報(A)
公開日
2025-10-17
出願番号
2024061798
出願日
2024-04-05
発明の名称
画像形成装置
出願人
キヤノン株式会社
代理人
個人
,
個人
,
個人
,
個人
,
個人
主分類
B41J
29/00 20060101AFI20251009BHJP(印刷;線画機;タイプライター;スタンプ)
要約
【課題】 装置本体の内部に操作部を収納することが可能な画像形成装置において、操作部を収納した場合に操作性が低下する。
【解決手段】 表示部を有する操作部を備える画像形成装置において、操作部は表示部の全部が外部に露出する第1の位置と、前記表示部の少なくとも一部が外部から視認できないように前記装置本体の内部に格納される第2の位置との間で移動可能であり、操作部が第2の位置に位置する場合、ハードキーは外部に露出する。
【選択図】 図7
特許請求の範囲
【請求項1】
記録材に画像を形成する画像形成部を有する装置本体と、
画像形成に関する情報を表示する表示部と、ユーザーの操作を受け付けるハードキーとを有する操作部であって、前記表示部の全部が前記装置本体の外部に露出する第1の位置と、前記表示部の少なくとも一部が前記装置本体の外部から視認できないように前記装置本体の内部に格納される第2の位置との間で移動可能である操作部と、
を備え、
前記操作部が前記第2の位置に位置する場合、前記ハードキーは前記装置本体の外部に露出する、
ことを特徴とする画像形成装置。
続きを表示(約 970 文字)
【請求項2】
前記操作部が前記第1の位置に位置する場合、前記ハードキーは前記装置本体の外部に露出する、
ことを特徴とする請求項1に記載の画像形成装置。
【請求項3】
前記操作部が前記第1の位置に位置する場合、ユーザーは前記ハードキーを押圧することが可能であることを特徴とする請求項1に記載の画像形成装置。
【請求項4】
前記操作部は、前記第1の位置と、前記第2の位置と、前記表示部の全面が前記装置本体の内部に格納された第3の位置と、に移動可能であることを特徴とする請求項1に記載の画像形成装置。
【請求項5】
前記ハードキーは第1のハードキーと第2のハードキーとを含み、
前記操作部が前記第1の位置に位置する場合、前記第1のハードキーは前記装置本体の外部に露出し、前記第2のハードキーは前記装置本体の外部に露出する、ことを特徴とする請求項1に記載の画像形成装置。
【請求項6】
前記操作部が前記第2の位置に位置する場合、前記第1のハードキーは前記装置本体の外部に露出し、前記第2のハードキーは前記装置本体の外部に露出しない、ことを特徴とする請求項5に記載の画像形成装置。
【請求項7】
前記操作部が前記第2の位置に位置する場合、ユーザーは前記第1のハードキーを押圧することが可能であり、かつ、ユーザーは前記第2のハードキーを押圧することができない、ことを特徴とする請求項6に記載の画像形成装置。
【請求項8】
前記表示部は輝度を調整することが可能であり、
前記操作部の輝度は、前記操作部が前記第1の位置に位置する場合において第1の輝度であり、前記操作部が前記第2の位置に位置する場合において前記第1の輝度よりも暗い第2の輝度である、
ことを特徴とする請求項1に記載の画像形成装置。
【請求項9】
前記操作部が前記第2の位置に位置する場合において、前記表示部は消灯することを特徴とする請求項8に記載の画像形成装置。
【請求項10】
前記表示部はユーザーによるタッチ操作を受け付けることを特徴とする請求項1に記載の画像形成装置。
(【請求項11】以降は省略されています)
発明の詳細な説明
【技術分野】
【0001】
本発明は、操作パネルを有する画像形成装置に関する。
続きを表示(約 1,700 文字)
【背景技術】
【0002】
一般に、記録媒体に画像を形成する画像形成装置は、画像形成動作の進行状況又は各種の設定内容等の情報を表示するためのディスプレイを備える操作部を有している。上述の操作部は、その大きさと設置位置によっては記録媒体の排出領域における視認性を低下させる場合がある。特許文献1では、タッチパネルを備える操作部の一部を装置本体に設けた収納部に収納し、必要に応じて操作部を引き出すことで排出領域の視認性を確保した構成が開示されている。
【先行技術文献】
【特許文献】
【0003】
特開2021-53818号公報
【発明の概要】
【発明が解決しようとする課題】
【0004】
特許文献1に開示された操作部はタッチパネルディスプレイによる操作を行うため、操作部の全域を格納した場合には画像形成装置に対する操作を行うことができない。画像形成装置に対する操作を行うためには、収納されている操作部を引き出す動作が必要となり、ユーザビリティが低下する虞がある。
【0005】
上記課題に鑑み、本発明では、装置本体の内部に操作部を収納することが可能な画像形成装置において、操作部を収納した場合に操作性が低下する虞を低減することを目的とする。
【課題を解決するための手段】
【0006】
本発明に係る画像形成装置は、記録材に画像を形成する画像形成部を有する装置本体と、画像形成に関する情報を表示する表示部と、ユーザーの操作を受け付けるハードキーとを有する操作部であって、前記表示部の全部が前記装置本体の外部に露出する第1の位置と、前記表示部の少なくとも一部が前記装置本体の外部から視認できないように前記装置本体の内部に格納される第2の位置との間で移動可能である操作部と、を備え、前記操作部が前記第2の位置に位置する場合、前記ハードキーは前記装置本体の外部に露出する、ことを特徴とする。
【発明の効果】
【0007】
装置本体の内部に操作部を収納することが可能な画像形成装置において、操作部を収納した場合に操作性が低下する虞を低減することができる。
【図面の簡単な説明】
【0008】
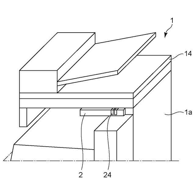
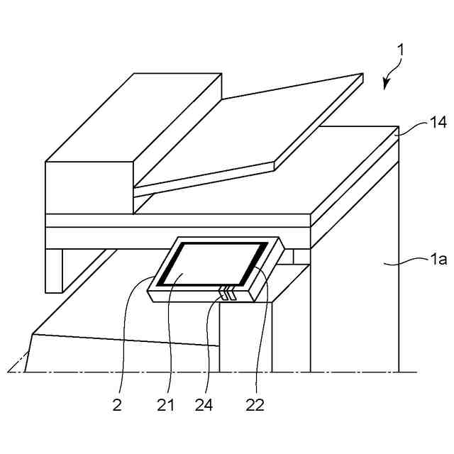
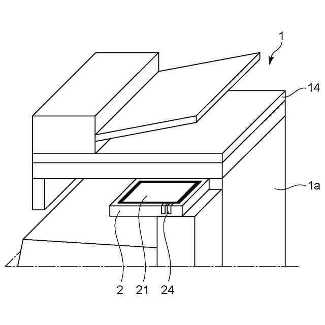
本発明の実施の形態に係る画像形成装置の模式図である。
本発明の実施の形態に係る画像形成装置の操作パネルが格納状態である場合斜視図である。
本発明の実施の形態に係る画像形成装置の操作パネルが露出状態且つ回動前の状態の斜視図である。
本発明の実施の形態に係る画像形成装置の操作パネルが露出状態且つ回動後の状態の斜視図である。
本発明の実施の形態に係る画像形成装置を含む画像形成システムの構成を示すブロック図である。
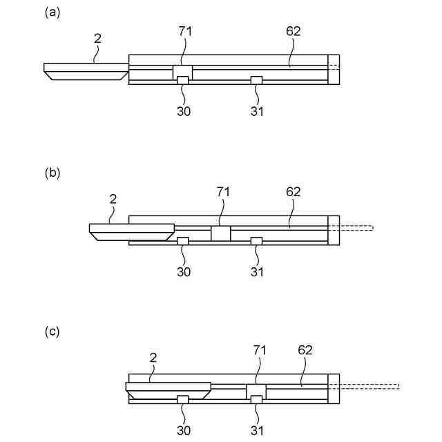
本発明の実施の形態に係る画像形成装置の操作パネルの構成を示すブロック図である。
本発明の実施の形態に係る画像形成装置の操作パネルの動作を示す図である。
本発明の実施の形態に係る画像形成装置が実行するパネル状態検知処理のフロー図である。
本発明の実施の形態に係る画像形成装置が実行する表示部格納時制御処理のフロー図である。
本発明の実施の形態に係る画像形成装置が実行するタッチパネル格納時制御処理のフロー図である。
本発明の実施の形態に係る画像形成装置が実行する表示部露出時制御処理のフロー図である。
本発明の実施の形態に係る画像形成装置が実行するタッチパネル露出時制御処理のフロー図である。
本発明の実施の形態に係る操作パネルの斜視図である。
本発明の実施の形態に係る入力キーの実行有無を決定するフロー図である。
本発明の実施の形態に係る操作パネルの表示の一例を示す図である。
【発明を実施するための形態】
【0009】
以下、実施の形態について図面を参照して詳細に説明する。
【0010】
<画像形成システムの構成>
本発明の実施の形態に係る画像形成システムAの構成について、図1から図5を参照しながら、詳細に説明する。
(【0011】以降は省略されています)
この特許をJ-PlatPat(特許庁公式サイト)で参照する
関連特許
キヤノン株式会社
現像装置
2日前
キヤノン株式会社
測距装置
4日前
キヤノン株式会社
画像形成装置
3日前
キヤノン株式会社
画像形成装置
2日前
キヤノン株式会社
画像形成装置
3日前
キヤノン株式会社
画像形成装置
5日前
キヤノン株式会社
画像形成装置
3日前
キヤノン株式会社
電子写真装置
2日前
キヤノン株式会社
画像形成装置
2日前
キヤノン株式会社
画像形成装置
2日前
キヤノン株式会社
レンズキャップ
3日前
キヤノン株式会社
画像形成システム
4日前
キヤノン株式会社
画像形成システム
4日前
キヤノン株式会社
光学系及び画像読取装置
2日前
キヤノン株式会社
検知装置、画像形成装置
2日前
キヤノン株式会社
インクジェット記録装置
2日前
キヤノン株式会社
検知装置、画像形成装置
2日前
キヤノン株式会社
通信装置およびその制御方法
4日前
キヤノン株式会社
撮影装置、撮影装置の制御方法
5日前
キヤノン株式会社
撮像装置、方法、及びプログラム
4日前
キヤノン株式会社
画像形成装置及び箔印刷システム
3日前
キヤノン株式会社
通信装置、制御方法、プログラム
4日前
キヤノン株式会社
通信装置、制御方法、プログラム
4日前
キヤノン株式会社
画像形成装置及び箔印刷システム
3日前
キヤノン株式会社
半導体装置及び光電変換システム
5日前
キヤノン株式会社
シート排出装置及び画像形成装置
2日前
キヤノン株式会社
制御装置、制御方法、プログラム
5日前
キヤノン株式会社
情報処理装置およびその制御方法
2日前
キヤノン株式会社
液体吐出ヘッドおよび液体吐出装置
4日前
キヤノン株式会社
撮像装置、制御方法及びプログラム
4日前
キヤノン株式会社
蒸着装置および発光装置の製造方法
3日前
キヤノン株式会社
撮影装置、及び撮影装置の制御方法
5日前
キヤノン株式会社
光電変換装置、撮像システム、移動体
2日前
キヤノン株式会社
撮像装置、制御方法およびプログラム
4日前
キヤノン株式会社
情報処理装置、方法、及びプログラム
3日前
キヤノン株式会社
電子写真装置及びプロセスカートリッジ
5日前
続きを見る
他の特許を見る