TOP
|
特許
|
意匠
|
商標
特許ウォッチ
Twitter
他の特許を見る
公開番号
2025162642
公報種別
公開特許公報(A)
公開日
2025-10-28
出願番号
2024065952
出願日
2024-04-16
発明の名称
画像形成装置
出願人
キヤノン株式会社
代理人
個人
主分類
G03G
21/00 20060101AFI20251021BHJP(写真;映画;光波以外の波を使用する類似技術;電子写真;ホログラフイ)
要約
【課題】ルーバからの異物の侵入を防止しつつ、必要な空気の吸排気量を確保する。
【解決手段】画像形成装置は、外装カバーに設けられる通気口26と、通気口26を通る気流を生む冷却ファン22と、通気口26に設けられる開口を有するルーバ21と、を備える。ルーバ21は、冷却ファン22に所定距離よりも近い位置に配置される異物侵入防止ルーバ21aと、冷却ファン22に所定距離よりも遠い位置に配置される吸排気ルーバ21bと、を含む。異物侵入防止ルーバ21aの開口は吸排気ルーバ21bの開口よりも小さく構成されていることを特徴とする。
【選択図】図5
特許請求の範囲
【請求項1】
外装カバーに設けられる通気口と、
前記通気口を通る気流を生むファンと、
前記通気口に設けられる開口を有するルーバと、を備え、
前記ルーバは、前記ファンに所定距離よりも近い位置に配置される第1ルーバと、前記ファンに前記所定距離よりも遠い位置に配置される第2ルーバと、を含み、
前記第1ルーバの開口は前記第2ルーバの開口よりも小さく構成されていることを特徴とする、
画像形成装置。
続きを表示(約 650 文字)
【請求項2】
前記ファンは、発熱源を冷却し、
前記第1ルーバから前記発熱源までの距離が、前記第2ルーバから前記発熱源までの距離より短いことを特徴とする、
請求項1記載の画像形成装置。
【請求項3】
前記発熱源は、電気基板であることを特徴とする、
請求項2記載の画像形成装置。
【請求項4】
前記第1ルーバは、前記電気基板に前記所定距離よりも近い位置に配置されることを特徴とする、
請求項3記載の画像形成装置。
【請求項5】
前記第1ルーバは、前記電気基板から100[mm]以内に配置されることを特徴とする、
請求項3記載の画像形成装置。
【請求項6】
前記発熱源は、シートに画像を定着させる定着器であることを特徴とする、
請求項2記載の画像形成装置。
【請求項7】
前記ファンの送風方向とは異なる方向に前記定着器の制御を行う制御基板が配置されることを特徴とする、
請求項6記載の画像形成装置。
【請求項8】
前記第1ルーバの開口は、対角線上の長さが5[mm]以下、もしくは開口部縦横どちらかの長さが1[mm]以下であることを特徴とする、
請求項1記載の画像形成装置。
【請求項9】
前記第2ルーバは、前記ファンによる送風方向に対して斜めに配置されていることを特徴とする、
請求項1記載の画像形成装置。
発明の詳細な説明
【技術分野】
【0001】
本発明は、画像形成装置の外装カバーに設けられるルーバに関する。
続きを表示(約 1,400 文字)
【背景技術】
【0002】
画像形成装置は、機体内部に設けられる電気基板や定着器等から熱が発生する。機体内部の冷却のために、画像形成装置は外気の吸排気を行う。そのために画像形成装置の外装カバーには、外気の吸排気のための通気口が設けられる。通気口近傍の画像形成装置内部には、外気の吸排気のためのファンが配置される。通気口には、安全を確保するためのルーバが設けられることがある(特許文献1)。
【先行技術文献】
【特許文献】
【0003】
特開2006-64896号公報
【発明の概要】
【発明が解決しようとする課題】
【0004】
画像形成装置は、高速化がますます進んでおり、内部で発生する熱量が増加する傾向にある。同時に、画像形成装置は小型化も進んでいる。そのために、発熱源となる電気基板や定着器等の近傍に、冷却ファンや通気口が設けられる。通気口に設けられるルーバは、必要な吸排気量の確保のために複数の開口部が設けられる。各開口部の面積は、できるだけ大きく構成される。しかしルーバの開口部の拡大は、画像形成装置内への異物の侵入を招く。侵入した異物は、画像形成装置内部の発熱源や冷却ファンへ接触することがある。発熱源や冷却ファンへの異物の接触は、画像形成装置の故障の原因となる。
【0005】
本発明は、上述の問題に鑑み、ルーバからの異物の侵入を防止しつつ、必要な空気の吸排気量を確保することができる画像形成装置を提供することを主たる目的とする。
【課題を解決するための手段】
【0006】
本発明の画像形成装置は、外装カバーに設けられる通気口と、前記通気口を通る気流を生むファンと、前記通気口に設けられる開口を有するルーバと、を備え、前記ルーバは、前記ファンに所定距離よりも近い位置に配置される第1ルーバと、前記ファンに前記所定距離よりも遠い位置に配置される第2ルーバと、を含み、前記第1ルーバの開口は前記第2ルーバの開口よりも小さく構成されていることを特徴とする。
【発明の効果】
【0007】
本発明によれば、ルーバからの異物の侵入を防止しつつ、必要な空気の吸排気量を確保することが可能となる。
【図面の簡単な説明】
【0008】
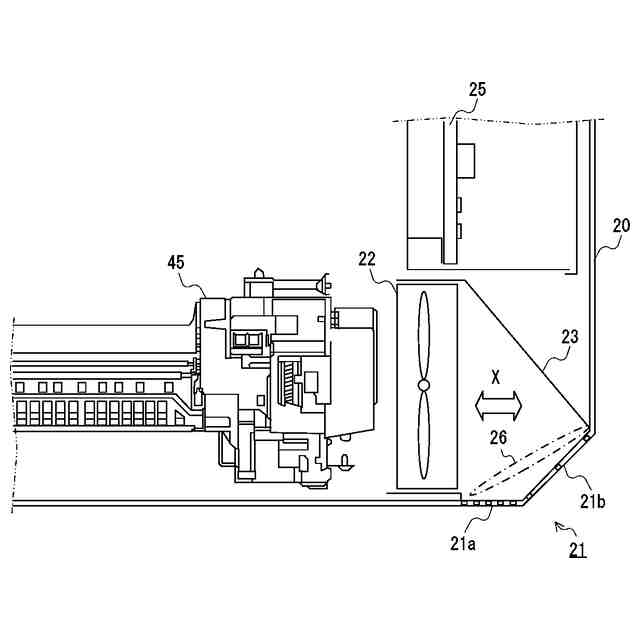
画像形成装置の外観斜視図。
画像形成装置の内部構成図。
ルーバの斜視図。
ルーバ近傍の拡大図。
ルーバ近傍の上方からの断面図。
異物侵入防止ルーバの詳細な形状の説明図。
ルーバ近傍の上方からの断面図。
【発明を実施するための形態】
【0009】
以下、添付図面を参照して本発明の好適な実施形態について説明する。
【0010】
図1は、本実施形態の画像形成装置の外観斜視図である。画像形成装置1は、原稿読取部41、操作部46、給紙ユニット42、及び排出トレイ13を備える。原稿読取部41は、原稿から画像を読み取るリーダである。操作部46は、入力インタフェースと出力インタフェースを有するユーザインタフェースである。入力インタフェースは、例えば各種キーボタン、タッチパネル等である。出力インタフェースは、ディスプレイ、スピーカ等である。ユーザは、操作部46により画像形成装置に各種設定を行うことができる。
(【0011】以降は省略されています)
この特許をJ-PlatPat(特許庁公式サイト)で参照する
関連特許
他の特許を見る