TOP
|
特許
|
意匠
|
商標
特許ウォッチ
Twitter
他の特許を見る
10個以上の画像は省略されています。
公開番号
2025162512
公報種別
公開特許公報(A)
公開日
2025-10-27
出願番号
2025008823
出願日
2025-01-22
発明の名称
画像形成装置
出願人
キヤノン株式会社
代理人
個人
,
個人
,
個人
,
個人
,
個人
主分類
B41J
29/13 20060101AFI20251020BHJP(印刷;線画機;タイプライター;スタンプ)
要約
【課題】 操作性を向上した画像形成装置を提供すること。
【解決手段】 上ヒンジ140によって、外装カバー100が本体フレーム200に対して回動可能に連結されている。上ヒンジ140は、軸部材161、軸支持部材162、軸支持部材163、規制部材164を含む。軸支持部材162は、前扉100のフレーム120の裏側に固定されている。軸支持部材163は、本体フレーム200に固定されている。軸支持部材162と軸支持部材163とを連結することで、前扉100を本体フレーム200に対して一時的に静止した状態で保持することができる。前扉100が自由状態であるとき、上ヒンジ140の軸部材161、軸支持部材162及び軸支持部材163が上方に露出されている。また規制部材164は上方向から取り付けられる。そのため、前扉100を自由状態としたまま、軸支持部材162及び軸支持部材163に規制部材164を取り付けることができる。
【選択図】 図27
特許請求の範囲
【請求項1】
シートに画像を形成するための画像形成部と、
鉛直方向に交差する第1方向にシートを搬送する搬送部と、
前記記録部および前記搬送部を支持する本体フレームと、
前記鉛直方向および前記第1方向に交差する前後方向において前記画像形成部の前側に配置され、前面の外装をなすように前記本体フレームに取り付けられた外装カバーと、
前記外装カバーと前記本体フレームとを連結するヒンジと、を備え、
前記ヒンジは、
前記本体フレームに取り付けられた第1軸支持部材と、
前記外装カバーに取り付けられた第2軸支持部材と、
前記第1軸支持部材、及び前記第2軸支持部材によって支持された軸部材と、
前記軸部材の位置を規制する規制部材と、を含み、
前記外装カバーは前記軸部材を中心に回動することで開閉し、
前記外装カバーが自由状態であるときに、前記第1軸支持部材、及び前記第2軸支持部材に対して、前記規制部材を取り付けること、または、取り外すことが可能である、
ことを特徴とする画像形成装置。
続きを表示(約 1,400 文字)
【請求項2】
前記外装カバーは、前記鉛直方向の上端の側の回動軸を中心に回動することで開閉し、
前記自由状態の前記外装カバーには、前記軸部材を支点として閉位置に向かう方向に自重によるモーメントが作用し、
前記自由状態の前記外装カバーは、前記閉位置において前記本体フレームと接触し、かつ、前記モーメントと均衡する力を受けることで、前記閉位置において静定する、
ことを特徴とする請求項1に記載の画像形成装置。
【請求項3】
前記外装カバーは、前記鉛直方向の上端の側の回動軸を中心に回動することで開閉し、
前記外装カバーが自由状態であり、かつ、前記規制部材が取り外された状態において、前記第1軸支持部材、及び前記第2軸支持部材の少なくとも一部が上方に露出される、
ことを特徴とする請求項1に記載の画像形成装置。
【請求項4】
前記外装カバーは、透明材料で形成された透明カバーと、前記透明の周囲の少なくとも一部に配置されたカバーフレームと、を有する、
ことを特徴とする請求項1に記載の画像形成装置。
【請求項5】
前記外装カバーが閉じられた状態で、前記画像形成部の少なくとも一部が前記透明カバーを通して視認される、
ことを特徴とする請求項4に記載の画像形成装置。
【請求項6】
前記本体フレームは、第1方向の両側に配置され、それぞれ鉛直方向に延びる第1支柱と第2支柱とを有し、
前記画像形成部は、第1方向において前記第1支柱と前記第2支柱との間に配置され、
前記カバーフレームは、前記本体フレームの前記第1支柱に対向する第1カバーフレーム部と、前記本体フレームの前記第2支柱に対向する第2カバーフレーム部と、を有し、
前記透明カバーは、前記第1カバーフレーム部から前記第2カバーフレーム部までに渡って設けられている、
ことを特徴とする請求項4に記載の画像形成装置。
【請求項7】
前記画像形成部のメンテナンスを行うメンテナンス部と、
シートの画像を読み取る読取部と、を備え、
前記メンテナンス部は、第1方向において前記画像形成部と前記第1支柱との間に位置するように、前記本体フレームに支持され、
前記読取部は、第1方向において前記画像形成部と前記第2支柱との間に位置するように、前記本体フレームに支持される、
ことを特徴とする請求項6に記載の画像形成装置。
【請求項8】
前記外装カバーが閉じられた状態で、前記画像形成部の少なくとも一部、前記メンテナンス部の少なくとも一部、及び、前記読取部の少なくとも一部が、前記透明カバーを通して視認される、
ことを特徴とする請求項7に記載の画像形成装置。
【請求項9】
前記外装カバーの回動を補助するガススプリングを備える、ことを特徴とする請求項1に記載の画像形成装置。
【請求項10】
前記画像形成装置は、前記画像形成部と前記搬送部を含む第1のモジュールを備え、
前記画像形成装置は、さらに、前記第1のモジュールに前記第1方向において隣接して連結され、前記第1のモジュールとは機能が異なる第2のモジュールを備える、
ことを特徴とする請求項1に記載の画像形成装置。
発明の詳細な説明
【技術分野】
【0001】
本発明は、画像形成を行う印刷機、複写機、プリンタ等の画像形成装置に関する。
続きを表示(約 2,400 文字)
【背景技術】
【0002】
産業印刷業界ではオペレーターが画像形成装置の稼働状態を目視できる事が望まれている。大判インクジェット印刷機ではインク吐出ヘッドが走査する様子が見えるようになっている画像形成装置が提供されている。また、ラベル印刷機も同様に稼働状態が見える画像形成装置が上市されている。
【0003】
これらの画像形成装置は、装置本体の高さが人の背丈より低いのが一般的である。これらの画像形成装置にて稼働状態を目視できる構成としては、画像形成装置の記録部を外装カバーで覆わない構成がある。あるいは、画像形成装置の前面に外装カバーを設けて一部に透明窓を配置した構成がある。また、画像形成装置の内部に照明を設けて視認性を上げているものもある(特許文献1)。
【0004】
カット紙/枚葉紙における商業印刷機でも、記録部が見える印刷機が上市されている。これらの印刷機は、大判インクジェット印刷機やラベル印刷機よりも相対的に装置が大きく高さも2m前後あり、外装カバーとしての扉は横開き(観音開き)である事が一般的である。
【先行技術文献】
【特許文献】
【0005】
特開2016-215522号公報
【発明の概要】
【発明が解決しようとする課題】
【0006】
装置の大型化に伴い、外装カバーの扉も大きくなる傾向がある。しかしながら、大型の扉は重いため、扉を取り付ける作業が困難であることが多い。そのため、組み立て作業を容易にすることが望まれている。そこで、本発明の目的は、容易に組み立てることのできる画像形成装置を提供することである。
【課題を解決するための手段】
【0007】
上記目的を達成するための本発明の代表的な構成は、シートに画像を形成するための画像形成部と、鉛直方向に交差する第1方向にシートを搬送する搬送部と、前記記録部および前記搬送部を支持する本体フレームと、前記鉛直方向および前記第1方向に交差する前後方向において前記記録部の前側に配置され、前面の外装をなすように前記本体フレームに取り付けられた外装カバーと、前記外装カバーと前記本体フレームとを連結するヒンジと、を備え、前記ヒンジは、
前記本体フレームに取り付けられた第1軸支持部材と、前記外装カバーに取り付けられた第2軸支持部材と、前記第1軸支持部材、及び前記第2軸支持部材によって支持された軸部材と、前記軸部材の位置を規制する規制部材と、を含み、前記外装カバーは前記軸部材を中心に回動することで開閉し、前記外装カバーが自由状態であるときに、前記第1軸支持部材、及び前記第2軸支持部材に対して、前記規制部材を取り付けること、または、取り外すことが可能である、ことを特徴とする。
【発明の効果】
【0008】
本発明によれば、容易に組み立てることのできる画像形成装置を提供することができる。
【図面の簡単な説明】
【0009】
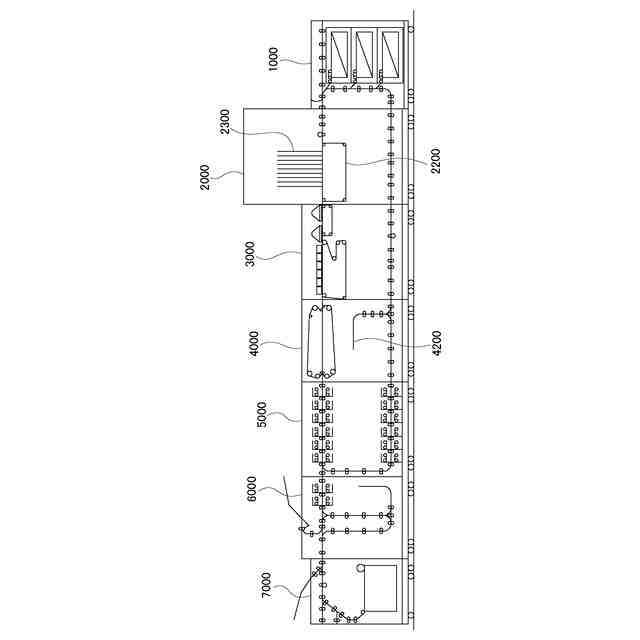
画像形成装置の概略構成を示す模式断面図
プリントモジュールの模式断面図
前扉を開けた状態のプリントモジュールを前側から見た模式図
プリントベルトユニットの斜視図
記録ヘッドをインク吐出面方向から見た斜視図
記録ヘッドの退避位置を示す斜視図
記録ヘッドの印刷位置を示す斜視図
(a)(b)記録ヘッドの印刷位置への移動を説明する図
(a)(b)記録ヘッドの印刷位置への移動を説明する図
(a)(b)記録ヘッドの印刷位置への移動を説明する図
ヘッドホルダに対して記録ヘッドを取り付ける前の状態を示す斜視図
(a)(b)スキャナユニットの移動動作を示す斜視図
(a)(b)スキャナユニットの移動動作を示す斜視図
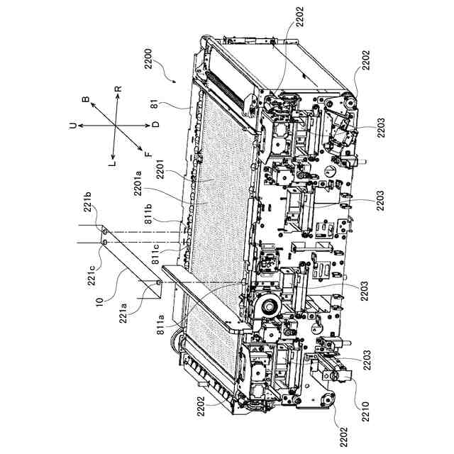
記録部やメンテナンス部がプリントモジュールの本体フレームに搭載された状態を示す模式斜視図
プリントモジュールの本体フレームを真上から見た模式図
プリントモジュールの左視断面図
プリントモジュールの図16におけるG-G断面図
(a)(b)プリントモジュールの前扉の全体模式図
プリントモジュールの前上扉の構成分解図
(a)(b)プリントモジュールの前扉が上開きしている図
上開きしている前扉の吊り紐について説明する図
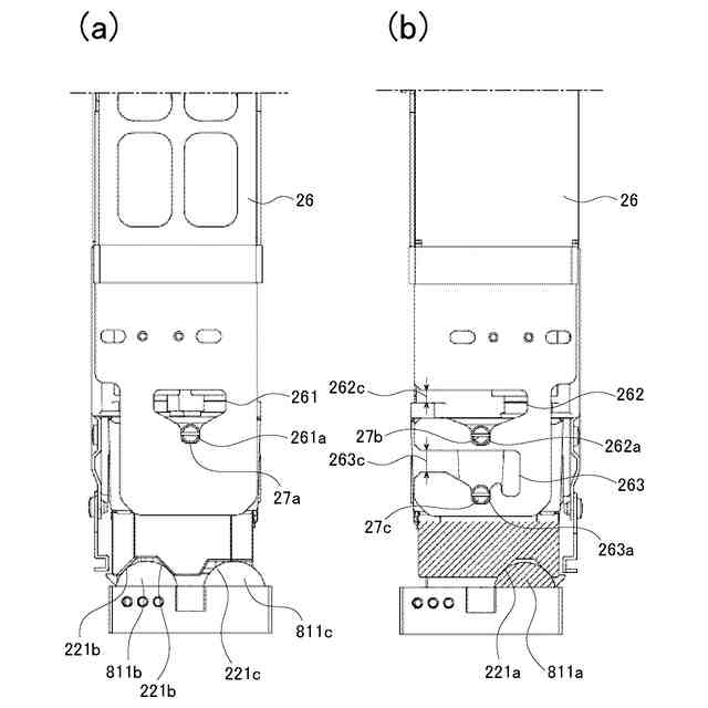
上ヒンジを示す斜視図
前扉と上ヒンジを示す斜視図
本体フレームと上ヒンジを示す斜視図
上ヒンジを示す斜視図
上ヒンジを示す(a)斜視図、および(b)正面図
上ヒンジを示す斜視図
プリントモジュールの前扉及び本体フレーム、並びにヒンジを示す斜視図
横ヒンジ扉の一例を示す斜視図
横ヒンジを示す斜視図
前扉と横ヒンジを示す斜視図
本体フレームと横ヒンジを示す斜視図
横ヒンジを示す斜視図
横ヒンジを示す斜視図
横ヒンジを示す斜視図
プリントモジュールの前扉及び本体フレーム、並びにヒンジを示す斜視図
プリントモジュールの前扉及び本体フレーム、並びにヒンジを示す斜視図
【発明を実施するための形態】
【0010】
以下、図面を参照して、本発明に係る画像形成装置の一実施形態を具体的に説明する。尚、以下に示す画像形成装置の各構成部品の寸法、材質およびその相対位置等は、特に特定的な記載がない限りは本発明の範囲をそれらのみに限定するものではない。また、各図において同一の符号を付したものは、同一の構成または作用をなすものであり、これらについて重複説明は適宜省略する。
【実施例】
(【0011】以降は省略されています)
この特許をJ-PlatPat(特許庁公式サイト)で参照する
関連特許
個人
印鑑
3日前
個人
箔熱転写装置
2か月前
シヤチハタ株式会社
印判
6か月前
東レ株式会社
凸版印刷版原版
12か月前
シヤチハタ株式会社
反転式印判
11か月前
キヤノン株式会社
記録装置
2か月前
三光株式会社
感熱記録材料
8か月前
キヤノン株式会社
電子機器
1か月前
独立行政法人 国立印刷局
印刷物
9か月前
株式会社リコー
印刷システム
2か月前
株式会社リコー
画像形成装置
2か月前
株式会社リコー
液体吐出装置
6か月前
株式会社リコー
画像形成装置
2か月前
株式会社リコー
液体吐出装置
7か月前
独立行政法人 国立印刷局
記録媒体
10か月前
株式会社リコー
液体吐出装置
9か月前
株式会社リコー
液体吐出装置
7か月前
日本製紙株式会社
感熱記録体
9か月前
株式会社リコー
液体吐出装置
9か月前
独立行政法人 国立印刷局
貼付機構
3か月前
株式会社リコー
液体吐出装置
6か月前
株式会社リコー
液体吐出装置
10か月前
株式会社リコー
液体吐出装置
3か月前
独立行政法人 国立印刷局
貼付装置
3か月前
株式会社リコー
画像形成装置
2か月前
キヤノン株式会社
画像形成装置
8か月前
キヤノン株式会社
印刷システム
18日前
キヤノン株式会社
画像処理装置
6か月前
理想科学工業株式会社
印刷装置
8か月前
ブラザー工業株式会社
プリンタ
6か月前
ブラザー工業株式会社
液体吐出ヘッド
2か月前
キヤノン株式会社
印刷制御装置
12か月前
フジコピアン株式会社
中間転写シート
11か月前
キヤノン株式会社
画像形成装置
5か月前
キヤノン株式会社
画像形成装置
1か月前
キヤノン株式会社
画像記録装置
2か月前
続きを見る
他の特許を見る