TOP
|
特許
|
意匠
|
商標
特許ウォッチ
Twitter
他の特許を見る
公開番号
2025157841
公報種別
公開特許公報(A)
公開日
2025-10-16
出願番号
2024060120
出願日
2024-04-03
発明の名称
画像形成装置
出願人
キヤノン株式会社
代理人
個人
主分類
B41J
29/00 20060101AFI20251008BHJP(印刷;線画機;タイプライター;スタンプ)
要約
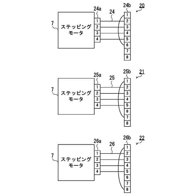
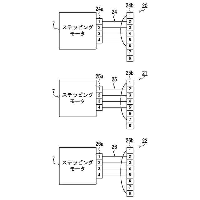
【課題】取り付けられたオプション部材を自動的に識別する。
【解決手段】画像形成装置は、いずれか一つが排他的に取り付けられる複数のモータユニット20、21、22と、取り付けられたモータユニット20、21、22の動作を制御する制御部(1)と、を備える。モータユニット20、21、22は、複数のピンを有して制御部(1)に接続されるハーネス24、25、26を含む。ハーネス24、25、26は、モータユニット20、21、22のそれぞれに応じて異なる2ピンが接続される。制御部(1)は、ハーネス24、25、26が接続されることで生成される識別信号に基づいて、取り付けられたモータユニット20、21、22を識別する。識別信号は、接続されたハーネス24、25、26の接続される2ピンに応じて状態が変化する。
【選択図】図4
特許請求の範囲
【請求項1】
ケーブルが選択的に接続される複数の識別用端子を含むコネクタと、
前記複数の識別用端子のうち、ケーブルと接続された識別用端子に応じて装置の状態を識別する識別手段と、を備えることを特徴とする、
画像形成装置。
続きを表示(約 1,200 文字)
【請求項2】
前記コネクタは、前記複数の識別用端子とは別に、基準端子をさらに含み、
前記ケーブルは、前記複数の識別用端子の1つと前記基準端子とを接続することを特徴とする、
請求項1記載の画像形成装置。
【請求項3】
前記コネクタは、前記複数の識別用端子とは別に、基準端子をさらに含み、
前記ケーブルは、前記複数の識別用端子の1つと前記基準端子とを接続し、
前記基準端子には第1電圧が供給され、
前記複数の識別用端子のそれぞれは、抵抗素子を介して、前記第1電圧とは異なる第2電圧の供給されたノードに接続されることを特徴とする、
請求項1記載の画像形成装置。
【請求項4】
前記識別手段は、前記複数の識別用端子のうち、他と異なる電圧の1つを識別することに基づいて、前記状態を識別することを特徴とする、
請求項3記載の画像形成装置。
【請求項5】
前記識別手段は、前記複数の識別用端子のそれぞれの電圧を、所定の閾値と比較することで、前記状態を識別することを特徴とする、
請求項3記載の画像形成装置。
【請求項6】
前記コネクタは、前記複数の識別用端子とは別に、基準端子をさらに含み、
前記ケーブルは、前記複数の識別用端子の1つと前記基準端子とを接続し、
前記基準端子は、抵抗素子を介して、第1電圧の供給されたノードに接続され、
前記複数の識別用端子は、互いに異なる抵抗値を持つ複数の抵抗素子を介して、それぞれ前記第1電圧とは異なる第2電圧の供給されたノードに接続されることを特徴とする、
請求項1記載の画像形成装置。
【請求項7】
前記識別手段は、前記基準端子の電圧に基づいて、前記状態を識別することを特徴とする、
請求項6記載の画像形成装置。
【請求項8】
前記識別手段は、前記基準端子に接続された前記抵抗素子と、前記ケーブルの接続された前記識別用端子に接続された前記抵抗素子とによって分圧した電圧に基づいて、前記状態を識別することを特徴とする、
請求項6記載の画像形成装置。
【請求項9】
オプション部材が選択的に取り付けられる複数のオプション取付部を備え、
前記識別手段は、ケーブルと接続された識別用端子に応じて、前記複数のオプション取付部の中から前記オプション部材の取り付けられたオプション取付部を識別することを特徴とする、
請求項1記載の画像形成装置。
【請求項10】
前記コネクタは、前記オプション部材との間で通信される信号を伝達する信号端子をさらに含むことを特徴とする、
請求項9記載の画像形成装置。
(【請求項11】以降は省略されています)
発明の詳細な説明
【技術分野】
【0001】
本発明は、後処理装置が接続可能な画像形成装置に関する。
続きを表示(約 1,500 文字)
【背景技術】
【0002】
印刷機の市場では、成果物の品位への要求が以前よりも高くなっている。また、画像が印刷されたシートに対して後処理(加工、製本等)が行われることも多くなっている。このように画像形成装置で生成された成果物への様々な要求に対応するために、画像形成装置には様々な種類の後処理装置が接続可能になっている。印刷後のシートを後処理装置へ受け渡すために、画像形成装置のシートの排出部と後処理装置のシートの受取部とは、高さが合わせられる。
【0003】
画像形成装置は、後処理装置の受取部に高さを合わせるために、例えば高さが異なる複数の排出部が用意される。複数の排出部は、後処理装置に応じていずれか一つにシート排出のための排出機構が設けられる。このような構成により、多種多様な後処理装置へのシートの受け渡しが可能となっている。接続される後処理装置に応じて画像形成装置の排紙高さが選択される場合、取り付けられた後処理装置を自動的に識別することで、設置時の各種設定を容易にする構成が提案されている(特許文献1)。
【先行技術文献】
【特許文献】
【0004】
特開2000-235331号公報
【発明の概要】
【発明が解決しようとする課題】
【0005】
画像形成装置に用意された複数の排紙口は、後処理装置に応じて一つの排紙口からシートを排出できればよい。排出機構は、イニシャルコストの抑制のためにシートを排出する排紙口に対してのみ設けられ、他の排出口には設けられない。このように排出機構は、利用可能とする排出口に対して選択的に取り付けられるオプション部材である。
【0006】
モータ等の単体部品の取り付けで排出口を利用可能にする簡素な排出機構は、排出機構が設けられた排出口を判定するための情報の受け渡しが困難である。特に、ステッピングモータのように制御基板を含まない排出機構は、排出機構が設けられた排出口を判定するための情報の受け渡しができない。この場合、ステッピングモータを設置しただけでは利用可能となった排出口の識別ができないため、画像形成装置の設置時のサービスマンによる作業が煩雑になってしまう。また、サービスマンの情報入力漏れにより画像形成装置に不具合が生じてしまう可能性もある。排出口毎に取り付けられる排出機構を変更することで、排出機構の識別により利用可能となった排出口を識別することができる。
【0007】
本発明は、上述の問題に鑑み、取り付けられたオプション部材を自動的に識別することができる画像形成装置を提供することを主たる目的とする。
【課題を解決するための手段】
【0008】
本発明の画像形成装置は、ケーブルが選択的に接続される複数の識別用端子を含むコネクタと、前記複数の識別用端子のうち、ケーブルと接続された識別用端子に応じて装置の状態を識別する識別手段と、を備えることを特徴とする。
【発明の効果】
【0009】
本発明によれば、取り付けられたオプション部材を自動的に識別することができる。
【図面の簡単な説明】
【0010】
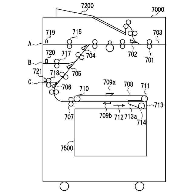
インクジェット記録装置の構成図。
排紙積載モジュールの詳細構成図。
制御部の説明図。
排出機構の説明図。
排出機構と制御部1との接続構成の説明図。
(a)、(b)は、排出機構の識別方法の説明図。
(a)、(b)は、排出機構の識別テーブルの例示図。
【発明を実施するための形態】
(【0011】以降は省略されています)
この特許をJ-PlatPat(特許庁公式サイト)で参照する
関連特許
キヤノン株式会社
表示装置
3日前
キヤノン株式会社
発光装置
3日前
キヤノン株式会社
定着装置
17日前
キヤノン株式会社
撮像装置
11日前
キヤノン株式会社
撮像装置
11日前
キヤノン株式会社
定着装置
11日前
キヤノン株式会社
定着装置
17日前
キヤノン株式会社
表示装置
3日前
キヤノン株式会社
表示装置
3日前
キヤノン株式会社
定着装置
11日前
キヤノン株式会社
撮像装置
5日前
キヤノン株式会社
記録装置
17日前
キヤノン株式会社
撮像装置
3日前
キヤノン株式会社
撮像装置
3日前
キヤノン株式会社
画像形成装置
17日前
キヤノン株式会社
画像形成装置
17日前
キヤノン株式会社
情報処理装置
11日前
キヤノン株式会社
画像形成装置
6日前
キヤノン株式会社
情報処理装置
11日前
キヤノン株式会社
情報処理装置
11日前
キヤノン株式会社
画像形成装置
12日前
キヤノン株式会社
画像形成装置
12日前
キヤノン株式会社
眼科撮像装置
12日前
キヤノン株式会社
情報処理装置
11日前
キヤノン株式会社
画像認識装置
11日前
キヤノン株式会社
画像形成装置
4日前
キヤノン株式会社
画像形成装置
12日前
キヤノン株式会社
画像形成装置
17日前
キヤノン株式会社
画像形成装置
12日前
キヤノン株式会社
画像形成装置
12日前
キヤノン株式会社
情報処理装置
11日前
キヤノン株式会社
画像形成装置
11日前
キヤノン株式会社
画像形成装置
12日前
キヤノン株式会社
画像形成装置
11日前
キヤノン株式会社
画像形成装置
12日前
キヤノン株式会社
画像形成装置
12日前
続きを見る
他の特許を見る