TOP
|
特許
|
意匠
|
商標
特許ウォッチ
Twitter
他の特許を見る
10個以上の画像は省略されています。
公開番号
2025169832
公報種別
公開特許公報(A)
公開日
2025-11-14
出願番号
2024075010
出願日
2024-05-04
発明の名称
画像形成装置
出願人
キヤノン株式会社
代理人
個人
,
個人
主分類
G03G
15/16 20060101AFI20251107BHJP(写真;映画;光波以外の波を使用する類似技術;電子写真;ホログラフイ)
要約
【課題】ベルト寄りを規制する効果を高めつつ、効果的にベルトの垂れ下がりを抑制することを可能とする。
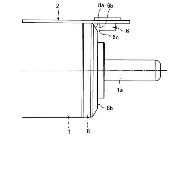
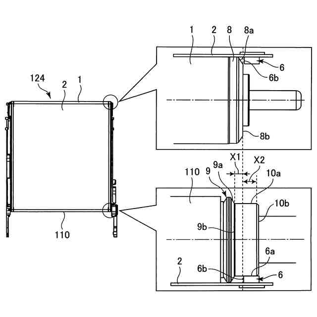
【解決手段】画像形成装置100は、中間転写ベルト2を張架する複数の張架ローラであって、それぞれの回転軸線方向が所定の方向(ローラ軸線方向、ベルト幅方向)に沿うように配置された複数の張架ローラを有し、第1の張架ローラ1は、リブ6と接触してリブ6の上記所定の方向の移動を規制する第1の規制部8aが設けられ、第2の張架ローラ110は、リブ6と接触してリブ6の上記所定の方向の移動を規制する第2の規制部9aと、リブ6と接触してリブ6の第2の張架ローラ110の半径方向の移動を規制する第3の規制部10aと、が設けられ、上記所定の方向における中間転写ベルト2の端部側の第2の規制部9aの端部は、上記所定の方向における中間転写ベルト2の端部側の第1の規制部8aの端部よりも、上記所定の方向における中間転写ベルト2の中央側に位置する。
【選択図】図10
特許請求の範囲
【請求項1】
トナー像を担持する像担持体と、
一次転写部において前記像担持体から一次転写されたトナー像を二次転写部で記録材に二次転写するために搬送する無端状の中間転写ベルトと、
前記中間転写ベルトを張架する複数の張架ローラであって、第1の張架ローラ及び第2の張架ローラを含み、それぞれの回転軸線方向が所定の方向に沿うように配置された複数の張架ローラと、
を有し、
前記中間転写ベルトは、幅方向における端部の内周面に、周方向に沿って延在するリブが設けられ、
前記第1の張架ローラは、前記所定の方向における端部に、前記リブと接触して前記リブの前記所定の方向の移動を規制する第1の規制部が設けられ、
前記第2の張架ローラは、前記所定の方向における端部に、前記リブと接触して前記リブの前記所定の方向の移動を規制する第2の規制部と、前記リブと接触して前記リブの前記第2の張架ローラの半径方向の移動を規制する第3の規制部であって、前記第2の規制部に対して前記所定の方向における前記中間転写ベルトの端部側に位置する第3の規制部と、が設けられ、
前記所定の方向における前記中間転写ベルトの端部側の前記第2の規制部の端部は、前記所定の方向における前記中間転写ベルトの端部側の前記第1の規制部の端部よりも、前記所定の方向における前記中間転写ベルトの中央側に位置することを特徴とする画像形成装置。
続きを表示(約 880 文字)
【請求項2】
前記所定の方向における前記中間転写ベルトの端部側の前記第3の規制部の端部は、前記所定の方向における前記中間転写ベルトの端部側の前記第1の規制部の端部よりも、前記所定の方向における前記中間転写ベルトの端部側に位置することを特徴とする請求項1に記載の画像形成装置。
【請求項3】
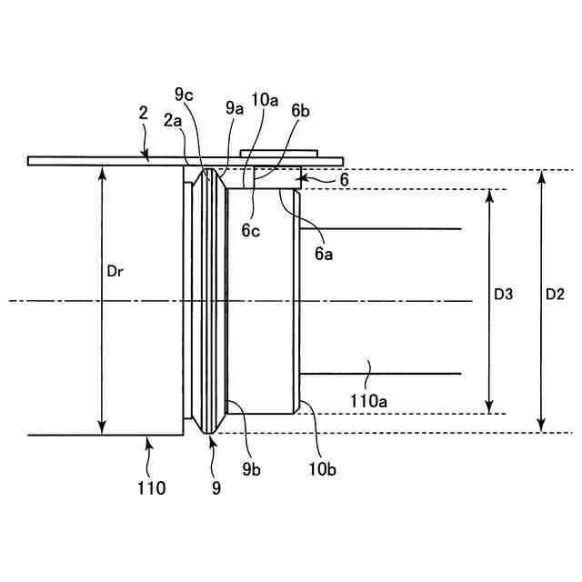
前記第2の張架ローラの前記中間転写ベルトの内周面に接触する部分の外径をDr、前記第2の規制部の外径をD2、前記第3の規制部の外径をD3としたとき、Dr>D2>D3の関係を満たすことを特徴とする請求項1に記載の画像形成装置。
【請求項4】
前記第1の規制部を備えた第1の規制部材が、前記第1の張架ローラに取り付けられていることを特徴とする請求項1に記載の画像形成装置。
【請求項5】
前記第1の規制部材は、前記第1の張架ローラに対して相対的に回転自在に取り付けられていることを特徴とする請求項4に記載の画像形成装置。
【請求項6】
前記第2の規制部及び前記第3の規制部を備えた第2の規制部材が、前記第2の張架ローラに取り付けられていることを特徴とする請求項1に記載の画像形成装置。
【請求項7】
前記第2の規制部材は、前記第2の張架ローラに対して相対的に回転自在に取り付けられていることを特徴とする請求項6に記載の画像形成装置。
【請求項8】
前記第2の規制部を備えた第2の規制部材と、前記第3の規制部を備えた第3の規制部材とが、それぞれ前記第2の張架ローラに対して相対的に回転自在に取り付けられていることを特徴とする請求項1に記載の画像形成装置。
【請求項9】
前記第2の規制部材は、前記所定の方向と略直交する面に関して対称な形状を有することを特徴とする請求項8に記載の画像形成装置。
【請求項10】
前記第2の張架ローラは、前記二次転写部を形成する張架ローラであることを特徴とする請求項1乃至9のいずれか1項に記載の画像形成装置。
発明の詳細な説明
【技術分野】
【0001】
本発明は、電子写真方式や静電記録方式を用いた複写機、プリンタ、ファクシミリ装置、あるいはこれらの機能のうち複数の機能を備えた複合機などの画像形成装置に関するものである。
続きを表示(約 1,900 文字)
【背景技術】
【0002】
従来、例えば電子写真方式を用いた複写機などの画像形成装置として、像担持体に形成されたトナー像を一次転写部で中間転写ベルトに一次転写し、そのトナー像を二次転写部で紙などの記録材に二次転写する中間転写方式を採用したものが広く用いられている。中間転写ベルトは、無端状のベルトで構成されており、複数の張架ローラ(駆動ローラ、テンションローラ、支持ローラなど)に掛け渡され、所定の張力が付与されて張架されている。
【0003】
このような構成の画像形成装置では、中間転写ベルトが搬送(循環駆動)される際に、中間転写ベルトが幅方向(搬送方向と略直交する方向)に移動する「ベルト寄り」と呼ばれる現象が生じることがある。ベルト寄りが生じると、中間転写ベルトの幅方向の端部が他の部材と接触して破損するなどの不具合が生じるおそれがある。
【0004】
そこで、特許文献1に記載されるように、画像形成装置には、中間転写ベルトの幅方向の端部の内周面にリブを設け、張架ローラの回転軸線方向の端部にリブと接触可能な規制部材を設けて、ベルト寄りを規制する、リブ規制方式が採用されることがある。
【先行技術文献】
【特許文献】
【0005】
特開2012-247634号公報
【発明の概要】
【発明が解決しようとする課題】
【0006】
しかしながら、リブ規制方式でベルト寄りの規制を行うローラが1本のみの場合、ベルト寄りを規制しているローラと、そこから離れた位置にあるベルト寄りを規制していないローラとの間で、ベルトの幅方向の位置がずれ、ねじれが生じてしまうことがある。これに対し、ベルト寄りを規制する効果を高めるために、ベルト寄りを規制する2本目のローラを設けることが考えられる。ただし、リブ規制方式でベルト寄りの規制を行うと、リブが規制部材から反力を受けてベルトが波打つ現象が生じることがあるため、単純にベルト寄りを規制するローラを増やすだけでは望ましい結果を得ることは難しい。
【0007】
また、リブ規制方式でベルト寄りを規制しても、ベルトの垂れ下がりは規制されない。「ベルトの垂れ下がり」とは、ベルトの幅方向の端部が張架ローラの半径方向に屈曲する現象である。これは、ベルトのねじれによるベルトのテンションの緩みや、ベルトの幅方向において張架ローラにより支持される位置からベルトの端部が遠ざかることにより、ベルトが屈曲しやすい状態となることで生じる。ベルトの垂れ下がりが起きると、ベルトの屈曲した部分に応力が集中し、ベルトの破損を引き起こすおそれがある。
【0008】
そこで、本発明の目的は、ベルト寄りを規制する効果を高めつつ、効果的にベルトの垂れ下がりを抑制することを可能とすることである。
【課題を解決するための手段】
【0009】
上記目的は本発明に係る画像形成装置にて達成される。要約すれば、本発明は、トナー像を担持する像担持体と、一次転写部において前記像担持体から一次転写されたトナー像を二次転写部で記録材に二次転写するために搬送する無端状の中間転写ベルトと、前記中間転写ベルトを張架する複数の張架ローラであって、第1の張架ローラ及び第2の張架ローラを含み、それぞれの回転軸線方向が所定の方向に沿うように配置された複数の張架ローラと、を有し、前記中間転写ベルトは、幅方向における端部の内周面に、周方向に沿って延在するリブが設けられ、前記第1の張架ローラは、前記所定の方向における端部に、前記リブと接触して前記リブの前記所定の方向の移動を規制する第1の規制部が設けられ、前記第2の張架ローラは、前記所定の方向における端部に、前記リブと接触して前記リブの前記所定の方向の移動を規制する第2の規制部と、前記リブと接触して前記リブの前記第2の張架ローラの半径方向の移動を規制する第3の規制部であって、前記第2の規制部に対して前記所定の方向における前記中間転写ベルトの端部側に位置する第3の規制部と、が設けられ、前記所定の方向における前記中間転写ベルトの端部側の前記第2の規制部の端部は、前記所定の方向における前記中間転写ベルトの端部側の前記第1の規制部の端部よりも、前記所定の方向における前記中間転写ベルトの中央側に位置することを特徴とする画像形成装置である。
【発明の効果】
【0010】
本発明によれば、ベルト寄りを規制する効果を高めつつ、効果的にベルトの垂れ下がりを抑制することが可能となる。
【図面の簡単な説明】
(【0011】以降は省略されています)
この特許をJ-PlatPat(特許庁公式サイト)で参照する
関連特許
個人
表示装置
1か月前
個人
雨用レンズカバー
1か月前
株式会社シグマ
絞りユニット
2か月前
日本精機株式会社
プロジェクタ
3日前
キヤノン株式会社
撮像装置
1か月前
キヤノン株式会社
撮像装置
1か月前
キヤノン株式会社
撮像装置
1か月前
日本精機株式会社
車両用投射装置
2か月前
キヤノン株式会社
撮像装置
2か月前
キヤノン株式会社
撮像装置
2か月前
キヤノン株式会社
撮像装置
10日前
株式会社リコー
画像形成装置
1か月前
株式会社リコー
画像形成装置
24日前
株式会社リコー
画像形成装置
1か月前
株式会社リコー
画像形成装置
1か月前
株式会社リコー
画像形成装置
2か月前
株式会社リコー
画像形成装置
1か月前
キヤノン株式会社
トナー
2か月前
株式会社オプトル
プロジェクタ
2か月前
キヤノン株式会社
トナー
1か月前
キヤノン株式会社
画像形成装置
18日前
キヤノン株式会社
画像形成装置
1か月前
キヤノン株式会社
トナー
2か月前
キヤノン株式会社
画像形成装置
1か月前
沖電気工業株式会社
画像形成装置
5日前
レーザーテック株式会社
光源装置
5日前
キヤノン株式会社
現像装置
1か月前
沖電気工業株式会社
画像形成装置
1か月前
キヤノン株式会社
レンズキャップ
1か月前
スタンレー電気株式会社
照明装置
2か月前
レーザーテック株式会社
光源装置
26日前
沖電気工業株式会社
画像形成装置
1か月前
アイホン株式会社
カメラシステム
2か月前
シャープ株式会社
捺染トナー
3日前
古野電気株式会社
装置
1か月前
株式会社リコー
画像形成装置
2か月前
続きを見る
他の特許を見る