TOP
|
特許
|
意匠
|
商標
特許ウォッチ
Twitter
他の特許を見る
10個以上の画像は省略されています。
公開番号
2025147506
公報種別
公開特許公報(A)
公開日
2025-10-07
出願番号
2024047779
出願日
2024-03-25
発明の名称
照明装置
出願人
スタンレー電気株式会社
代理人
個人
主分類
G03B
21/14 20060101AFI20250930BHJP(写真;映画;光波以外の波を使用する類似技術;電子写真;ホログラフイ)
要約
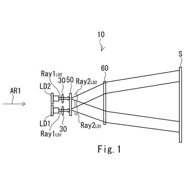
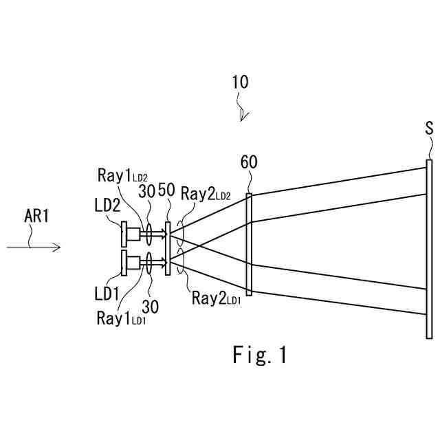
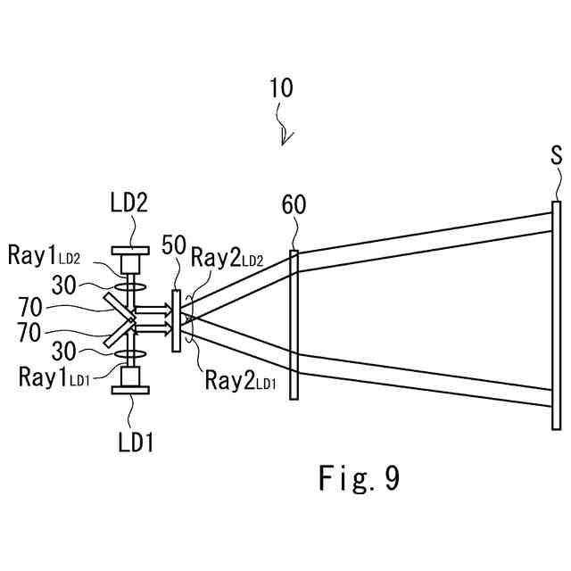
【課題】合波するための追加部材を用いることなく、簡易な構成で合波してより明るい像を作成することができる照明装置を提供する。
【解決手段】照明装置10であって、可視域の波長のレーザー光を受けて、当該レーザー光を投影面Sに投影されるドットパターン群に対応する光線群に変換する回折光学素子50と、第1ドットパターン群に対応する第1光線群Ray2
LD1
に変換される平行光である可視域の波長の第1レーザー光Ray1
LD1
、及び第2ドットパターン群に対応する第2光線群Ray2
LD2
に変換される平行光である可視域の波長の第2レーザー光Ray1
LD2
を前記回折光学素子に入射させる光学系LD1、LD2と、を備える。
【選択図】図1
特許請求の範囲
【請求項1】
可視域の波長のレーザー光を受けて、当該レーザー光を投影面に投影されるドットパターン群に対応する光線群に変換する回折光学素子と、
第1ドットパターン群に対応する第1光線群に変換される平行光である可視域の波長の第1レーザー光、及び第2ドットパターン群に対応する第2光線群に変換される平行光である可視域の波長の第2レーザー光を前記回折光学素子に入射させる光学系と、を備える照明装置。
続きを表示(約 760 文字)
【請求項2】
前記回折光学素子に対する前記第1レーザー光の入射角と異なる入射角で前記第2レーザー光を前記回折光学素子に入射させることにより、前記第1ドットパターン群と前記第2ドットパターン群は前記投影面に所定方向に所定距離互いにずれた状態で形成される請求項1に記載の照明装置。
【請求項3】
前記第1ドットパターン群は、第1ドットピッチでドットが投影されるパターンであり、
前記所定距離は、前記第1ドットピッチの1/2である請求項2に記載の照明装置。
【請求項4】
前記回折光学素子に対する前記第2レーザー光の入射角は、前記第1レーザー光の回折角の1/2である請求項3に記載の照明装置。
【請求項5】
前記回折光学素子に対する前記第1レーザー光の入射角と同一の入射角で前記第2レーザー光を前記回折光学素子に入射させることにより、前記第1ドットパターン群と前記第2ドットパターン群は互いに重なった状態で形成される請求項1に記載の照明装置。
【請求項6】
前記第1レーザー光の波長及び前記第2レーザー光の波長は、互いに同一である請求項1から5のいずれか1項に記載の照明装置。
【請求項7】
前記第1レーザー光の波長及び前記第2レーザー光の波長は、互いに異なっている請求項1又は2に記載の照明装置。
【請求項8】
n個(nは2以上の整数)のレーザー光が入射する回折光学素子を備え、前記回折光学素子は入射したレーザー光をドットパターン群に変換し、前記ドットパターン群の回折角は各レーザー光間で互いに同一であり、前記n個のレーザー光の回折光学素子に対する入射角は、前記回折角の1/n倍ずつ互いに異なることを特徴とする照明装置。
発明の詳細な説明
【技術分野】
【0001】
本開示は、照明装置に関する。
続きを表示(約 1,200 文字)
【背景技術】
【0002】
RGB光源のように波長が互いに異なる光を発光する複数光源を用い、各光源が発光した光をダイクロイックミラーによって合波して、その後、ホモジナイザーで拡散させてLCOS(Liquid Crystal On Silicon)等の光変調素子により像を形成する照明装置(例えば、プロジェクタ)が知られている(例えば非特許文献1参照)。
【先行技術文献】
【特許文献】
【0003】
光技術情報誌「ライトエッジ」No.37〈特集ウシオの新しい取り組み第二回〉[令和6年2月19日検索],インターネット<URL:https://www.ushio.co.jp/jp/technology/lightedge/201206/100438.html>
【発明の概要】
【発明が解決しようとする課題】
【0004】
しかしながら、非特許文献1に記載の照明装置においては、合波するための追加部材(ダイクロイックミラー)が必要となるため、部品点数が多くコストが増大するという課題がある。
【0005】
本開示は、このような問題点を解決するためになされたものであり、合波するための追加部材を用いることなく、簡易な構成で合波してより明るい像を作成することができる照明装置を提供することを目的とする。
【課題を解決するための手段】
【0006】
本開示にかかる照明装置は、可視域の波長のレーザー光を受けて、当該レーザー光を投影面に投影されるドットパターン群に対応する光線群に変換する回折光学素子と、第1ドットパターン群に対応する第1光線群に変換される平行光である可視域の波長の第1レーザー光、及び第2ドットパターン群に対応する第2光線群に変換される平行光である可視域の波長の第2レーザー光を前記回折光学素子に入射させる光学系と、を備える。
【0007】
このような構成により、合波するための追加部材を用いることなく、簡易な構成で合波してより明るい像を作成することができる。
【0008】
また、上記照明装置において、前記回折光学素子に対する前記第1レーザー光の入射角と異なる入射角で前記第2レーザー光を前記回折光学素子に入射させることにより、前記第1ドットパターン群と前記第2ドットパターン群は前記投影面に所定方向に所定距離互いにずれた状態で形成されてもよい。
【0009】
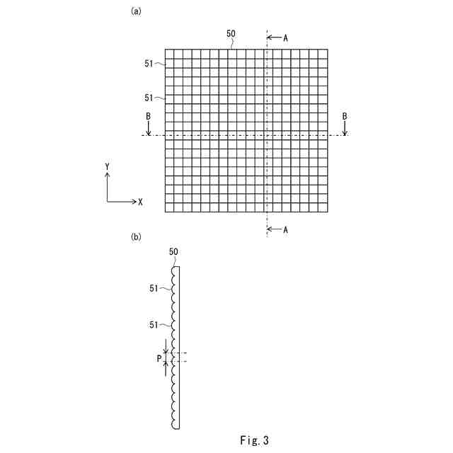
また、上記照明装置において、前記第1ドットパターン群は、第1ドットピッチでドットが投影されるパターンであり、前記所定距離は、前記第1ドットピッチの1/2であってもよい。
【0010】
また、上記照明装置において、前記回折光学素子に対する前記第2レーザー光の入射角は、前記第1レーザー光の回折角の1/2であってもよい。
(【0011】以降は省略されています)
この特許をJ-PlatPat(特許庁公式サイト)で参照する
関連特許
株式会社シグマ
絞りユニット
19日前
キヤノン株式会社
撮像装置
12日前
キヤノン株式会社
撮像装置
1か月前
キヤノン株式会社
撮像装置
18日前
平和精機工業株式会社
雲台
1か月前
株式会社リコー
画像形成装置
3か月前
株式会社リコー
画像形成装置
1か月前
株式会社リコー
画像形成装置
1か月前
株式会社リコー
画像形成装置
1か月前
株式会社リコー
画像形成装置
3か月前
株式会社リコー
画像形成装置
3か月前
株式会社リコー
画像形成装置
2か月前
株式会社リコー
画像形成装置
26日前
株式会社リコー
画像形成装置
8日前
キヤノン株式会社
画像形成装置
2か月前
キヤノン株式会社
トナー
3か月前
株式会社オプトル
プロジェクタ
11日前
キヤノン株式会社
トナー
1か月前
ブラザー工業株式会社
再生方法
1か月前
株式会社オプトル
プロジェクタ
1か月前
トヨタ自動車株式会社
撮像方法
3か月前
キヤノン株式会社
画像形成装置
1か月前
キヤノン株式会社
画像形成装置
2か月前
キヤノン株式会社
画像形成装置
1か月前
キヤノン株式会社
トナー
4日前
キヤノン株式会社
トナー
3か月前
キヤノン株式会社
画像形成装置
1か月前
キヤノン株式会社
画像形成装置
2か月前
キヤノン株式会社
トナー
3か月前
シャープ株式会社
画像形成装置
1か月前
キヤノン株式会社
画像形成装置
2か月前
キヤノン株式会社
画像形成装置
2か月前
キヤノン株式会社
トナー
3か月前
アイホン株式会社
機器の設置構造
1か月前
興和株式会社
マウント構造
2か月前
株式会社シグマ
絞り機構及びレンズ鏡筒
1か月前
続きを見る
他の特許を見る