TOP
|
特許
|
意匠
|
商標
特許ウォッチ
Twitter
他の特許を見る
10個以上の画像は省略されています。
公開番号
2025166703
公報種別
公開特許公報(A)
公開日
2025-11-06
出願番号
2024070903
出願日
2024-04-24
発明の名称
光学装置および移動装置
出願人
スタンレー電気株式会社
代理人
デロイトトーマツ弁理士法人
主分類
G01S
7/497 20060101AFI20251029BHJP(測定;試験)
要約
【課題】発光部の温度上昇を回避しながら、対象物の検出精度の維持または向上を図りうる光学装置等を提供する。
【解決手段】光学装置1は、対象物OBJに対して照射される光を発光する複数の発光素子Lを有する発光部10と、当該対象物OBJにより反射された光を受光し、受光信号を出力する複数の受光素子Sを有する受光部20と、複数の受光素子Sのそれぞれの受光信号に基づき、対象物OBJの距離情報を取得する制御装置100と、を備えている。対象物OBJの距離情報に基づき、各受光素子Sの受光強度が基準受光強度以上となるように、各発光素子Lの発光強度を制御する
【選択図】図4
特許請求の範囲
【請求項1】
対象物に対して照射される光を発光する複数の発光素子を有する発光部と、
前記対象物により反射された前記光を受光し、受光信号を出力する複数の受光素子を有する受光部と、
前記複数の受光素子のそれぞれの受光信号に基づき、前記対象物の距離情報を取得する制御装置と、を備えている光学装置であって、
前記制御装置が、前記対象物の距離情報に基づき、前記複数の受光素子のそれぞれの受光強度が基準受光強度以上となるように、前記複数の発光素子のそれぞれの発光強度を制御する
光学装置。
続きを表示(約 1,100 文字)
【請求項2】
請求項1に記載の光学装置において、
前記制御装置が、前記対象物の距離情報に基づき、前記複数の受光素子のそれぞれの受光強度が基準受光強度以上となるように、かつ、前記複数の発光素子のそれぞれの発光強度の総和が閾値以下になるように、前記複数の発光素子のそれぞれの発光強度を制御する
光学装置。
【請求項3】
請求項1または2に記載の光学装置において、
前記制御装置が、前記複数の受光素子のうち、前記距離情報により表わされる前記対象物までの距離が指定距離範囲に含まれている距離情報を有する受光素子に対応する、前記複数の発光素子のうち一部の発光素子の発光強度を、他の発光素子の発光強度より相対的に低くなるように制御する
光学装置。
【請求項4】
請求項3に記載の光学装置において、
前記制御装置が、指定距離より長距離の範囲を前記指定距離範囲として、前記一部の発光素子の発光強度を前記他の発光素子の発光強度より相対的に低くなるように制御する
光学装置。
【請求項5】
請求項1または2に記載の光学装置において、
前記制御装置が、前記対象物の種類を識別し、前記複数の発光素子のうち前記対象物に対応する発光素子の発光強度を、当該対象物の種類の相違に応じて異なる態様で制御する
光学装置。
【請求項6】
請求項1に記載の光学装置において、
前記制御装置が、前記対象物の距離情報に基づき、前記複数の受光素子のそれぞれの受光強度が飽和受光強度より低い前記基準受光強度以上となるように、前記複数の発光素子のそれぞれの発光強度を制御する
光学装置。
【請求項7】
請求項1に記載の光学装置において、
前記制御装置が、前記発光素子の数よりも多い前記複数の受光素子のそれぞれに対応する距離情報から、前記複数の発光素子のそれぞれの距離情報を抽出し、当該複数の発光素子のそれぞれの距離情報に基づき、前記複数の受光素子のそれぞれの受光強度が基準受光強度以上となるように、前記複数の発光素子のそれぞれの発光強度を制御する
光学装置。
【請求項8】
請求項1または2に記載の光学装置において、
前記制御装置が、前記対象物の距離情報に基づき、前記光学装置が搭載されている移動装置と前記対象物との接触可能性を判定するように構成されている
光学装置。
【請求項9】
請求項8に記載の光学装置が搭載されている移動装置。
発明の詳細な説明
【技術分野】
【0001】
本発明は、LiDAR(Light Detection And Ranging)システム等の光学装置に関する。
続きを表示(約 1,900 文字)
【背景技術】
【0002】
車両に搭載されて、車両前方の歩行者、先行車および/または対向車等のターゲット(対象物)を探知するLiDARシステムを構成する光学装置が知られている。当該光学装置によれば、発光部から発光された光が対象物に対して照射され、対象物により反射された当該光が受光部により受光され、当該受光結果に基づいて対象物が探知される。発光の際に生じた熱により発光部の温度が上昇すると、当該発光部の発光出力が低下し、それにより受光部により受講される光の強度が低下し、対象物の探知精度が低下する。そこで、発光部の温度が、その発光出力が低下してしまうような温度に達すると、当該発光部による照射エリアが狭くされることにより、受光部による受光強度の低下を回避する技術が提案されている(例えば、特許文献1参照)。
【先行技術文献】
【特許文献】
【0003】
国際公開公報 WO2023/074902A1
【発明の概要】
【発明が解決しようとする課題】
【0004】
しかし、元の照射エリアであれば光が照射されていたはずの対象物が、狭くされた照射エリアから外れてしまい、当該対象物を検知できなくなってしまう。
【0005】
そこで、本発明は、発光部の温度上昇を回避しながら、対象物の検出精度の維持または向上を図りうる光学装置等を提供することを目的とする。
【課題を解決するための手段】
【0006】
本発明の光学装置は、
対象物に対して照射される光を発光する複数の発光素子を有する発光部と、
前記対象物により反射された前記光を受光し、受光信号を出力する複数の受光素子を有する受光部と、
前記複数の受光素子のそれぞれの受光信号に基づき、前記対象物の距離情報を取得する制御装置と、を備えている光学装置であって、
前記制御装置が、前記対象物の距離情報に基づき、前記複数の受光素子のそれぞれの受光強度が基準受光強度以上となるように、前記複数の発光素子のそれぞれの発光強度を制御する。
【0007】
当該構成の光学装置によれば、発光部の温度上昇を回避しながら、対象物の検出精度の維持または向上が図られる。
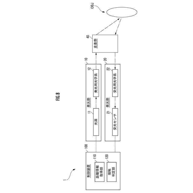
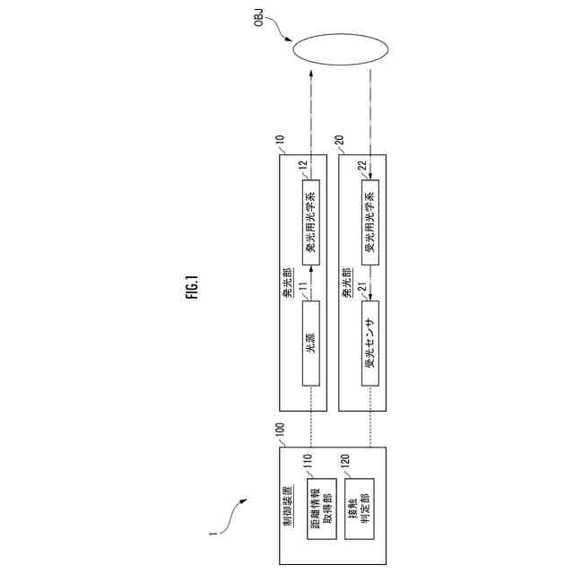
【図面の簡単な説明】
【0008】
本発明の一実施形態としての光学装置の構成説明図。
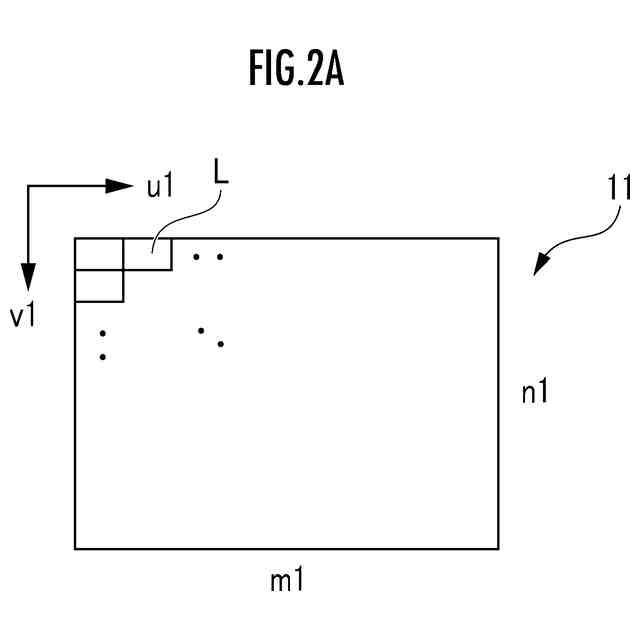
発光素子群の構成説明図。
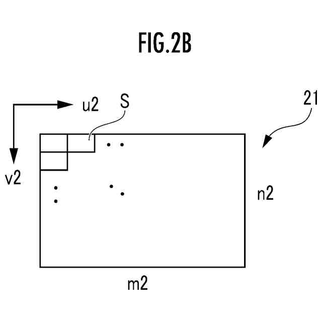
受光素子群の構成説明図。
本発明の一実施形態としての車両(移動装置)の構成説明図。
本発明の一実施形態としての光学装置の機能を表わすフローチャート。
距離情報および目標発光強度の相関関係に関する説明図。
発光強度に応じた受光強度および距離情報の相関関係に関する説明図。
各発光素子の発光強度の制御態様の例示説明図。
本発明の他の実施形態としての光学装置の構成説明図。
【発明を実施するための形態】
【0009】
(光学装置)
図1に示されている本発明の第1実施形態としての光学装置1は、対象物OBJからの反射光を受光することで、対象物OBJを検出・撮像する検出装置・撮像装置のほか、対象物OBJまでの距離情報を取得する測距装置として用いられる。光学装置1は、対象物OBJからの反射光を受光するまでの時間およびその反射光の位相に基づいて対象物OBJまでの距離を算出する、LiDAR(Light Detection And Ranging)という技術が採用されている。
【0010】
(発光部)
発光部10は、光源11と、発光用光学系12と、を備えている。光源11は、例えば、面発光レーザー(VCSEL)であり、2次元配列された第1指定数N
1
(N
1
は複数である。)発光素子Lにより構成されている。光源11は、例えば、図2Aに示されているように、u
1
方向(左右方向)およびv
1
方向(上下方向)にn
1
×m
1
型の行列状に配列された、第1指定数N
1
(N
1
=n
1
×m
1
)の発光素子Lにより構成されている。各発光素子Lは、u
1
方向およびv
1
方向のそれぞれに対して垂直な方向に光を出射する。
(【0011】以降は省略されています)
この特許をJ-PlatPat(特許庁公式サイト)で参照する
関連特許
個人
採尿及び採便具
24日前
日本精機株式会社
検出装置
18日前
個人
計量機能付き容器
13日前
個人
アクセサリー型テスター
1か月前
個人
高精度同時多点測定装置
1か月前
株式会社カクマル
境界杭
3日前
株式会社ミツトヨ
測定器
1か月前
甲神電機株式会社
電流検出装置
18日前
アズビル株式会社
電磁流量計
1か月前
大成建設株式会社
風洞実験装置
13日前
ダイキン工業株式会社
監視装置
1か月前
ローム株式会社
半導体装置
1か月前
個人
計量具及び計量機能付き容器
13日前
愛知電機株式会社
軸部材の外観検査装置
27日前
大和製衡株式会社
組合せ計量装置
27日前
日本信号株式会社
距離画像センサ
16日前
双庸電子株式会社
誤配線検査装置
19日前
個人
非接触による電磁パルスの測定方法
16日前
日本特殊陶業株式会社
ガスセンサ
11日前
個人
システム、装置及び実験方法
1か月前
大和製衡株式会社
組合せ計量装置
27日前
長崎県
形状計測方法
1か月前
ローム株式会社
半導体装置
1か月前
愛知時計電機株式会社
ガスメータ
1か月前
キーコム株式会社
画像作成システム
3日前
日本特殊陶業株式会社
センサ
1か月前
株式会社デンソー
電流センサ
1か月前
株式会社不二越
X線測定装置
16日前
日本特殊陶業株式会社
センサ
1か月前
日本特殊陶業株式会社
センサ
1か月前
日本特殊陶業株式会社
センサ
1か月前
トヨタ自動車株式会社
測定システム
1か月前
日本特殊陶業株式会社
センサ
1か月前
中国電力株式会社
電柱管理システム
1か月前
個人
液位検視及び品質監視システム
11日前
日東精工株式会社
振動波形検査装置
19日前
続きを見る
他の特許を見る