TOP
|
特許
|
意匠
|
商標
特許ウォッチ
Twitter
他の特許を見る
公開番号
2025153081
公報種別
公開特許公報(A)
公開日
2025-10-10
出願番号
2024055365
出願日
2024-03-29
発明の名称
センサ
出願人
日本特殊陶業株式会社
代理人
個人
,
個人
主分類
G01N
27/414 20060101AFI20251002BHJP(測定;試験)
要約
【課題】分子インプリントポリマーに捕捉された標的物質を脱離させることができる技術を提供する。
【解決手段】標的物質を検出するセンサは、前記標的物質が入り込む空間を有し、前記空間に入り込んだ前記標的物質を捕捉する分子インプリントポリマーを含む膜を有する検出部と、分子インプリントポリマーに捕捉された標的物質を、分子インプリントポリマーから脱離させるための脱離機構と、を備え、脱離機構は、オゾンと、ヒドロキシラジカルと、スーパーオキシドと、からなる群より選ばれる少なくとも一種を放出する、ことを特徴とする。
【選択図】図2
特許請求の範囲
【請求項1】
標的物質を検出するセンサであって、
前記標的物質が入り込む空間を有し、前記空間に入り込んだ前記標的物質を捕捉する分子インプリントポリマーを含む膜を有する検出部と、
前記分子インプリントポリマーに捕捉された前記標的物質を、前記分子インプリントポリマーから脱離させるための脱離機構と、
を備え、
前記脱離機構は、オゾンと、ヒドロキシラジカルと、スーパーオキシドと、からなる群より選ばれる少なくとも一種を放出する、
ことを特徴とする、センサ。
続きを表示(約 180 文字)
【請求項2】
請求項1に記載のセンサにおいて、
前記標的物質が、ウイルスと、菌と、微生物と、タンパク質と、からなる群より選ばれる少なくとも一種である、
ことを特徴とする、センサ。
【請求項3】
請求項1または請求項2に記載のセンサにおいて、
電界効果トランジスタ型センサである、
ことを特徴とする、センサ。
発明の詳細な説明
【技術分野】
【0001】
本開示は、センサに関する。
続きを表示(約 1,600 文字)
【背景技術】
【0002】
従来から、分子インプリントポリマーを利用して標的物質を検出することについて、いくつかの提案がなされている。例えば、特許文献1には、表面に分子インプリントポリマーの膜が形成された検出電極を備える電界効果トランジスタが開示されている。
【先行技術文献】
【特許文献】
【0003】
特開2023-061890号公報
【発明の概要】
【発明が解決しようとする課題】
【0004】
分子インプリントポリマーを利用したセンサを繰り返し使用するためには、分子インプリントポリマーに捕捉された標的物質を脱離させる必要がある。特許文献1では、分子インプリントポリマーの製造時に標的物質の鋳型を作製する工程において、サイクリックボルタンメトリーの手法を用い、参照電極の電位を基準として作用極と対極の間にかかる電位を走査し、化学結合が切断される電位に到達させることによって、標的物質を除去している。しかしながら、このような方法を、センサの繰り返し使用のための脱離方法として適用すると、電子のやり取りによって分子インプリントポリマーが劣化するおそれがある。このため、分子インプリントポリマーに捕捉された標的物質を脱離させることができる他の技術が求められている。
【課題を解決するための手段】
【0005】
本開示は、以下の形態として実現することができる。
【0006】
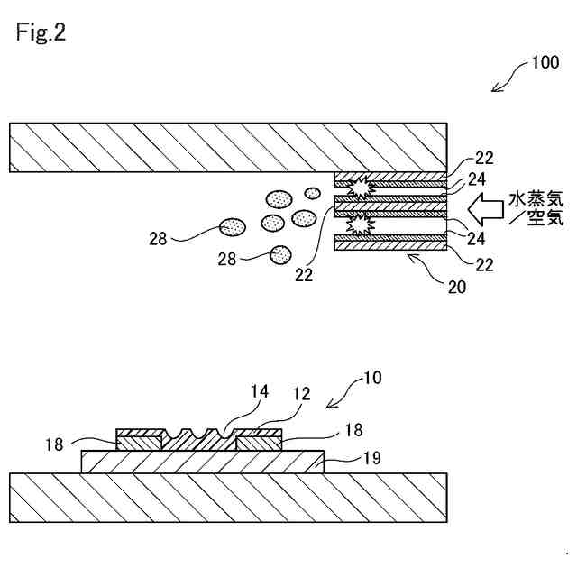
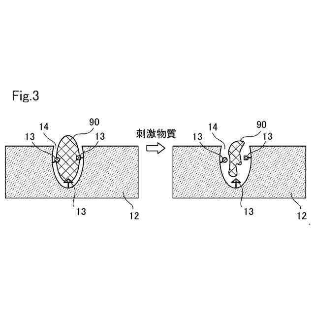
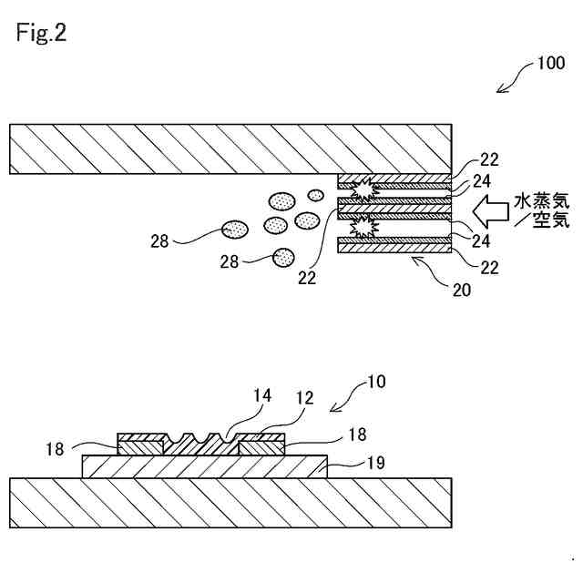
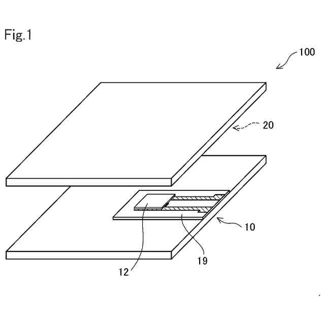
(1)本開示の一形態によれば、標的物質を検出するセンサが提供される。このセンサは、前記標的物質が入り込む空間を有し、前記空間に入り込んだ前記標的物質を捕捉する分子インプリントポリマーを含む膜を有する検出部と、前記分子インプリントポリマーに捕捉された前記標的物質を、前記分子インプリントポリマーから脱離させるための脱離機構と、を備え、前記脱離機構は、オゾンと、ヒドロキシラジカルと、スーパーオキシドと、からなる群より選ばれる少なくとも一種を放出する、ことを特徴とする。この形態のセンサによれば、オゾンと、ヒドロキシラジカルと、スーパーオキシドと、からなる群より選ばれる少なくとも一種を放出する脱離機構を備えるので、捕捉された標的物質の表面構造を変化させることによって、捕捉された標的物質と分子インプリントポリマーとの相互作用を小さくできる。この結果として、分子インプリントポリマーに捕捉された標的物質を脱離させることができる。
【0007】
(2)上記(1)に記載のセンサにおいて、前記標的物質が、ウイルスと、菌と、微生物と、タンパク質と、からなる群より選ばれる少なくとも一種であってもよい。この形態のセンサによれば、標的物質の三次元構造を変化させることによって表面構造を変化させることができるので、標的物質を分子インプリントポリマーから容易に脱離させることができる。
【0008】
(3)上記(1)または上記(2)に記載のセンサにおいて、電界効果トランジスタ型センサであってもよい。この形態のセンサによれば、電界効果トランジスタ型センサであるので、検出感度の低下を抑制できる。
【0009】
なお、本開示は、種々の形態で実現することが可能であり、例えば、センサの製造方法、センサを用いた標的物質のモニタリング方法等の形態で実現することができる。
【図面の簡単な説明】
【0010】
センサの概略構成を模式的に示す斜視図である。
センサの概略構成を模式的に示す断面図である。
分子インプリントポリマーから標的物質を脱離させる様子を示す説明図である。
第2実施形態のセンサの概略構成を模式的に示す断面図である。
【発明を実施するための形態】
(【0011】以降は省略されています)
この特許をJ-PlatPat(特許庁公式サイト)で参照する
関連特許
日本特殊陶業株式会社
センサ
24日前
日本特殊陶業株式会社
センサ
24日前
日本特殊陶業株式会社
センサ
24日前
日本特殊陶業株式会社
センサ
24日前
日本特殊陶業株式会社
センサ
24日前
日本特殊陶業株式会社
センサ
10日前
日本特殊陶業株式会社
圧電素子
10日前
日本特殊陶業株式会社
保持装置
13日前
日本特殊陶業株式会社
加熱装置
17日前
日本特殊陶業株式会社
保持部材
17日前
日本特殊陶業株式会社
圧電発音体
24日前
日本特殊陶業株式会社
スパークプラグ
17日前
日本特殊陶業株式会社
セラミック部品
25日前
日本特殊陶業株式会社
ホットモジュール
25日前
日本特殊陶業株式会社
ホットモジュール
25日前
日本特殊陶業株式会社
無鉛圧電磁器組成物
10日前
日本特殊陶業株式会社
圧電セラミック積層体
24日前
日本特殊陶業株式会社
アンモニアの合成装置
6日前
日本特殊陶業株式会社
ガスセンサの製造方法
26日前
日本特殊陶業株式会社
アンモニアの合成装置
6日前
日本特殊陶業株式会社
アンモニアの合成システム
6日前
日本特殊陶業株式会社
回路基板、およびパワーデバイス
19日前
日本特殊陶業株式会社
回路基板、およびパワーデバイス
19日前
日本特殊陶業株式会社
固体酸化物形電解セルおよびその利用
25日前
日本特殊陶業株式会社
固体酸化物形電解セルおよびその利用
25日前
日本特殊陶業株式会社
固体酸化物形電解セルおよびその利用
25日前
日本特殊陶業株式会社
固体酸化物形電解セルおよびその利用
25日前
日本特殊陶業株式会社
固体酸化物形電解セルおよびその利用
25日前
日本特殊陶業株式会社
固体酸化物形電解セルおよびその利用
25日前
日本特殊陶業株式会社
固体酸化物形電解セルおよびその利用
25日前
日本特殊陶業株式会社
固体酸化物形電解セルおよびその利用
25日前
日本特殊陶業株式会社
固体酸化物形電解セルおよびその利用
25日前
日本特殊陶業株式会社
基板保持部材及びセラミックスサセプタ
27日前
日本特殊陶業株式会社
基板保持部材及びセラミックスサセプタ
27日前
日本特殊陶業株式会社
セラミック組成物、およびセラミック部品
25日前
日本特殊陶業株式会社
電気化学反応用触媒、電極、および電気化学デバイス
17日前
続きを見る
他の特許を見る