TOP
|
特許
|
意匠
|
商標
特許ウォッチ
Twitter
他の特許を見る
公開番号
2025148197
公報種別
公開特許公報(A)
公開日
2025-10-07
出願番号
2024063030
出願日
2024-03-25
発明の名称
メジャー文具
出願人
個人
代理人
主分類
G01B
3/04 20060101AFI20250930BHJP(測定;試験)
要約
【課題】市販の巻尺を使用し、手軽に任意の位置から任意の長さの長距離直線を加工可能とするメジャー文具を提供する。
【解決手段】本開示のメジャー文具は胴体部とボタン部とストッパー部を有する。胴体部は下方ローラーのついた凸型胴体と凹型胴体から成り、凸型胴体と凹型胴体の勘合でメジャーの目盛帯を左右から固定する。ボタン部は作用具、上方ローラーを有し、胴体部とバネを挟んで組み合わさっている。ストッパー部はストッパー上部とストッパー下部から成り、メジャーの目盛帯を上下から勘合で固定する。ボタン部を上から押し込むことで作用具が接地すると共に、メジャーの目盛帯を上方ローラーと下方ローラーで挟み込む。そのままストッパー部までスライドさせることで加工することができる。
【選択図】図3
特許請求の範囲
【請求項1】
収納可能な目盛帯を持つメジャー文具において、該メジャー文具の目盛帯を上下から挟み込む挟持体に作用具を装着した長距離加工を可能とするメジャー文具。
続きを表示(約 740 文字)
【請求項2】
前記挟持体である上方ローラー及び作用具及び指用滑り止めを持つボタン部と、勘合を想定した凹型の穴を持つ凹型胴体と、勘合を想定した凸型の突起及び前記挟持体である下方ローラー及び前記ボタン部が通せる穴を持つ凸型胴体を備え、前記凹型胴体と前記凸型胴体を勘合して前記のメジャーの目盛帯を左右から挟み込み、前記ボタン部の前記上方ローラーと前記凸型胴体の前記下方ローラーで前記のメジャーの目盛帯を上下から挟み込むことができる構造を持つことを特徴とする請求項1に記載のメジャー文具。
【請求項3】
更に前記メジャー文具は、勘合可能なストッパー上部とストッパー下部を備え、前記メジャーの目盛帯を上下の勘合で固定でき、前記凹型胴体と前記凸型胴体を勘合させた胴体部と勘合できるような構造を有するストッパー部を持つことを特徴とした請求項1に記載のメジャー文具。
【請求項4】
左右一対のタイヤ及び加工長さ決定時に参考にできる目印のついた前記胴体部と、作用具の直上に加工時に参考にできる目印のついた前記ボタン部と、底面の滑り止め及び加工時に参考にできる目印及び加工長さ決定時に参考にできる目印のついた前記ストッパー部を備え、加工時に前記ボタン部の目印と前記ストッパー部の目印で前記ボタン部の作用具の位置を決定し、加工長さを前記ストッパー部と前記胴体部の目印で決定し、該ストッパーまで前記胴体部をスライドさせることで、前記ボタン部の作用具により直線状の加工ができることを特徴とする請求項3に記載のメジャー文具。
【請求項5】
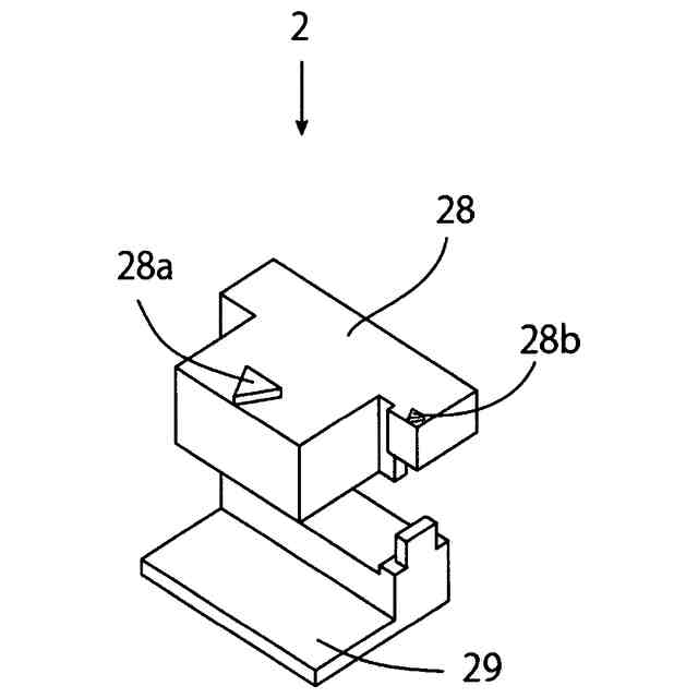
前記ボタン部と前記作用具をネジとナットで止めることで前記作用具部分を換装可能な構造を持つ請求項1に記載のメジャー文具。
発明の詳細な説明
【技術分野】
【0001】
本発明は、紙やビニールなど薄く加工が容易なシート状の物(以下、単に紙という。)を直線状に加工するのに好適なメジャー文具に関する。
続きを表示(約 1,400 文字)
【背景技術】
【0002】
従来、紙の加工の1つとして直線状の切断があるが、その切断する方法としてはカッターの刃が欠けることのない金尺やステンレス製のカバーがついた定規などが用いられてきた。この種のカッター補助具の特徴としては、切断する長さと同じだけの長さの補助具を必要とするというものが一般的に挙げられる。
【0003】
より正確で簡潔な切断を成すためにはレール状の溝を使用して紙を正確に裁断できるようなものが使われることが多く、そのどれもが大きく持ち運びに不適で決まった一定の長さまでしか切断できないという問題点があった。
【0004】
特許文献1に開示されるカッターはメジャー(固定を外すとバネによって巻き戻される目盛帯を有する測定器具。巻尺とも呼ばれる)の先端にあるL字フックの部分に十字状のパーツをつけ、出し入れ可能なカッターの刃を内蔵するという方法で解消しようというものになっている。その特徴から、専用のメジャーが必要であり、切断時の正確な長さ指定、中途部分からの切断ができないなどの問題点があった。
【先行技術文献】
【特許文献】
【0005】
特開2012-163513
【発明の概要】
【発明が解決しようとする課題】
【0006】
本発明は市販の大半のメジャーに対応できる互換性を持ち、メジャーの任意の位置から任意の位置までを正確且つ自由に加工できるメジャー文具を提供することを目的とする。
【課題を解決するための手段】
【0007】
上記目的を達成するための本発明におけるメジャー文具は、収納可能な目盛帯を持つメジャー文具において、該メジャー文具の目盛帯を上下から挟み込む挟持体に作用具を装着した長距離加工を可能とする。
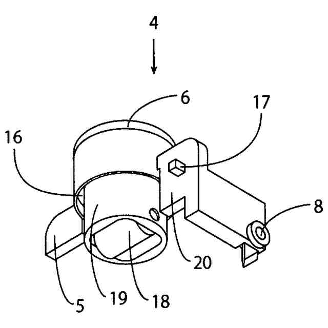
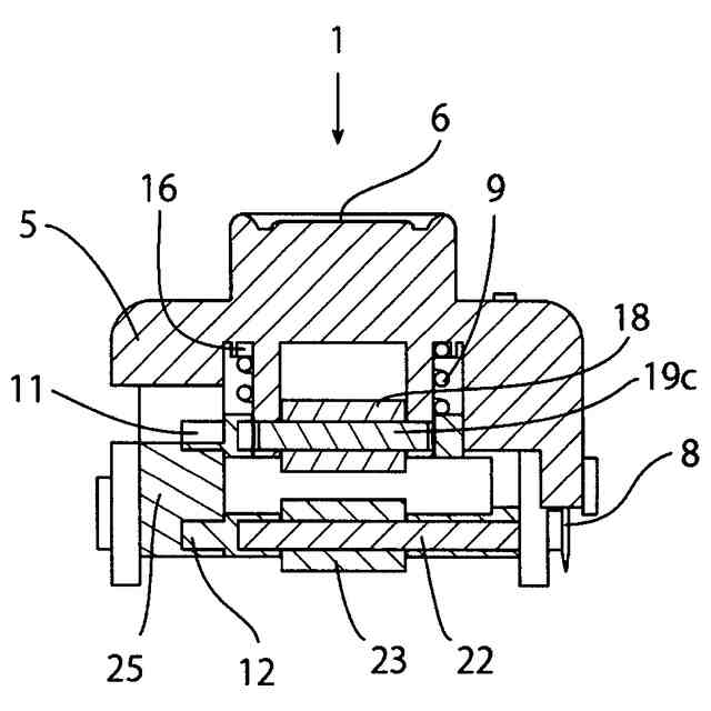
【0008】
また、本発明におけるメジャー文具は、前記挟持体である上方ローラー及び作用具及び指用滑り止めを持つボタン部と、勘合を想定した凹型の穴を持つ凹型胴体と、勘合を想定した凸型の突起及び前記挟持体である下方ローラー及び前記ボタン部が通せる穴を持つ凸型胴体を備え、前記凹型胴体と前記凸型胴体を勘合して前記のメジャーの目盛帯を左右から挟み込み、前記ボタン部の前記上方ローラーと前記凸型胴体の前記下方ローラーで前記のメジャーの目盛帯を上下から挟み込むことができる構造を持つ。
【0009】
更に前記メジャー文具は、勘合可能なストッパー上部とストッパー下部を備え、前記メジャーの目盛帯を上下の勘合で固定でき、前記凹型胴体と前記凸型胴体を勘合させた胴体部と勘合できるような構造を有するストッパー部を持つ。
【0010】
左右一対のタイヤ及び加工長さ決定時に参考にできる目印のついた前記胴体部と、作用具の直上に加工時に参考にできる目印のついた前記ボタン部と、底面の滑り止め及び加工時に参考にできる目印及び加工長さ決定時に参考にできる目印のついた前記ストッパー部を備え、加工時に前記ボタン部の目印と前記ストッパー部の目印で前記ボタン部の作用具の位置を決定し、加工長さを前記ストッパー部と前記胴体部の目印で決定し、該ストッパーまで前記胴体部をスライドさせることで、前記ボタン部の作用具により直線状の加工ができる。
(【0011】以降は省略されています)
この特許をJ-PlatPat(特許庁公式サイト)で参照する
関連特許
個人
採尿及び採便具
8日前
日本精機株式会社
検出装置
2日前
甲神電機株式会社
電流検出装置
2日前
株式会社ミツトヨ
測定器
14日前
大和製衡株式会社
組合せ計量装置
11日前
双庸電子株式会社
誤配線検査装置
3日前
日本信号株式会社
距離画像センサ
今日
愛知電機株式会社
軸部材の外観検査装置
11日前
愛知時計電機株式会社
ガスメータ
14日前
個人
非接触による電磁パルスの測定方法
今日
大和製衡株式会社
組合せ計量装置
11日前
株式会社不二越
X線測定装置
今日
日本特殊陶業株式会社
センサ
14日前
日東精工株式会社
振動波形検査装置
3日前
アンリツ株式会社
X線検査装置
14日前
株式会社マグネア
磁界検出素子
今日
株式会社電巧社
試験装置及び試験方法
3日前
IMV株式会社
振動試験システム
今日
住友化学株式会社
電気化学センサ
8日前
日本特殊陶業株式会社
化学センサ
2日前
アズビル株式会社
位置計測装置および方法
15日前
三菱電機株式会社
検査治具および検査装置
今日
IMV株式会社
動電式振動発生装置
11日前
個人
試料霧化導入装置
1日前
株式会社日本マイクロニクス
評価装置
14日前
株式会社日本マイクロニクス
プローブ
15日前
株式会社トーキン
電流センサ装置
8日前
キヤノン株式会社
測距装置
2日前
株式会社鷺宮製作所
材料試験装置
1日前
三菱電機株式会社
移動体監視装置
今日
浜松ホトニクス株式会社
分光装置
今日
トヨタ自動車株式会社
電流検出システム
9日前
トヨタ自動車株式会社
方法
15日前
株式会社アイシン
静電容量センサシステム
1日前
矢崎総業株式会社
導通検査システム
今日
株式会社 ミックウェア
情報処理装置、移動端末
15日前
続きを見る
他の特許を見る