TOP
|
特許
|
意匠
|
商標
特許ウォッチ
Twitter
他の特許を見る
10個以上の画像は省略されています。
公開番号
2025166988
公報種別
公開特許公報(A)
公開日
2025-11-07
出願番号
2024071215
出願日
2024-04-25
発明の名称
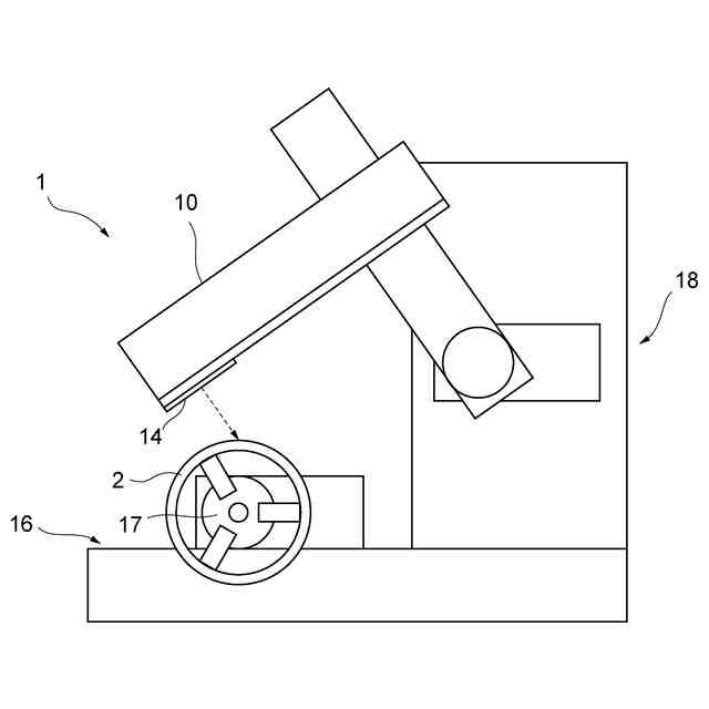
X線測定装置
出願人
株式会社不二越
代理人
個人
,
個人
主分類
G01B
15/00 20060101AFI20251030BHJP(測定;試験)
要約
【課題】非接触で対象物に対する測定精度の低下を抑制する。
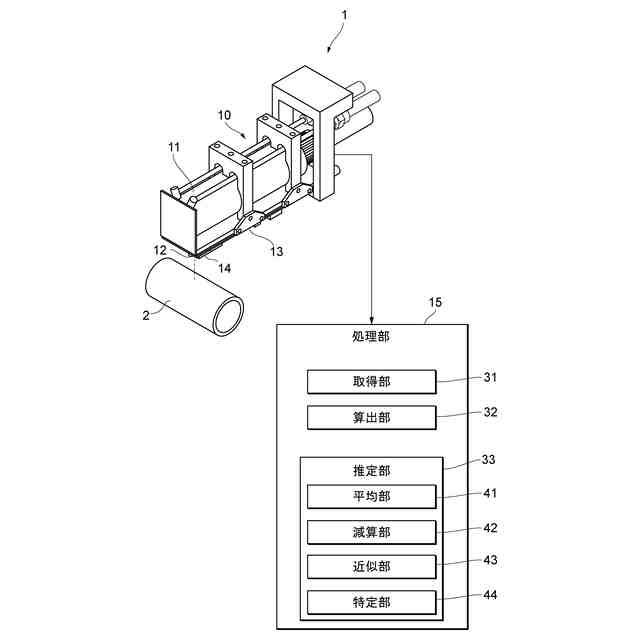
【解決手段】X線により対象物2に対して測定を行うX線測定装置1であって、対象物2を回転させた場合の複数の回転角のそれぞれに対応して、X線を対象物2へ照射して検出面で検出した回折環を取得する取得部と、複数の回転角のそれぞれに対応して、回折環により検出面と対象物2との間の距離を算出する算出部と、回転角のそれぞれに対応した距離に基づいて、対象物2の偏心量、及び対象物2の回転方向の表面形状のばらつきの少なくとも何れか一方を推定する推定部と、を備える。
【選択図】図1
特許請求の範囲
【請求項1】
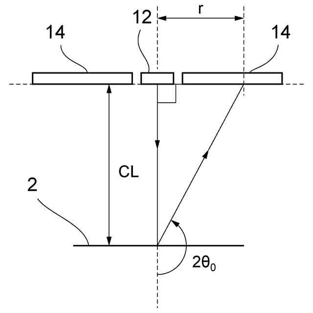
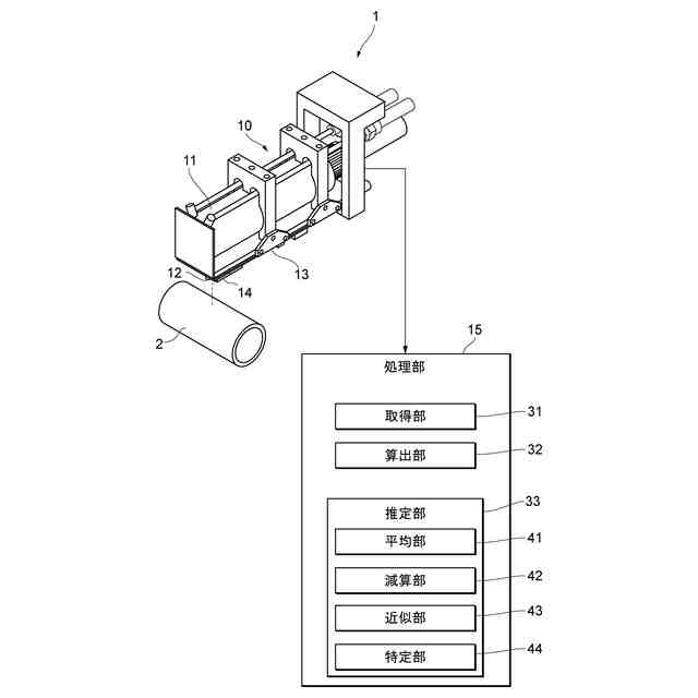
X線により対象物に対して測定を行うX線測定装置であって、
前記対象物を回転させた場合の複数の回転角のそれぞれに対応して、X線を前記対象物へ照射して検出面で検出した回折環を取得する取得部と、
複数の前記回転角のそれぞれに対応して、前記回折環により前記検出面と前記対象物との間の距離を算出する算出部と、
前記回転角のそれぞれに対応した前記距離に基づいて、前記対象物の偏心量、及び前記対象物の回転方向の表面形状のばらつきの少なくとも何れか一方を推定する推定部と、
を備えるX線測定装置。
続きを表示(約 440 文字)
【請求項2】
前記対象物は、円筒形状である、
請求項1に記載のX線測定装置。
【請求項3】
前記推定部は、
各前記回転角に対応した前記距離の平均値を算出する平均部と、
前記距離と前記平均値との差分量を算出する減算部と、
前記回転角に対する前記差分量の分布を正弦波又は余弦波の曲線により近似する近似部と、
近似した前記曲線により、前記偏心量及び前記ばらつきの少なくとも何れか一方を特定する特定部と、
を備える、
請求項2に記載のX線測定装置。
【請求項4】
前記特定部は、近似した前記曲線の振幅及び初期位相を前記偏心量とする、
請求項3に記載のX線測定装置。
【請求項5】
前記特定部は、前記回転角に対する前記差分量から、当該回転角に対応する前記曲線の値を減算した値を、当該回転角に対応する前記ばらつきの量とする、
請求項3又は4に記載のX線測定装置。
発明の詳細な説明
【技術分野】
【0001】
本発明は、X線測定装置に関する。
続きを表示(約 1,100 文字)
【背景技術】
【0002】
対象物に対する測定を行うために、対象物へ向けてX線を照射し、対象物で回折したX線の回折環を検出する方法がある。検出された回折環によることで、対象物を分析することが可能である。
【0003】
例えば特許文献1においては、X線測定装置と別に、3次元形状を測定する3次元形状測定装置を用いることが開示されている。
【先行技術文献】
【特許文献】
【0004】
特許第6600930号公報
【発明の概要】
【発明が解決しようとする課題】
【0005】
対象物の状態を測定する場合には、例えば特許文献1のような測定装置が用いられる。接触型の測定装置を用いて対象物を測定する場合、対象物の表面に傷等が生ずる可能性がある。また、例えばレーザを用いた非接触型の測定装置を用いて対象物を測定する場合、対象物の表面(例えば光沢)の影響を受ける可能性があり測定精度が低下する可能性がある。
【0006】
上記課題に鑑み、本発明は、非接触で対象物に対する測定精度の低下を抑制することができるX線測定装置を提供することを目的とする。
【課題を解決するための手段】
【0007】
上記課題を解決するために、本発明に係るX線測定装置は、X線により対象物に対して測定を行うX線測定装置であって、前記対象物を回転させた場合の複数の回転角のそれぞれに対応して、X線を前記対象物へ照射して検出面で検出した回折環を取得する取得部と、複数の前記回転角のそれぞれに対応して、前記回折環により前記検出面と前記対象物との間の距離を算出する算出部と、前記回転角のそれぞれに対応した前記距離に基づいて、前記対象物の偏心量、及び前記対象物の回転方向の表面形状のばらつきの少なくとも何れか一方を推定する推定部と、を備える。
【0008】
また、X線測定装置において、前記対象物は、円筒形状である。
【0009】
また、X線測定装置において、前記推定部は、各前記回転角に対応した前記距離の平均値を算出する平均部と、前記距離と前記平均値との差分量を算出する減算部と、前記回転角に対する前記差分量の分布を正弦波又は余弦波の曲線により近似する近似部と、近似した前記曲線により、前記偏心量及び前記ばらつきの少なくとも何れか一方を特定する特定部と、を備える。
【0010】
また、X線測定装置において、前記特定部は、近似した前記曲線の振幅及び初期位相を前記偏心量とする。
(【0011】以降は省略されています)
この特許をJ-PlatPat(特許庁公式サイト)で参照する
関連特許
株式会社不二越
ロボット
1か月前
株式会社不二越
流路切換弁
1日前
株式会社不二越
エンドミル
22日前
株式会社不二越
歯車加工装置
17日前
株式会社不二越
歯車加工装置
17日前
株式会社不二越
X線測定装置
22日前
株式会社不二越
歯車加工装置
17日前
株式会社不二越
X線測定システム
1か月前
株式会社不二越
噛み込み検知装置
1か月前
株式会社不二越
ノンリーク三方弁
2か月前
株式会社不二越
回転駆動システム
3日前
株式会社不二越
X線測定システム
1か月前
株式会社不二越
垂直多関節ロボット
9日前
株式会社不二越
複合アクチュエータ
2か月前
株式会社不二越
移動ロボットシステム
2か月前
株式会社不二越
斜板式ピストンポンプ
1か月前
株式会社不二越
固定構造および固定治具
1か月前
株式会社不二越
ロボットに用いる伝送路
1か月前
株式会社不二越
可変容量制御ピストンポンプ
2か月前
株式会社不二越
X線回折測定装置及びプログラム
2か月前
株式会社不二越
ダイヤモンド膜の密着性能評価方法
3日前
株式会社不二越
センサシステム及びロボットシステム
1か月前
株式会社不二越
超硬合金およびこれを用いた切削工具
1か月前
株式会社不二越
歯切工具用部品およびそれを用いた歯切工具
1日前
株式会社不二越
直動軸受用合金鋼およびそれを用いた直動軸受
1か月前
株式会社不二越
冷間金型用合金鋼およびそれを用いた冷間金型
1か月前
個人
採尿及び採便具
1か月前
日本精機株式会社
検出装置
24日前
個人
高精度同時多点測定装置
1か月前
個人
計量機能付き容器
19日前
個人
アクセサリー型テスター
1か月前
日本精機株式会社
発光表示装置
2日前
株式会社カクマル
境界杭
9日前
甲神電機株式会社
電流検出装置
24日前
株式会社ミツトヨ
測定器
1か月前
株式会社トプコン
測量装置
1日前
続きを見る
他の特許を見る