TOP
|
特許
|
意匠
|
商標
特許ウォッチ
Twitter
他の特許を見る
公開番号
2025172517
公報種別
公開特許公報(A)
公開日
2025-11-26
出願番号
2024078065
出願日
2024-05-13
発明の名称
回転駆動システム
出願人
株式会社不二越
代理人
個人
,
個人
主分類
F16H
57/04 20100101AFI20251118BHJP(機械要素または単位;機械または装置の効果的機能を生じ維持するための一般的手段)
要約
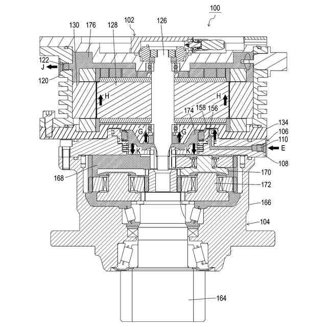
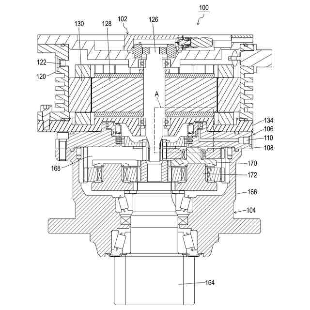
【課題】ブレーキを解除する作動油と減速機の潤滑油とを1つの油圧源から供給できるとともに、潤滑油の清浄度を保ちながら電動機の冷却を行うことができる回転駆動システムを提供する。
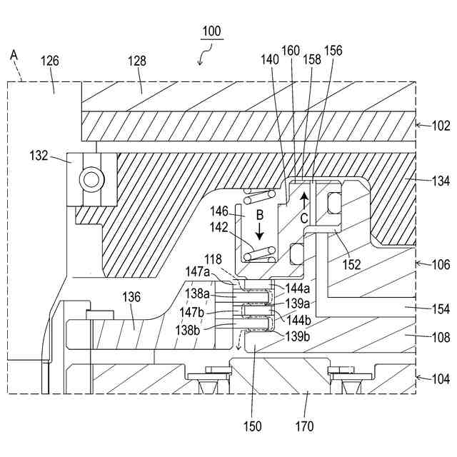
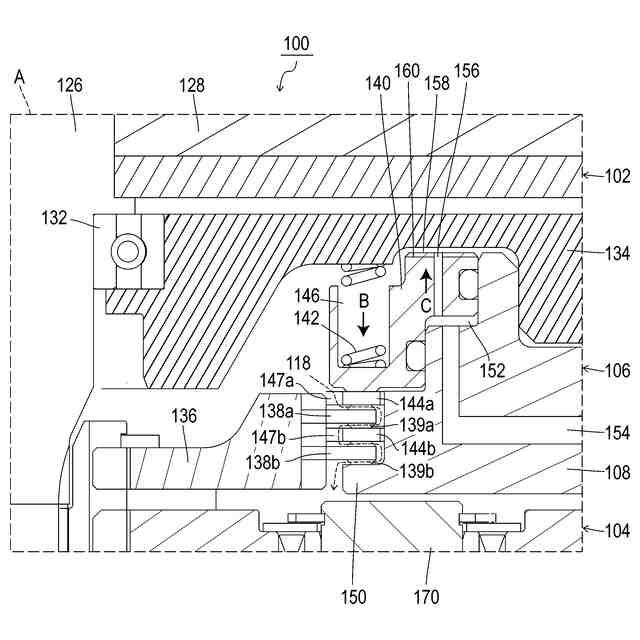
【解決手段】回転駆動システム100は、電動機102のシャフト126に固定されたブレーキディスク138a、138bと摩擦接触するブレーキピストン140と、ブレーキディスクに向かってブレーキピストンを付勢するブレーキバネ142と、ブレーキを解除する作動油を油圧源112からブレーキ室152に供給するブレーキ解除ポート110と、ブレーキピストンのブレーキ室側から電動機側に連通する連通孔156と、電動機のハウジング120に設けられ、ブレーキ室から連通孔を通って電動機内を通過した作動油を排出する排出ポート122と、ブレーキ解除時にブレーキピストンとブレーキディスクの間に形成され作動油を減速機104に供給する供給路118とを有する。
【選択図】図3
特許請求の範囲
【請求項1】
電動機と、
前記電動機の回転を減速させる減速機と、
前記電動機と前記減速機の間に配置され、該減速機の回転を止めるブレーキ機構とを備え、
前記ブレーキ機構は、
ブレーキケーシングと、
前記電動機のシャフトに固定されたブレーキディスクと、
前記ブレーキディスクと摩擦接触するブレーキピストンと、
前記ブレーキディスクに向かって前記ブレーキピストンを付勢するブレーキバネと、
前記ブレーキケーシングと前記ブレーキピストンで区画されたブレーキ室と、
前記ブレーキケーシングに設けられたブレーキ解除ポートであって、前記ブレーキバネの付勢力に抗して前記ブレーキピストンを前記電動機側に移動させて前記ブレーキディスクから離間させる作動油を、外部の油圧源から前記ブレーキ室に供給するブレーキ解除ポートと、
前記ブレーキピストンに形成され前記ブレーキ室側から前記電動機側に連通する連通孔と、
前記電動機のハウジングに設けられ、前記ブレーキ室から前記ブレーキピストンの前記連通孔を通って前記電動機内を通過した作動油を排出する排出ポートと、
前記ブレーキピストンが前記電動機側に移動したときに該ブレーキピストンと前記ブレーキディスクの間に形成され、前記ブレーキ室に供給された作動油を前記減速機に供給する供給路とを有することを特徴とする回転駆動システム。
続きを表示(約 280 文字)
【請求項2】
前記ブレーキピストンの電動機側の端面には、スリットが形成されていて、
前記スリットは、前記連通孔から前記電動機側の端面の縁まで連通していることを特徴とする請求項1に記載の回転駆動システム。
【請求項3】
前記電動機は、
前記ハウジングに固定されたステータと、
電流が印加されると前記シャフトとともに回転するロータとを有し、
前記作動油は、前記ロータと前記ステータの隙間を通って前記電動機内を通過して前記排出ポートから排出されることを特徴とする請求項1または2に記載の回転駆動システム。
発明の詳細な説明
【技術分野】
【0001】
本発明は、減速機付きモータを備えた回転駆動システムに関する。
続きを表示(約 1,600 文字)
【背景技術】
【0002】
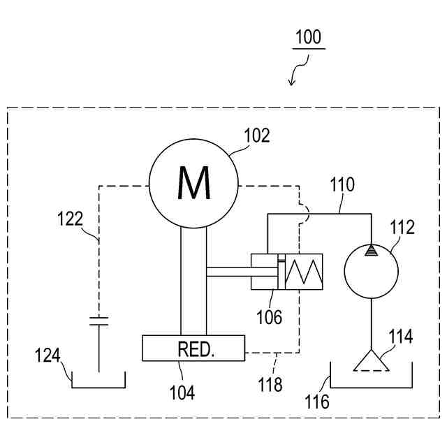
一例として油圧ショベルなどの建設機械においては、減速機付き電動モータを備えた回転駆動システムが用いられている(例えば特許文献1)。特許文献1には、上部旋回体を下部走行体に対して旋回させる回転駆動システムを備えた油圧ショベルが記載されている。
【0003】
この回転駆動システムは、電動機と、電動機の回転を減速させる減速機と、油圧ポンプと、潤滑油ポンプとを備える。油圧ポンプは、電動機の動作時にブレーキを解除する圧油(作動油)を供給する。潤滑油ポンプは、電動機の冷却性や潤滑性を保つための潤滑油を電動機内に供給する。
【先行技術文献】
【特許文献】
【0004】
特開2019-154101号公報
【発明の概要】
【発明が解決しようとする課題】
【0005】
しかし特許文献1の回転駆動システムでは、減速機に潤滑油を供給する潤滑油ポンプと、ブレーキ解除用の圧油を吐出する油圧ポンプとの2つの油圧源を有するため、2系統の油路が必要となる。
【0006】
また特許文献1の回転駆動システムでは、減速機内の貯留部に溜めた潤滑油を、電動機の冷却のためにも用いている。この潤滑油は装置内で循環しつづけることから、潤滑油を定期的に交換して清浄度を保つ必要がある。しかし、例えばミニショベルと呼ばれる比較的小さな油圧ショベルにおいて、回転駆動システムは、上部旋回体のキャブ内に設置された操縦席の下部に配置されている。このためミニショベルでは、回転駆動システムの潤滑油を交換する場合、キャブ内のフロアフレームを取り外す必要があるため、手間がかかってしまう。
【0007】
本発明は、このような課題に鑑み、ブレーキを解除する作動油と減速機の潤滑油とを1つの油圧源から供給できるとともに、潤滑油の清浄度を保ちながら電動機の冷却を行うことができる回転駆動システムを提供することを目的としている。
【課題を解決するための手段】
【0008】
上記課題を解決するために、本発明にかかる回転駆動システムの代表的な構成は、電動機と、電動機の回転を減速させる減速機と、電動機と減速機の間に配置され、減速機の回転を止めるブレーキ機構とを備え、ブレーキ機構は、ブレーキケーシングと、電動機のシャフトに固定されたブレーキディスクと、ブレーキディスクと摩擦接触するブレーキピストンと、ブレーキディスクに向かってブレーキピストンを付勢するブレーキバネと、ブレーキケーシングとブレーキピストンで区画されたブレーキ室と、ブレーキケーシングに設けられたブレーキ解除ポートであって、ブレーキバネの付勢力に抗してブレーキピストンを電動機側に移動させてブレーキディスクから離間させる作動油を、外部の油圧源からブレーキ室に供給するブレーキ解除ポートと、ブレーキピストンに形成されブレーキ室側から電動機側に連通する連通孔と、電動機のハウジングに設けられ、ブレーキ室からブレーキピストンの連通孔を通って電動機内を通過した作動油を排出する排出ポートと、ブレーキピストンが電動機側に移動したときにブレーキピストンとブレーキディスクの間に形成され、ブレーキ室に供給された作動油を減速機に供給する供給路とを有することを特徴とする。
【0009】
上記のブレーキピストンの電動機側の端面には、スリットが形成されていて、スリットは、連通孔から電動機側の端面の縁まで連通していることが好ましい。
【0010】
上記の電動機は、ハウジングに固定されたステータと、電流が印加されるとシャフトとともに回転するロータとを有し、作動油は、ロータとステータの隙間を通って電動機内を通過して排出ポートから排出されることが好ましい。
【発明の効果】
(【0011】以降は省略されています)
この特許をJ-PlatPat(特許庁公式サイト)で参照する
関連特許
株式会社不二越
ロボット
1か月前
株式会社不二越
硬質材料
2か月前
株式会社不二越
エンドミル
19日前
株式会社不二越
ブローチ盤
2か月前
株式会社不二越
歯車加工装置
14日前
株式会社不二越
歯車加工装置
14日前
株式会社不二越
歯車加工装置
14日前
株式会社不二越
X線測定装置
19日前
株式会社不二越
熱処理システム
2か月前
株式会社不二越
X線測定システム
1か月前
株式会社不二越
ロボットシステム
2か月前
株式会社不二越
エッジ仕上げ装置
2か月前
株式会社不二越
ノンリーク三方弁
1か月前
株式会社不二越
回転駆動システム
今日
株式会社不二越
X線測定システム
1か月前
株式会社不二越
噛み込み検知装置
27日前
株式会社不二越
複合アクチュエータ
1か月前
株式会社不二越
垂直多関節ロボット
6日前
株式会社不二越
垂直多関節ロボット
2か月前
株式会社不二越
移動ロボットシステム
1か月前
株式会社不二越
斜板式ピストンポンプ
1か月前
株式会社不二越
固定構造および固定治具
1か月前
株式会社不二越
ロボットに用いる伝送路
1か月前
株式会社不二越
可変容量制御ピストンポンプ
1か月前
株式会社不二越
X線回折測定装置及びプログラム
1か月前
株式会社不二越
ダイヤモンド膜の密着性能評価方法
今日
株式会社不二越
超硬合金およびこれを用いた切削工具
1か月前
株式会社不二越
センサシステム及びロボットシステム
1か月前
株式会社不二越
歯車加工用合金鋼およびそれを用いた歯車
2か月前
株式会社不二越
冷間金型用合金鋼およびそれを用いた冷間金型
1か月前
株式会社不二越
直動軸受用合金鋼およびそれを用いた直動軸受
29日前
個人
留め具
1か月前
個人
給排気装置
1か月前
個人
ナット
21日前
個人
ゲート弁バルブ
6日前
兼工業株式会社
バルブ
22日前
続きを見る
他の特許を見る