TOP
|
特許
|
意匠
|
商標
特許ウォッチ
Twitter
他の特許を見る
公開番号
2025141083
公報種別
公開特許公報(A)
公開日
2025-09-29
出願番号
2024040837
出願日
2024-03-15
発明の名称
可変容量制御ピストンポンプ
出願人
株式会社不二越
代理人
個人
,
個人
主分類
F04B
1/324 20200101AFI20250919BHJP(液体用容積形機械;液体または圧縮性流体用ポンプ)
要約
【課題】 騒音が小さい可変容量制御ピストンポンプを提供する。
【解決手段】 スプリング21による斜板7の揺動方向の後方には、ストッパ23が配置される。ストッパ23によって、斜板7の最大傾斜角度を規制することができる。ピストンポンプ1における、ストッパ23は、ハウジング3に形成されたシリンダ部29に収容される。シリンダ部29には、油圧回路27が接続されており、一定の油圧が付与される。ストッパ23は、油圧によってシリンダ部29から押し出される方向に力を受ける。このため、ストッパ23は、常に一定の押圧力で斜板7に対して押し付けられて接触した状態が維持される。
【選択図】図3
特許請求の範囲
【請求項1】
可変容量制御ピストンポンプであって、
ハウジング内において、
シャフトを中心に回転可能なシリンダバレルと、
前記シリンダバレルにおいて、前記シャフトを中心として周方向に所定の間隔で配置される複数のシリンダと、
前記シリンダに対して前記シャフトの軸方向に往復動作可能なピストンと、
前記ピストンに対して角度が可変となるように支持部を中心にして揺動可能な斜板と、
前記斜板の一部に対して、前記斜板の傾斜角度が大きくなるように押圧可能なスプリングと、
前記斜板の最大傾斜角度を規制するストッパと、
を具備し、
前記ピストンの端部は、前記斜板の面に沿って移動可能であり、
前記ストッパは、前記斜板側に対して押圧可能な押圧手段を有し、前記斜板の揺動可能範囲において、前記ストッパが前記斜板に対して所定の力で押圧された状態が維持されることを特徴とする可変容量制御ピストンポンプ。
続きを表示(約 340 文字)
【請求項2】
前記押圧手段は油圧ピストンであり、前記斜板には前記油圧ピストンが一定の力で押圧されることを特徴とする請求項1記載の可変容量制御ピストンポンプ。
【請求項3】
前記油圧ピストンの背部には、ばねが配置され、前記油圧ピストンの押圧方向に対して前記ばねが前記油圧ピストンを押圧することを特徴とする請求項2記載の可変容量制御ピストンポンプ。
【請求項4】
前記ストッパは、前記斜板を挟んで前記スプリングに対向する位置に配置されることを特徴とする請求項1記載の可変容量制御ピストンポンプ。
【請求項5】
前記ストッパは、前記支持部を挟んで前記スプリングとは逆側に配置されることを特徴とする請求項1記載の可変容量制御ピストンポンプ。
発明の詳細な説明
【技術分野】
【0001】
本発明は、定馬力制御型の可変容量制御ピストンポンプに関するものである。
続きを表示(約 1,600 文字)
【背景技術】
【0002】
例えば、建設機械向けなどの油圧ポンプにおいて、エンジンの出力を有効に活用するため、定馬力制御型の可変容量制御ピストンポンプが広く用いられている。可変容量ピストンポンプは、スプリング荷重によるモーメントと、吐出圧力によるモーメントをバランスさせることで、吐出圧力が増加すると斜板が傾転し、吐出流量を減少させることで定馬力制御が行われる。
【0003】
このような可変容量型のピストンポンプとしては、例えば、斜板の揺動中心とその揺動中心軸線を、ピストンの作動時に斜板を軸方向に押圧する合力中心軸線より離隔して配置した定馬力制御ピストンポンプが提案されている(特許文献1)。特許文献1では、斜板の一端が、スプリングを押して斜板の傾転角を減少させると、揺動中心に対するピストンからの合カ作用腕の長さが減少する。このため、より理想的な定馬力制御特性を得ることができる。
【先行技術文献】
【特許文献】
【0004】
実開平4-6775公報
【発明の概要】
【発明が解決しようとする課題】
【0005】
図5、図6は、従来のピストンポンプ100を示す図であり、図5は、斜板107が最大角度となって、最大吐出量の状態であり、図6は、斜板107が揺動して、斜板107の傾斜角度が小さくなった状態を示す図である。
【0006】
シャフト105とシリンダバレル109は、シャフト105を軸心として回転可能である。シリンダバレル109には、複数のシリンダ111が配置され、それぞれのシリンダ111にはピストン113が設けられる。それぞれのピストン113の端部は、シュー117を介して斜板107に当接される。シュー117は、斜板107の表面に沿って摺動可能である。
【0007】
斜板107は、シャフト105の軸方向に垂直な方向(紙面に垂直な方向)を回転軸として、揺動中心119を中心に揺動可能である。すなわち、斜板107は、シャフト105に対して角度が可変である。斜板107の一方の端部側には、スプリング121に嵌合したスプリングホルダ122の先端が接触し、スプリング121によって斜板107は押圧される。すなわち、斜板107には、スプリング121からの押圧力によるモーメントMsが付与される。
【0008】
シャフト105を回転させると、シリンダバレル109が回転するため、ピストン113が斜板107に沿って移動する。この際、斜板107が傾斜しているため、ピストン113は、斜板107とシリンダバレル109との距離に応じてシリンダ111に対して往復動作する。この際、ピストン113の往復動作に伴い、油の吸引と吐出が行われる。
【0009】
ここで、斜板107は、全てのピストン113からの合力を受ける。このため、斜板107には、全てのピストン113からの押圧力によるモーメントMpが付与される。すなわち、斜板107は、前述したスプリング121によるモーメントMsと、ピストン113によるMpとが釣り合った角度で保持される。
【0010】
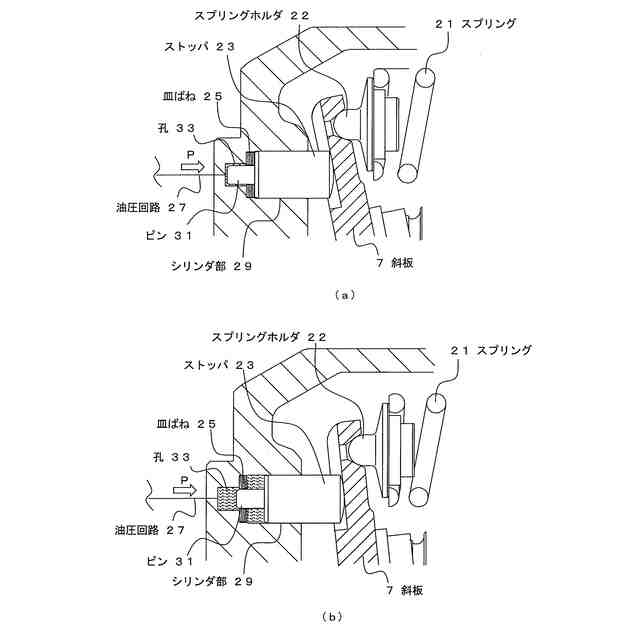
図7(a)は、図5におけるストッパ123近傍の拡大図である。前述したように、Ms>Mpの状態では、スプリング121の押圧力によって、斜板107は図中反時計回り方向に揺動し、ストッパ123に接触した状態で維持される。すなわち、ストッパ123は、ハウジングに固定され、斜板107の最大傾斜角度を規制するものである。一方、この状態から、Mpが徐々に大きくなり、MpがMsを上回ると、斜板107が揺動を開始する。図7(b)は、斜板107が揺動を開始し、ストッパ123から離れた直後の状態を示す図である。
(【0011】以降は省略されています)
この特許をJ-PlatPat(特許庁公式サイト)で参照する
関連特許
株式会社不二越
エンドミル
1日前
株式会社不二越
流路切換弁
13日前
株式会社不二越
エンドミル
1か月前
株式会社不二越
歯車加工装置
29日前
株式会社不二越
X線測定装置
1か月前
株式会社不二越
歯車加工装置
29日前
株式会社不二越
歯車加工装置
29日前
株式会社不二越
電動油圧ポンプ
6日前
株式会社不二越
空冷式油圧装置
6日前
株式会社不二越
電動油圧ポンプ
6日前
株式会社不二越
刃先交換式ドリル
2日前
株式会社不二越
X線測定システム
6日前
株式会社不二越
回転駆動システム
15日前
株式会社不二越
噛み込み検知装置
1か月前
株式会社不二越
垂直多関節ロボット
21日前
株式会社不二越
固定構造および固定治具
1か月前
株式会社不二越
ロボットに用いる伝送路
1か月前
株式会社不二越
ダイヤモンド膜の密着性能評価方法
15日前
株式会社不二越
超硬合金およびこれを用いた切削工具
1か月前
株式会社不二越
センサシステム及びロボットシステム
1か月前
株式会社不二越
歯切工具用部品およびそれを用いた歯切工具
13日前
株式会社不二越
直動軸受用合金鋼およびそれを用いた直動軸受
1か月前
株式会社不二越
冷間金型用合金鋼およびそれを用いた冷間金型
1か月前
国立大学法人 東京大学
物体検知システム及びロボットシステム
1日前
個人
海流製造装置。
2か月前
株式会社スギノマシン
圧縮機
2か月前
株式会社ツインバード
送風装置
2か月前
株式会社ツインバード
送風装置
2か月前
カヤバ株式会社
電動ポンプ
1か月前
三菱電機株式会社
送風装置
2日前
カヤバ株式会社
電動ポンプ
4か月前
日機装株式会社
遠心ポンプ
1か月前
ビッグボーン株式会社
送風装置
3か月前
株式会社不二越
蓄圧装置
4か月前
株式会社不二越
電動油圧ポンプ
6日前
株式会社不二越
電動油圧ポンプ
6日前
続きを見る
他の特許を見る