TOP
|
特許
|
意匠
|
商標
特許ウォッチ
Twitter
他の特許を見る
公開番号
2025176896
公報種別
公開特許公報(A)
公開日
2025-12-05
出願番号
2024083277
出願日
2024-05-22
発明の名称
電動油圧ポンプ
出願人
株式会社不二越
代理人
個人
主分類
F04B
9/02 20060101AFI20251128BHJP(液体用容積形機械;液体または圧縮性流体用ポンプ)
要約
【課題】
一体型の回転軸と永久磁石モータを採用した電動油圧ポンプにおいて、強度、加工性、コストを維持しつつ、作動油中の鉄粉の回転軸への付着問題を解決する
【解決手段】
ポンプロータ112を用いて作動油を吸入・吐出するポンプ本体部110と、永久磁石123aを用いたモータロータ123を含む、電動モータ部120と、ポンプロータ112とモータロータ123とを同軸で一体的に回転させる回転軸130と、ポンプケース111のモータ側端部にて回転軸130の外周との隙間を封止するオイルシール140と、を備え、回転軸130は、磁性体の鋼材で形成されポンプ回転要素112が固定されたポンプ側回転軸131と、磁性体の鋼材で形成されモータロータ123が固定されたモータ側回転軸132とが、非磁性体のジョイント133を介して同軸に結合される。
【選択図】図1
特許請求の範囲
【請求項1】
ポンプケースを有し、ポンプ回転要素を用いて作動油を吸入・吐出するポンプ本体部と、
前記ポンプケースに結合されたモータケース及び、永久磁石を用いたモータロータを含む、電動モータ部と、
一端側に前記ポンプ回転要素が固定され、他端側に前記モータロータが固定されて、前記ポンプ回転要素と前記モータロータとを同軸で一体的に回転させる回転軸と、
前記ポンプケースの前記他端側の端部にて前記回転軸の外周と前記ポンプケースの内周との隙間を封止するオイルシールと、を備え、
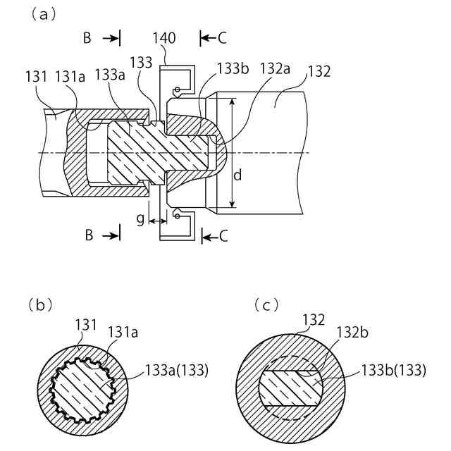
前記回転軸は、磁性体の鋼材で構成され前記ポンプ回転要素が固定されたポンプ側回転軸と、磁性体の鋼材で構成され前記モータロータが固定されたモータ側回転軸とが、非磁性体の部材で構成されたジョイントを介して同軸に結合されたことを特徴とする、電動油圧ポンプ。
続きを表示(約 1,100 文字)
【請求項2】
前記ジョイントは、前記非磁性体の部材の表面に形成された非磁性体のメッキ層を有することを特徴とする、請求項1に記載の電動油圧ポンプ。
【請求項3】
前記非磁性体の部材は、非磁性のステンレス鋼又はアルミニウムの部材であることを特徴とする請求項1又は2に記載の電動油圧ポンプ。
【請求項4】
前記非磁性体のメッキ層は、クロムメッキ層又はニッケルメッキ層であることを特徴とする、請求項2に記載の電動油圧ポンプ。
【請求項5】
前記ジョイントを介して向かい合う、前記ポンプ側回転軸の端部と前記モータ側回転軸の端部との間隙は、前記モータ側回転軸の前記端部の軸径に対し10%以上であることを特徴とする、請求項1又は2に記載の電動油圧ポンプ。
【請求項6】
前記ジョイントは、略短軸状の部材で、前記一端側に、断面が所定形状の第1の先端部を有するとともに、前記他端側に、断面が所定形状の第2の先端部を有し、
前記ポンプ側回転軸は、前記他端側の端面から中心軸に沿って穿設され断面が前記第1の先端部に嵌合して軸回転を伝達する形状の第1の嵌合孔を有し、
前記モータ側回転軸は、前記一端側の端面から中心軸に沿って穿設され断面が前記第2の先端部に嵌合して軸回転を伝達する形状の第2の嵌合孔を有し、
前記回転軸は、前記第1の先端部が前記第1の嵌合孔に嵌合し、前記第2の先端部が前記第2の嵌合孔に嵌合することにより、形成されたものであることを特徴とする請求項1又は2に記載の電動油圧ポンプ。
【請求項7】
前記ポンプ側回転軸は、両側が前記ポンプ回転要素から突出し、前記ポンプ回転要素より前記一端側に設けられた第1の軸受と、前記ポンプ回転要素より前記他端側に設けられた第2の軸受とを介して、前記ポンプケースにより回転可能に支持され、
前記第1の軸受と前記第2の軸受は、前記オイルシールより前記一端側に設けられたことを特徴とする請求項1又は2に記載の電動油圧ポンプ。
【請求項8】
前記ポンプ側回転軸は、両側が前記ポンプ回転要素から突出し、前記ポンプ回転要素より前記一端側に設けられた第1の軸受と、前記ポンプ回転要素より前記他端側に設けられた第2の軸受とを介して、前記ポンプケースにより回転可能に支持され、
前記第2の軸受は、前記第1の先端部が前記第1の嵌合孔に嵌合している部分における前記ポンプ側回転軸の外周側に配置されたことを特徴とする請求項6に記載の電動油圧ポンプ。
【請求項9】
前記ポンプ本体部は、容量可変型ベーンポンプであることを特徴とする請求項1又は2に記載の電動油圧ポンプ。
発明の詳細な説明
【技術分野】
【0001】
本発明は、電動油圧ポンプに関する。
続きを表示(約 3,100 文字)
【背景技術】
【0002】
従来より、油圧ポンプの小型化の要求に伴って、電動機と油圧ポンプをポンプ駆動軸とモータ出力軸を一体とした回転軸で駆動する構成が提案されている。また、油圧ポンプの省電力化の要求に伴って、モータロータに永久磁石を採用したモータが採用されている。
【0003】
例えば、特許文献1は、内接歯車ポンプのインナーロータの駆動軸と電動モータの出力軸が一体化された油圧ポンプを開示している。また、特許文献2は、内接歯車ポンプのインナーロータの駆動軸と永久磁石モータの出力軸が一体化された油圧ポンプを開示している。また、特許文献3は、ベーンポンプの回転軸と電動モータの出力軸を同軸に結合した油圧ポンプを開示している。
【先行技術文献】
【特許文献】
【0004】
特開2021-67214
特開2013-169136
特開2019-206919
【発明の概要】
【発明が解決しようとする課題】
【0005】
しかし、電動機として永久磁石を用いるモータを使用し、ポンプ駆動軸とモータ出力軸を一体としている場合、磁石の磁力により回転軸の表面が僅かに磁化し、回転軸の作動油との接触部分においても弱い磁力が発生する可能性がある。一方、油圧ポンプを通過する作動油には、微細な鉄粉が含まれることがあり、また、油圧ポンプの初期運転段階に生ずる鉄粉が作動油に混入することもある。このような鉄粉が、磁力により回転軸に付着、滞留し塊となって、摺動部に噛み込んで摺動部の摩耗を生ずる問題があった。
【0006】
この回転軸の磁化の問題への対応策として、特許文献2は、回転軸を非磁性金属製とすることを提案している。しかし、回転軸全体を非磁性金属製、例えば、アルミニウム製やステンレス鋼製とすることは、強度、加工性、コストの点で問題があった。また、従来の磁性体の鋼材の加工ノウハウを必ずしも利用できないという問題もあった。
【0007】
本発明は上述の点に鑑みてなされたものであり、その目的は、同軸に結合した回転軸と永久磁石モータを採用した電動油圧ポンプにおいて、強度、加工性、コストに優れ、作動油中の鉄粉の回転軸への付着問題を解決できる電動油圧ポンプを提供することにある。
【課題を解決するための手段】
【0008】
(1)上記課題を解決するために、本発明の電動油圧ポンプは、ポンプケースを有し、ポンプ回転要素を用いて作動油を吸入・吐出するポンプ本体部と、前記ポンプケースに結合されたモータケース及び、永久磁石を用いたモータロータを含む、電動モータ部と、一端側に前記ポンプ回転要素が固定され、他端側に前記モータロータが固定されて、前記ポンプ回転要素と前記モータロータとを同軸で一体的に回転させる回転軸と、前記ポンプケースの前記他端側の端部にて前記回転軸の外周と前記ポンプケースの内周との隙間を封止するオイルシールと、を含む、電動油圧ポンプであって、前記回転軸は、磁性体の鋼材で構成され前記ポンプ回転要素が固定されたポンプ側回転軸と、磁性体の鋼材で構成され前記モータロータが固定されたモータ側回転軸が、非磁性体の部材で構成されたジョイントを介して同軸に結合されて形成されている。
(2)前記ジョイントは、前記非磁性体の部材の表面に形成された非磁性体のメッキ層を有するものであってもよい。
(3)前記非磁性体の部材は、アルミニウム又は非磁性のステンレス鋼(SUS303,304等)の部材であってもよい。
(4)前記非磁性体のメッキ層は、クロムメッキ層又はニッケルメッキ層であってもよい。このクロムメッキ層又はニッケルメッキ層は、具体的には硬質クロムメッキ層や高P~中Pタイプのニッケルメッキ層であってもよい。
(5)前記ジョイントを介して向かい合う、前記ポンプ側回転軸の端部と前記モータ側回転軸の端部との間隙は、前記モータ側回転軸の前記端部の軸径に対し10%以上であってもよい。
(6)前記ジョイントは、略短軸状の部材で、前記一端側に、断面が所定形状の第1の先端部を有するとともに、前記他端側に、断面が所定形状の第2の先端部を有し、前記ポンプ側回転軸は、前記他端側の端面から中心軸に沿って穿設され断面が前記第1の先端部に嵌合して軸回転を伝達する形状の第1の嵌合孔を有し、前記モータ側回転軸は、前記一端側の端面から中心軸に沿って穿設され断面が前記第2の先端部に嵌合して軸回転を伝達する形状の第2の嵌合孔を有し、前記回転軸は、前記第1の先端部が前記第1の嵌合孔に嵌合し、前記第2の先端部が前記第2の嵌合孔に嵌合することにより、形成されたものであってもよい。
(7)前記ポンプ側回転軸は、両側が前記ポンプ回転要素から突出し、前記ポンプ回転要素より前記一端側に設けられた第1の軸受と、前記ポンプ回転要素より前記他端側に設けられた第2の軸受とを介して、前記ポンプケースにより回転可能に支持され、前記第1の軸受と前記第2の軸受は、前記オイルシールより前記一端側に設けられた、ものであってもよい。
(8)前記ポンプ側回転軸は、両側が前記ポンプ回転要素から突出し、前記ポンプ回転要素より前記一端側に設けられた第1の軸受と、前記ポンプ回転要素より前記他端側に設けられた第2の軸受とを介して、前記ポンプケースにより回転可能に支持され、前記第2の軸受は、前記第1の先端部が前記第1の嵌合孔に嵌合している部分における前記ポンプ側回転軸の外周側に配置された、ものであってもよい。
(9)前記ポンプは、容量可変型ベーンポンプであってもよい。なお、本発明の電動油圧ポンプは、容量可変型ベーンポンプに限られず、ポンプ回転要素を用いて作動油を吸引吐出するものであればいずれにも適用でき、例えば、容量固定型ベーンポンプ、容量可変型・固定型ピストンポンプ、容量可変型・固定型ギアポンプなどにも適用できる。
【発明の効果】
【0009】
本発明の電動油圧ポンプによれば、前記回転軸は、磁性体の鋼材で構成され前記ポンプ回転要素が固定されたポンプ側回転軸と、磁性体の鋼材で構成され前記モータロータが固定されたモータ側回転軸が、非磁性体の部材で構成されたジョイントを介して同軸に結合されて形成される。この構成により、強度、加工性、コストに優れた鋼材の回転軸を使用しつつ、永久磁石からの磁界によるモータ側回転軸側からの磁化を、非磁性体の部材で構成されたジョイントで遮断できる。その結果、ポンプ側回転軸の磁化を抑制できるので、回転軸への鉄粉の付着を低減することができる。
【図面の簡単な説明】
【0010】
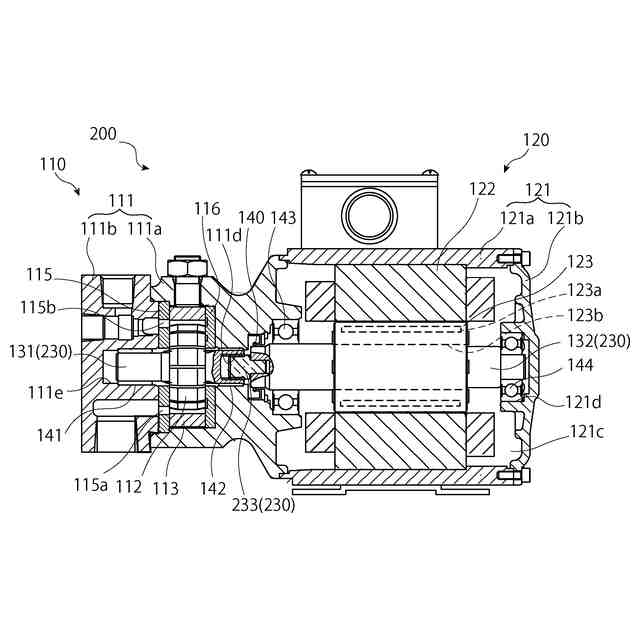
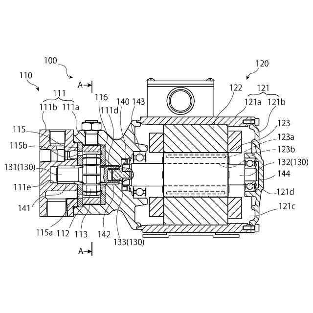
第1の実施形態に係る電動油圧ポンプを示す縦断面図である。
図1の電動油圧ポンプのA-A断面図である。
図1の電動油圧ポンプのジョイント部分を示す部分拡大図で、(a)が縦断面図、(b)がB-B断面図、(c)がC-C断面図である。
第2の実施形態に係る電動油圧ポンプを示す縦断面図である。
図4の電動油圧ポンプのジョイント部分を示す部分拡大図で、(a)が縦断面図、(b)がD-D断面図、(c)がE-E断面図である。
【発明を実施するための形態】
(【0011】以降は省略されています)
この特許をJ-PlatPat(特許庁公式サイト)で参照する
関連特許
株式会社不二越
ロボット
2か月前
株式会社不二越
流路切換弁
8日前
株式会社不二越
エンドミル
29日前
株式会社不二越
歯車加工装置
24日前
株式会社不二越
X線測定装置
29日前
株式会社不二越
歯車加工装置
24日前
株式会社不二越
歯車加工装置
24日前
株式会社不二越
電動油圧ポンプ
1日前
株式会社不二越
空冷式油圧装置
1日前
株式会社不二越
電動油圧ポンプ
1日前
株式会社不二越
X線測定システム
1日前
株式会社不二越
回転駆動システム
10日前
株式会社不二越
X線測定システム
1か月前
株式会社不二越
X線測定システム
1か月前
株式会社不二越
噛み込み検知装置
1か月前
株式会社不二越
垂直多関節ロボット
16日前
株式会社不二越
斜板式ピストンポンプ
1か月前
株式会社不二越
固定構造および固定治具
1か月前
株式会社不二越
ロボットに用いる伝送路
1か月前
株式会社不二越
ダイヤモンド膜の密着性能評価方法
10日前
株式会社不二越
超硬合金およびこれを用いた切削工具
1か月前
株式会社不二越
センサシステム及びロボットシステム
1か月前
株式会社不二越
歯切工具用部品およびそれを用いた歯切工具
8日前
株式会社不二越
直動軸受用合金鋼およびそれを用いた直動軸受
1か月前
株式会社不二越
冷間金型用合金鋼およびそれを用いた冷間金型
1か月前
個人
海流製造装置。
2か月前
株式会社スギノマシン
圧縮機
1か月前
株式会社ツインバード
送風装置
2か月前
株式会社ツインバード
送風装置
2か月前
カヤバ株式会社
電動ポンプ
4か月前
カヤバ株式会社
電動ポンプ
29日前
日機装株式会社
遠心ポンプ
1か月前
株式会社不二越
電動油圧ポンプ
1日前
株式会社不二越
電動油圧ポンプ
1日前
ビッグボーン株式会社
送風装置
3か月前
株式会社不二越
蓄圧装置
4か月前
続きを見る
他の特許を見る