TOP
|
特許
|
意匠
|
商標
特許ウォッチ
Twitter
他の特許を見る
公開番号
2025174684
公報種別
公開特許公報(A)
公開日
2025-11-28
出願番号
2024081192
出願日
2024-05-17
発明の名称
流路切換弁
出願人
株式会社不二越
代理人
個人
,
個人
主分類
F16K
31/08 20060101AFI20251120BHJP(機械要素または単位;機械または装置の効果的機能を生じ維持するための一般的手段)
要約
【課題】簡素な構造でありながら、プランジャを固定鉄心に確実に当接させることができる流路切換弁を提供する。
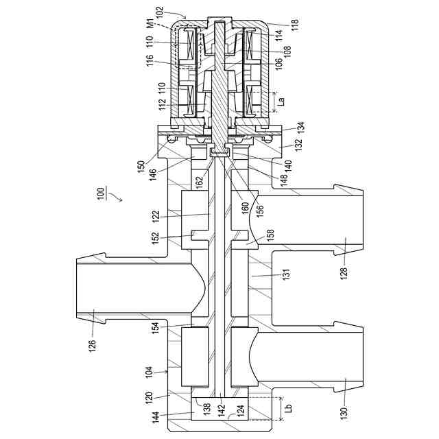
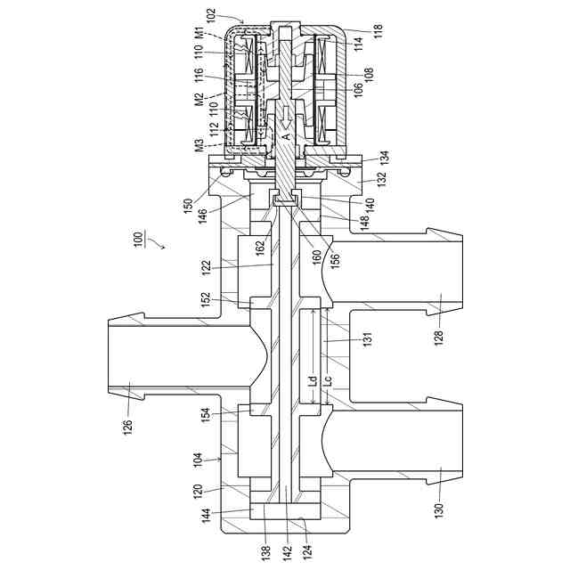
【解決手段】本発明にかかる流路切換弁100は、電磁部102とバルブ部104とを備え、電磁部は、シャフト106と一体に移動するプランジャ108と、プランジャを移動させるコイル110と、プランジャのストロークの両端に配置された第1固定鉄心112および第2固定鉄心114と、プランジャをストロークの両端で第1固定鉄心および第2固定鉄心に吸着保持させる磁石116とを有し、バルブ部は、入力ポート126と複数の出力ポート128、130とを有するスリーブ120と、電磁部のシャフトに連結され、スリーブの内部を摺動して複数の出力ポートの切換を行うスプール122とを有し、プランジャが第1固定鉄心および第2固定鉄心のいずれかと当接したとき、スプールがスプールのストローク端に至らないことを特徴とする。
【選択図】図1
特許請求の範囲
【請求項1】
電磁部とバルブ部とを備えた流路切換弁であって、
前記電磁部は、
シャフトと一体に移動するプランジャと、
前記プランジャを移動させるコイルと、
前記プランジャのストロークの両端に配置された2つの固定鉄心と、
前記プランジャをストロークの両端で前記2つの固定鉄心に吸着保持させる磁石とを有し、
前記バルブ部は、
入力ポートと複数の出力ポートとを有するスリーブと、
前記電磁部の前記シャフトに連結され、前記スリーブの内部を摺動して前記複数の出力ポートの切換を行うスプールとを有し、
前記プランジャが前記2つの固定鉄心のいずれかと当接したとき、前記スプールが該スプールのストローク端に至らないことを特徴とする流路切換弁。
続きを表示(約 78 文字)
【請求項2】
前記スプールの中心には、該スプールの一端から他端に貫通する貫通穴が設けられていることを特徴とする請求項1に記載の流路切換弁。
発明の詳細な説明
【技術分野】
【0001】
本発明は、電磁部とバルブ部とを備えた流路切換弁に関する。
続きを表示(約 1,600 文字)
【背景技術】
【0002】
一例として流路切換弁のバルブ部は、少なくとも入力ポートと出力ポートを有するスリーブと、スリーブの内部に摺動可能に配置されたスプールとを備える。流路切換弁は、バルブ部に取り付けられた電磁部のコイルが励磁されることで吸引力が生じ、この吸引力によってスプールを変位させて流路を切り換える。
【0003】
特許文献1には、電磁部とバルブ部とを備えた電磁弁が記載されている。電磁部は、プランジャと、固定コア(固定鉄心)と、永久磁石と、戻しばね(プランジャの突出方向)と、コイル部とを有する。バルブ部は、出力ポートを有するボディと、入力ポートと出力ポートを有する他のボディと、弁軸と、弁シートと、戻しばね(プランジャの引込方向)とを有する。
【0004】
この電磁弁では、コイル部が通電されるとプランジャが固定コアに密着状態で保持され、バルブ部のばねに押されて弁軸が移動し、他のボディの出力ポートが開く。また非通電時には、電磁部の永久磁石によりプランジャと固定コアとの密着状態が保持される。さらに通電時(極性反転)には、永久磁石の磁力低下によりプランジャと固定コアとの密着状態を維持できず、プランジャが電磁部のばねに押されて、バルブ部の弁軸が移動して弁体シートによりボディの出力ポートが開く。また弁軸は、プランジャとは分離されていて、ボディおよび他のボディに連結された支持アームによって位置決めされて、プランジャとの合芯性が確保されている。
【先行技術文献】
【特許文献】
【0005】
特開2013-217465号公報
【発明の概要】
【発明が解決しようとする課題】
【0006】
しかし特許文献1の電磁弁では、プランジャと弁軸とが分離されているため、プランジャが固定コアに隙間なく密着するものの、2つの戻しばねが必要となり、構造が複雑になっている。また電磁弁は、プランジャを一端で保持するラッチソレノイドである。このため、プランジャは、バルブ部のばねに抗して移動する必要があり、プランジャ推力が損なわれる。さらに、プランジャと分離された弁軸を位置決めするために、ボディおよび他のボディに連結された支持アームが必要となり、流路の開口面積が減少してしまう。
【0007】
本発明は、このような課題に鑑み、簡素な構造でありながら、プランジャを固定鉄心に確実に当接させることができる流路切換弁を提供することを目的としている。
【課題を解決するための手段】
【0008】
上記課題を解決するために、本発明にかかる流路切換弁の代表的な構成は、電磁部とバルブ部とを備えた流路切換弁であって、電磁部は、シャフトと一体に移動するプランジャと、プランジャを移動させるコイルと、プランジャのストロークの両端に配置された2つの固定鉄心と、プランジャをストロークの両端で2つの固定鉄心に吸着保持させる磁石とを有し、バルブ部は、入力ポートと複数の出力ポートとを有するスリーブと、電磁部のシャフトに連結され、スリーブの内部を摺動して複数の出力ポートの切換を行うスプールとを有し、プランジャが2つの固定鉄心のいずれかと当接したとき、スプールがスプールのストローク端に至らないことを特徴とする。
【0009】
上記のスプールの中心には、スプールの一端から他端に貫通する貫通穴が設けられていることが好ましい。
【発明の効果】
【0010】
本発明によれば、簡素な構造でありながら、プランジャを固定鉄心に確実に当接させることができる流路切換弁を提供することができる。
【図面の簡単な説明】
(【0011】以降は省略されています)
この特許をJ-PlatPat(特許庁公式サイト)で参照する
関連特許
株式会社不二越
流路切換弁
1日前
株式会社不二越
エンドミル
22日前
株式会社不二越
X線測定装置
22日前
株式会社不二越
歯車加工装置
17日前
株式会社不二越
歯車加工装置
17日前
株式会社不二越
歯車加工装置
17日前
株式会社不二越
X線測定システム
1か月前
株式会社不二越
X線測定システム
1か月前
株式会社不二越
噛み込み検知装置
1か月前
株式会社不二越
回転駆動システム
3日前
株式会社不二越
垂直多関節ロボット
9日前
株式会社不二越
斜板式ピストンポンプ
1か月前
株式会社不二越
固定構造および固定治具
1か月前
株式会社不二越
ロボットに用いる伝送路
1か月前
株式会社不二越
ダイヤモンド膜の密着性能評価方法
3日前
株式会社不二越
超硬合金およびこれを用いた切削工具
1か月前
株式会社不二越
センサシステム及びロボットシステム
1か月前
株式会社不二越
歯切工具用部品およびそれを用いた歯切工具
1日前
株式会社不二越
直動軸受用合金鋼およびそれを用いた直動軸受
1か月前
株式会社不二越
冷間金型用合金鋼およびそれを用いた冷間金型
1か月前
個人
留め具
1か月前
個人
鍋虫ねじ
3か月前
個人
ホース保持具
7か月前
個人
紛体用仕切弁
3か月前
個人
回転伝達機構
3か月前
個人
差動歯車用歯形
5か月前
個人
トーションバー
7か月前
個人
給排気装置
1か月前
個人
ジョイント
2か月前
株式会社不二工機
電磁弁
6か月前
個人
ナット
2か月前
個人
地震の揺れ回避装置
4か月前
株式会社不二工機
電磁弁
5か月前
個人
ナット
24日前
個人
ゲート弁バルブ
9日前
個人
吐出量監視装置
2か月前
続きを見る
他の特許を見る