TOP
|
特許
|
意匠
|
商標
特許ウォッチ
Twitter
他の特許を見る
公開番号
2025172426
公報種別
公開特許公報(A)
公開日
2025-11-26
出願番号
2024077927
出願日
2024-05-13
発明の名称
ダイヤモンド膜の密着性能評価方法
出願人
株式会社不二越
代理人
弁理士法人酒井国際特許事務所
,
個人
主分類
G01N
19/04 20060101AFI20251118BHJP(測定;試験)
要約
【課題】本発明は、評価試験装置や試験機器を損傷することなく、確実かつ簡易にダイヤモンド膜の密着性を評価できるダイヤモンド膜の密着性能評価方法を提供する。
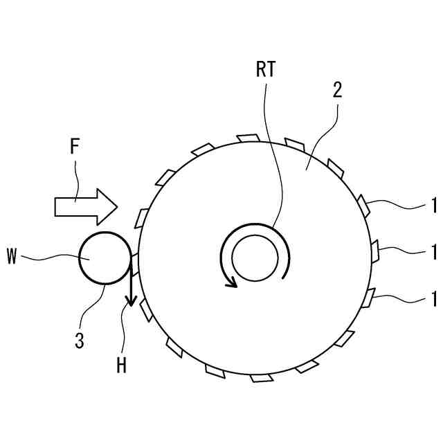
【解決手段】外周面にダイヤモンド製のチップ1を複数個備えたチップソー2を回転させながら、ダイヤモンド膜3が被覆されている基材Wをチップソー2へ向けて押し当てる。この場合、チップソー2はホイール型のチップソー2として、かつ回転しているチップ1の接線方向Hに対して垂直方向になるように基材Wをチップソー2側へ向けて押し当てることでダイヤモンド膜の密着性能評価を行う。
【選択図】図1
特許請求の範囲
【請求項1】
外周面に複数のダイヤモンド製チップを備えたチップソーを回転させながら、ダイヤモンド膜が表面に被覆されている基材を前記チップソーへ向けて押し当てることを特徴とするダイヤモンド膜の密着性能評価方法。
続きを表示(約 190 文字)
【請求項2】
前記チップソーはホイール型のチップソーであり、かつ回転している前記チップの接線方向に対して垂直方向に前記基材を前記チップソーへ向けて押し当てることを特徴とする請求項1に記載のダイヤモンド膜の密着性能評価方法。
【請求項3】
前記基材を前記チップソーのチップに対して断続的に押し当てることを特徴とする請求項2に記載のダイヤモンド膜の密着性能評価方法。
発明の詳細な説明
【技術分野】
【0001】
本発明は、工具の表面に被覆されているダイヤモンド膜の密着性能の評価方法に関する。
続きを表示(約 1,300 文字)
【背景技術】
【0002】
従来、基材の表面に被覆されるダイヤモンド膜の密着性を評価する方法として、ロックウェル硬さ測定試験がある。この硬さ測定試験は、ロックウェル圧子を測定対象であるダイヤモンド膜に押し込んで、その際の押込み荷重と亀裂進展の長さから密着性を評価している。その他に、特許文献1にはダイヤモンド膜の表面にレーザーを照射して、レーザー照射により除去されたダイヤモンド膜の面積から密着性を算出する方法が開示されている。
【先行技術文献】
【特許文献】
【0003】
特開2007-248454号公報
【発明の概要】
【発明が解決しようとする課題】
【0004】
しかし、従来から行われていたロックウェル硬さ試験機を用いた密着性の評価方法では、ダイヤモンド膜の表面に亀裂が発生する前にダイヤモンド膜の表面に押し付けるダイヤモンド製の圧子側が破損する場合があった。そのため、ダイヤモンド膜の密着性評価ができないという問題があった。また、ダイヤモンド膜の膜厚(厚さ)によっては、発生する亀裂の長さが異なるので、密着性の評価結果(数値)にバラツキが生じやすいという問題があった。
【0005】
そこで、本発明は、評価試験装置や試験機器を損傷することなく、確実かつ簡易にダイヤモンド膜の密着性を評価できるダイヤモンド膜の密着性能評価方法を提供することを課題とする。
【課題を解決するための手段】
【0006】
本発明のダイヤモンド膜の密着性能評価方法は、外周面に複数のダイヤモンド製チップを備えたチップソーを回転させながら、ダイヤモンド膜が被覆されている基材をチップソーへ向けて押し当てることでダイヤモンド膜の密着性能を評価する。
【0007】
使用するチップソーはホイール型のチップソーである場合、回転しているチップの接線方向に対して垂直方向となるように基材をチップソーへ向けて押し当てる。
【発明の効果】
【0008】
本発明のダイヤモンド膜の密着性能評価方法は、外周面に複数のダイヤモンド製チップを備えたホイール型のチップソーを回転させながら、ダイヤモンド膜が被覆されている基材をチップソーへ垂直方向に向けて押し当てることでダイヤモンド膜の密着性能を評価する。したがって、評価試験装置や試験機器を損傷することなく、確実かつ簡易にダイヤモンド膜の密着性を評価できるという効果を奏する。
【図面の簡単な説明】
【0009】
本発明のダイヤモンド膜の密着性能評価時の模式全体図である。
図1の部分拡大図である。
実施例のダイヤモンド膜のはく離量を示すグラフである。
【発明を実施するための形態】
【0010】
本発明の一実施形態であるダイヤモンド膜の密着性能評価方法について図面を用いて説明する。本発明のダイヤモンド膜の密着性能評価を行う場合の模式全体図を図1、図1の部分拡大図を図2にそれぞれ示す。
(【0011】以降は省略されています)
この特許をJ-PlatPat(特許庁公式サイト)で参照する
関連特許
個人
採尿及び採便具
27日前
日本精機株式会社
検出装置
21日前
個人
計量機能付き容器
16日前
株式会社カクマル
境界杭
6日前
株式会社ミツトヨ
測定器
1か月前
甲神電機株式会社
電流検出装置
21日前
アズビル株式会社
電磁流量計
1か月前
大成建設株式会社
風洞実験装置
16日前
双庸電子株式会社
誤配線検査装置
22日前
大和製衡株式会社
組合せ計量装置
1か月前
愛知時計電機株式会社
ガスメータ
1か月前
日本特殊陶業株式会社
ガスセンサ
14日前
大和製衡株式会社
組合せ計量装置
1か月前
個人
計量具及び計量機能付き容器
16日前
個人
非接触による電磁パルスの測定方法
19日前
日本信号株式会社
距離画像センサ
19日前
個人
システム、装置及び実験方法
1か月前
愛知電機株式会社
軸部材の外観検査装置
1か月前
ローム株式会社
半導体装置
1か月前
ローム株式会社
半導体装置
1か月前
日東精工株式会社
振動波形検査装置
22日前
日本特殊陶業株式会社
センサ
1か月前
株式会社不二越
X線測定装置
19日前
キーコム株式会社
画像作成システム
6日前
個人
液位検視及び品質監視システム
14日前
株式会社デンソー
電流センサ
1か月前
日本特殊陶業株式会社
センサ
今日
トヨタ自動車株式会社
測定システム
1か月前
株式会社マグネア
磁界検出素子
19日前
株式会社エルメックス
希釈液収容容器
16日前
アンリツ株式会社
X線検査装置
1か月前
株式会社電巧社
試験装置及び試験方法
22日前
理研計器株式会社
ガス検知装置
6日前
株式会社アイシン
回転角検出装置
6日前
IMV株式会社
振動試験システム
19日前
株式会社川島製作所
海苔の異物検査装置
12日前
続きを見る
他の特許を見る