TOP
|
特許
|
意匠
|
商標
特許ウォッチ
Twitter
他の特許を見る
10個以上の画像は省略されています。
公開番号
2025167782
公報種別
公開特許公報(A)
公開日
2025-11-07
出願番号
2024072690
出願日
2024-04-26
発明の名称
振動試験システム
出願人
IMV株式会社
代理人
個人
,
個人
主分類
G01M
7/02 20060101AFI20251030BHJP(測定;試験)
要約
【課題】各振動発生装置による振動をそろえることのできる振動試験システムを提供する。
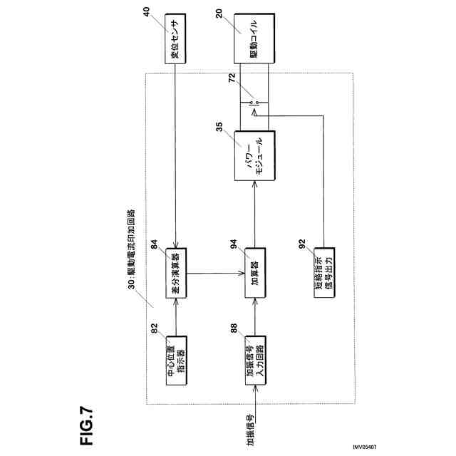
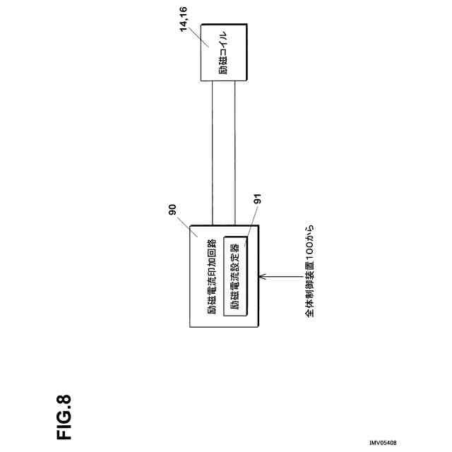
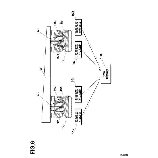
【解決手段】全体制御装置100の重量比率取得手段102は、振動台24aを基準位置に保持するために、駆動電流印加回路30aによって直流の駆動電流を駆動コイル20aに与えた際の当該直流電流を取得する。各振動発生装置の直流電流の比率を、重量比率として取得する。制御手段104は、重量比率取得手段102から可動部重量の比率を受け取り、これに基づいて励磁電流印加回路90a、90bを制御して、駆動コイル20a、20bのインピーダンスを同じになるようにする。全体制御装置100の制御手段104は、駆動電流印加回路30によって、上記調整した励磁電流に応じて、振動試験のために用いる駆動電流のゲインを調整し、振動台24a、24bに同じ加振レベル(加速度又は速度又は変位)の振動が与えられるようにする。
【選択図】図1
特許請求の範囲
【請求項1】
供試体を複数の振動発生装置の振動台に固定して振動試験を行うための振動試験システムであって、当該振動試験システムは、複数の振動発生装置と全体制御装置とを備え、
前記振動発生装置は、
励磁電流により磁束を発生させる磁束発生源と、
駆動信号を取得し、所定の増幅率にて増幅して駆動電流を出力する駆動電流印加回路と、
前記磁束発生源によって発生した磁束中に設けられ、前記駆動電流によって駆動する駆動コイルと、
前記駆動コイルの駆動力により駆動され、供試体を固定するための振動台と、
を備え、
前記全体制御装置は、
各振動発生装置における供試体を固定した振動台を含む可動部の重量比率を取得する重量比率取得手段と、
各振動発生装置における重量比率に基づいて、各振動発生装置による振動が同一に近づくように、各振動発生装置の前記励磁電流および前記駆動電流印加回路の増幅率を制御する制御手段と、
を備えた振動試験システム。
続きを表示(約 1,100 文字)
【請求項2】
供試体を複数の振動発生装置の振動台に固定して振動試験を行うための振動試験システムに用いるための全体制御装置であって、
各振動発生装置における供試体を固定した振動台を含む可動部の重量比率を取得する重量比率取得手段と、
各振動発生装置における重量比率に基づいて、各振動発生装置による振動が同一に近づくように、各振動発生装置の前記励磁電流および、駆動信号を増幅して駆動コイルに与える駆動電流印加回路の増幅率を制御する制御手段と、
を備えた全体制御装置。
【請求項3】
供試体を複数の振動発生装置の振動台に固定して振動試験を行うための振動試験システムに用いるための全体制御装置をコンピュータによって実現するための全体制御プログラムであって、コンピュータを、
各振動発生装置における供試体を固定した振動台を含む可動部の重量比率を取得する重量比率取得手段と、
各振動発生装置における重量比率に基づいて、各振動発生装置による振動が同一に近づくように、各振動発生装置の前記励磁電流、および駆動信号を増幅して駆動コイルに与える駆動電流印加回路の増幅率を制御する制御手段として機能させるための全体制御プログラム。
【請求項4】
請求項1のシステム、請求項2の装置または請求項3のプログラムにおいて、
前記重量比率取得手段は、初期状態において、振動台を基準位置に維持するため、直流電流を駆動電流として前記駆動コイルに与え、当該直流電流の値に基づいて、重量比率を算出することを特徴とするシステム、装置またはプログラム。
【請求項5】
請求項1のシステム、請求項2の装置または請求項3のプログラムにおいて、
前記重量比率取得手段は、前記重量比率を、供試体の形状および重量に基づいて算出することで取得し、もしくは、外部からの入力によって取得することを特徴とするシステム、装置またはプログラム。
【請求項6】
請求項1のシステム、請求項2の装置または請求項3のプログラムにおいて、
前記振動発生装置は、異常状態を検知すると、前記駆動コイルの両端を短絡させる短絡スイッチをさらに備えることを特徴とするシステムまたは装置。
【請求項7】
供試体を複数の振動発生装置の振動台に固定して振動試験を行う振動試験方法であって、
各振動発生装置における供試体を固定した振動台を含む可動部の重量比率を取得し、
各振動発生装置における重量比率に基づいて、各振動発生装置による振動が同一に近づくように、各振動発生装置の前記励磁電流および前記駆動電流印加回路の増幅率を制御する振動試験方法。
発明の詳細な説明
【技術分野】
【0001】
この発明は、供試体の振動試験を行うための振動試験システムに関するものである。
続きを表示(約 1,100 文字)
【背景技術】
【0002】
一般的に、振動発生装置は、加振機とこれを動作させるための電力を供給する電力増幅器によって構成されている。
【0003】
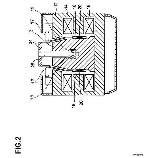
図16Aに、製品の振動試験などに用いられる従来の加振機を示す。磁路部材12、13が設けられている。磁路部材12には、励磁コイル14、16が収納されている。励磁コイル14、16によって、図16Bに示すように、上部磁気回路と下部磁気回路が形成される。これにより、ギャップ18に磁束が生じることになる。
【0004】
このギャップ18に、駆動コイル20が設けられている。したがって、駆動コイル20に所望の振動を生じるための駆動電流を流すと、駆動コイル20を上下させることができる。駆動コイル20には、その上部に振動台24が設けられている。したがって、製品である試料を載置した振動台24を上下に振動させることができる。なお、振動台24は、上部支持機構および下部支持機構(図示せず)によって支持されている。
【0005】
この加振機を使用する際には、まず、振動台24に試料を固定する。この状態で、振動台24の下部に設けられたエアーサスペンション22に空気を送り込み、振動台24を上方向に移動させる。振動台24が上下最大振幅の中央点に達すると、エアーサスペンション22への空気注入を止めて、弁(図示せず)を閉じる。このようにして、初期設定が完了する。
【0006】
以上のようにして、振動台24を中央点まで上昇させると、続いて、アンプにより所望の振動を生じさせるための駆動電力を駆動コイル20に与え、振動台24と試料を振動させる。
【0007】
試験対象である供試体が大きくなれば、これに合わせて大きな振動台を有する振動発生装置を用いるようにしている。
【0008】
さらに大きな供試体や長い供試体のために、複数の振動発生装置の振動台に供試体を固定して、振動試験を行うこともなされている(特許文献1、2など)。
【先行技術文献】
【特許文献】
【0009】
特開平10-124105
特開2010-54397
【発明の概要】
【発明が解決しようとする課題】
【0010】
しかしながら、上記のように複数の箇所において供試体を固定し行う多点加振の振動試験においては、各振動発生装置による振動をそろえる必要がある。振動が揃っていないと、所望の振動が供試体に与えられず振動試験の信頼性に問題が生じるからである。また、各振動発生装置による振動の差が著しいと、供試体が破損する可能性もある。
(【0011】以降は省略されています)
この特許をJ-PlatPat(特許庁公式サイト)で参照する
関連特許
IMV株式会社
振動試験システム
22日前
IMV株式会社
動電式振動発生装置
1か月前
他の特許を見る