TOP
|
特許
|
意匠
|
商標
特許ウォッチ
Twitter
他の特許を見る
10個以上の画像は省略されています。
公開番号
2025157920
公報種別
公開特許公報(A)
公開日
2025-10-16
出願番号
2024060276
出願日
2024-04-03
発明の名称
半導体装置
出願人
ローム株式会社
代理人
個人
,
個人
主分類
G01R
15/20 20060101AFI20251008BHJP(測定;試験)
要約
【課題】配線の電流検出において外部磁界の影響を低減すること。
【解決手段】半導体装置10は、多層基板20と、多層基板20内において多層基板20の厚さ方向であるZ方向に異なる位置に設けられ、多層基板20の厚さ方向から視た平面視で第1方向であるY方向に延びる第1配線パターン31および第2配線パターンと、多層基板20内に設けられ、磁気検出素子52を含むセンサチップ50と、を含む。第1配線パターン31と第2配線パターンとは電気的に接続されている。磁気検出素子52は、Z方向における第1配線パターン31と第2配線パターンとの間に設けられている。
【選択図】図6
特許請求の範囲
【請求項1】
多層基板と、
前記多層基板内において前記多層基板の厚さ方向に異なる位置に設けられ、前記多層基板の厚さ方向から視た平面視で第1方向に延びる第1配線パターンおよび第2配線パターンと、
前記多層基板内に設けられ、磁気検出素子を含むセンサチップと、
を含み、
前記第1配線パターンと前記第2配線パターンとは電気的に接続されており、
前記磁気検出素子は、前記多層基板の厚さ方向における前記第1配線パターンと前記第2配線パターンとの間に設けられている
半導体装置。
続きを表示(約 2,000 文字)
【請求項2】
前記第1配線パターンは、前記平面視において前記磁気検出素子と重なる位置に設けられた第1検出パターンを含み、
前記第1検出パターンは、前記平面視において前記第1方向と直交する第2方向の端部として第1端部および第2端部を含み、
前記第2配線パターンは、前記平面視において前記磁気検出素子と重なる位置に設けられた第2検出パターンを含み、
前記第2検出パターンは、前記平面視において前記第2方向の端部として第1端部および第2端部を含み、
前記磁気検出素子は、前記第1検出パターンおよび前記第2検出パターンの各々の前記第1端部および前記第2端部よりも前記第2方向の中央部寄りに配置されており、
前記センサチップは、前記第1検出パターンおよび前記第2検出パターンの双方の前記中央部よりも前記第1端部寄りに配置された第1検出素子を含む
請求項1に記載の半導体装置。
【請求項3】
前記センサチップは、前記第1検出パターンおよび前記第2検出パターンの双方の前記中央部よりも前記第2端部寄りに配置された第2検出素子を含む
請求項2に記載の半導体装置。
【請求項4】
前記第1検出素子と前記磁気検出素子との前記第2方向の間隔は、前記第2検出素子と前記磁気検出素子との前記第2方向の間隔と等しい
請求項3に記載の半導体装置。
【請求項5】
前記第1検出素子、前記第2検出素子、および前記磁気検出素子は、前記多層基板の厚さ方向において同じ位置に配置されている
請求項3に記載の半導体装置。
【請求項6】
前記第1検出素子、前記第2検出素子、および前記磁気検出素子は、前記多層基板の厚さ方向において前記第1検出パターンと前記第2検出パターンとの間の中央に配置されている
請求項5に記載の半導体装置。
【請求項7】
前記第1配線パターンは、
前記第1方向に延びている第1パターンと、
前記第1パターンに対して前記第1方向に離隔した位置に設けられ、前記第1方向に延びている第2パターンと、
前記第1パターンと前記第2パターンとの間に設けられ、前記第1パターンと前記第2パターンとを接続している前記第1検出パターンと、
を含み、
前記第2配線パターンは、
前記第1方向に延びている第3パターンと、
前記第3パターンに対して前記第1方向に離隔した位置に設けられ、前記第1方向に延びている第4パターンと、
前記第3パターンと前記第4パターンとの間に設けられ、前記第3パターンと前記第4パターンとを接続している前記第2検出パターンと、
を含み、
前記第1パターンは、前記第2方向の長さである第1幅を有し、
前記第2パターンは、前記第2方向の長さである第2幅を有し、
前記第1検出パターンは、前記第2方向の長さである第1接続幅を有し、
前記第1接続幅は、前記第1幅および前記第2幅よりも狭く、
前記第3パターンは、前記第2方向の長さである第3幅を有し、
前記第4パターンは、前記第2方向の長さである第4幅を有し、
前記第2検出パターンは、前記第2方向の長さである第2接続幅を有し、
前記第2接続幅は、前記第3幅および前記第4幅よりも狭く、
前記センサチップは、前記多層基板の厚さ方向において前記第1検出パターンと前記第2検出パターンとの間に配置されている
請求項2に記載の半導体装置。
【請求項8】
前記第1配線パターンは、前記第2配線パターンと同一形状である
請求項7に記載の半導体装置。
【請求項9】
前記第1検出パターンの前記第1方向の長さは、前記第1パターンの前記第1方向の長さおよび前記第2パターンの前記第1方向の長さよりも短く、
前記第2検出パターンの前記第1方向の長さは、前記第3パターンの前記第1方向の長さおよび前記第4パターンの前記第1方向の長さよりも短い
請求項7に記載の半導体装置。
【請求項10】
前記第1パターンは、
前記第1幅を有する第1部分と、
前記第1パターンの前記第1部分から前記第1検出パターンに向けて幅狭となる第2部分と、
を含み、
前記第3パターンは、
前記第3幅を有する第1部分と、
前記第3パターンの前記第1部分から前記第2検出パターンに向けて幅狭となる第2部分と、
を含む
請求項7に記載の半導体装置。
(【請求項11】以降は省略されています)
発明の詳細な説明
【技術分野】
【0001】
本開示は、半導体装置に関する。
続きを表示(約 2,400 文字)
【背景技術】
【0002】
特許文献1には、第1磁界検出部および第2磁界検出部を含み、プリント基板の配線に流れる電流によって生じる磁界を検出する磁界センサが開示されている。配線は、往路部、往路部とは逆向きの電流が流れる復路部、および往路部と復路部とを連結する連結部を含む。そして、磁界センサは、第1磁界検出部が往路部の磁界を検出し、第2磁界検出部が復路部の磁界を検出するように配置されている。
【先行技術文献】
【特許文献】
【0003】
特開2021-85711号公報
【0004】
[概要]
配線の電流検出において外部磁界の影響を低減することが求められる。
【0005】
本開示の一態様の半導体装置は、多層基板と、前記多層基板内において前記多層基板の厚さ方向に異なる位置に設けられ、前記多層基板の厚さ方向から視た平面視で第1方向に延びる第1配線パターンおよび第2配線パターンと、前記多層基板内に設けられ、磁気検出素子を含むセンサチップと、を含み、前記第1配線パターンと前記第2配線パターンとは電気的に接続されており、前記磁気検出素子は、前記多層基板の厚さ方向における前記第1配線パターンと前記第2配線パターンとの間に設けられている。
【図面の簡単な説明】
【0006】
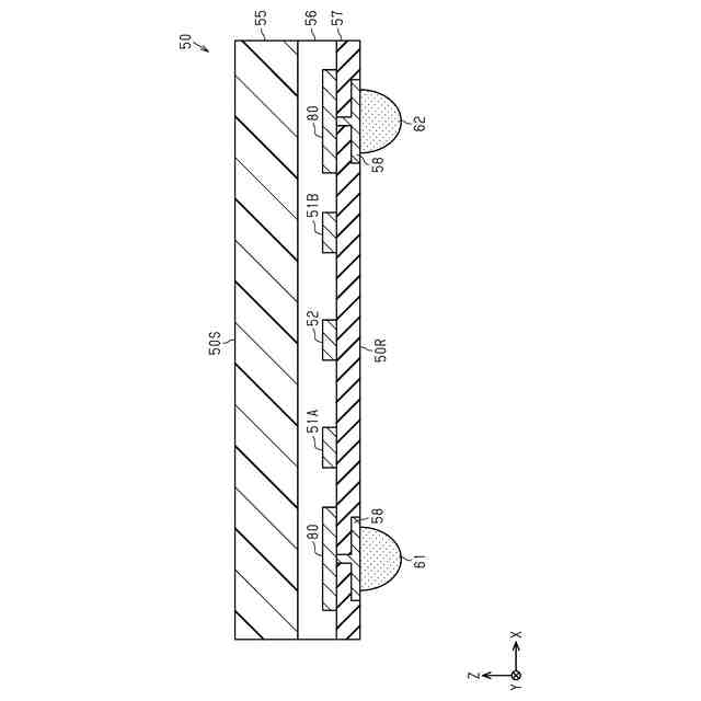
図1は、第1実施形態に係る例示的な半導体装置の概略斜視図である。
図2は、図1の半導体装置の基板の概略側面図である。
図3は、図1の半導体装置の基板について、図2とは異なる方向から視た概略側面図である。
図4は、図1の基板に設けられた第1配線パターンの概略平面図である。
図5は、図1の基板に設けられた第2配線パターンの概略平面図である。
図6は、図1の第1配線パターンにおけるセンサチップおよびその周辺を拡大した概略平面図である。
図7は、図1の第2配線パターンにおけるセンサチップおよびその周辺を拡大した概略平面図である。
図8は、図6のF8-F8線で半導体装置を切断した概略断面図である。
図9は、センサチップの概略断面図である。
図10は、第1実施形態の半導体装置の概略回路図である。
図11は、第1実施形態の半導体装置を適用したインバータ装置の回路構成を示す概略回路図である。
図12は、図11のインバータ装置のうち半導体装置およびその周辺を拡大した概略平面図である。
図13は、第1配線パターンおよび第2配線パターンに電流を供給した場合の磁界の強度分布を説明するための図である。
図14は、第2実施形態に係る例示的な半導体装置について、第2配線パターンにおけるセンサチップおよびその周辺を拡大した概略平面図である。
図15は、第3実施形態に係る例示的な半導体装置について、第2配線パターンにおけるセンサチップおよびその周辺を拡大した概略平面図である。
図16は、図15のF16-F16線でセンサチップを切断した概略断面図である。
図17は、変更例の半導体装置における第2配線パターンの概略平面図である。
図18は、変更例の半導体装置における第2配線パターンの概略平面図である。
図19は、変更例の半導体装置について、第2配線パターンにおけるセンサチップおよびその周辺を拡大した概略平面図である。
図20は、変更例の半導体装置について、第2配線パターンにおけるセンサチップおよびその周辺を拡大した概略平面図である。
図21は、変更例の半導体装置の概略平面図である。
図22は、図21の半導体装置における第2配線パターンおよびその周辺の概略平面図である。
図23は、変更例の半導体装置の概略平面図である。
図24は、図23の半導体装置における第2配線パターンおよびその周辺の概略平面図である。
図25は、変更例の半導体装置について、センサチップの概略平面図である。
図26は、図25のF26-F26線でセンサチップを切断した概略断面図である。
【0007】
[詳細な説明]
以下、添付図面を参照して本開示における半導体装置のいくつかの実施形態について説明する。なお、説明を簡単かつ明確にするため、図面に示される構成要素は、必ずしも一定の縮尺で描かれていない。また、理解を容易にするため、断面図ではハッチング線が省略されている場合がある。添付の図面は、本開示の実施形態を例示するものに過ぎず、本開示を制限するものとみなされるべきではない。
【0008】
以下の詳細な記載は、本開示の例示的な実施形態を具体化する装置、システム、および方法を含む。この詳細な記載は本来説明のためのものに過ぎず、本開示の実施形態またはこのような実施形態の適用および使用を限定することを意図しない。
【0009】
本開示において使用される「少なくとも1つ」という表現は、所望の選択肢の「1つ以上」を意味する。一例として、本開示において使用される「少なくとも1つ」という表現は、選択肢の数が2つであれば「1つの選択肢のみ」または「2つの選択肢の双方」を意味する。他の例として、本開示において使用される「少なくとも1つ」という表現は、選択肢の数が3つ以上であれば「1つの選択肢のみ」または「2つ以上の任意の選択肢の組み合わせ」を意味する。
【0010】
本開示において使用される「Aの寸法(幅、長さ)がBの寸法(幅、長さ)と等しい」または「Aの寸法(幅、長さ)とBの寸法(幅、長さ)とが互いに等しい」とは、Aの寸法(幅、長さ)とBの寸法(幅、長さ)との差が例えばAの寸法(幅、長さ)の10%以内の関係も含む。
(【0011】以降は省略されています)
この特許をJ-PlatPat(特許庁公式サイト)で参照する
関連特許
ローム株式会社
半導体装置
11日前
ローム株式会社
半導体装置
11日前
ローム株式会社
半導体装置
11日前
ローム株式会社
半導体装置
4日前
ローム株式会社
半導体集積回路
12日前
ローム株式会社
定電圧生成回路
11日前
ローム株式会社
定電圧生成回路
11日前
ローム株式会社
半導体集積回路
11日前
ローム株式会社
比較回路、半導体装置
11日前
ローム株式会社
サーマルプリントヘッド
11日前
ローム株式会社
電源制御装置及び電源装置
4日前
ローム株式会社
監視回路及びレジスタ制御装置
11日前
ローム株式会社
電源制御装置、スイッチング電源
4日前
ローム株式会社
昇圧型スイッチングレギュレータ
13日前
ローム株式会社
モータドライバ回路および駆動方法
12日前
ローム株式会社
電圧調整装置及び電荷蓄積システム
13日前
ローム株式会社
整流回路およびAC/DCコンバータ
今日
ローム株式会社
整流回路およびAC/DCコンバータ
今日
ローム株式会社
整流回路およびAC/DCコンバータ
今日
ローム株式会社
イグナイタおよび内燃機関点火システム
今日
ローム株式会社
半導体装置および半導体装置の製造方法
12日前
ローム株式会社
サーマルプリントヘッド及びその製造方法
11日前
ローム株式会社
検出回路、信号伝達装置、電子機器、車両
11日前
ローム株式会社
半導体装置、および半導体装置の製造方法
11日前
ローム株式会社
ドライバ、信号伝達装置、電子機器、車両
4日前
ローム株式会社
コントローラ、ターゲット、及び通信システム
11日前
ローム株式会社
窒化物半導体装置および窒化物半導体装置の製造方法
11日前
ローム株式会社
半導体装置
4日前
ローム株式会社
半導体装置
11日前
ローム株式会社
半導体装置
4日前
ローム株式会社
双方向DC/DCコンバータ、電源遮断保護回路および半導体装置
5日前
ローム株式会社
トランスデューサ、共振器、発振器及びトランスデューサの製造方法
4日前
ローム株式会社
オーディオ回路、それを用いた電子機器および車載オーディオシステム
12日前
ローム株式会社
スイッチング装置、絶縁型DC/DCコンバータ及びAC/DCコンバータ
13日前
ローム株式会社
半導体装置および半導体モジュール
13日前
ローム株式会社
トランスデューサ、及びその駆動方法、並びにシステム
11日前
続きを見る
他の特許を見る