TOP
|
特許
|
意匠
|
商標
特許ウォッチ
Twitter
他の特許を見る
10個以上の画像は省略されています。
公開番号
2025160662
公報種別
公開特許公報(A)
公開日
2025-10-23
出願番号
2024063349
出願日
2024-04-10
発明の名称
半導体装置
出願人
ローム株式会社
代理人
個人
主分類
H01L
23/12 20060101AFI20251016BHJP(基本的電気素子)
要約
【課題】再配線に対する保護膜の剥離を抑制することが可能な半導体装置を提供する。
【解決手段】半導体装置A10は、半導体層112を含む本体11と、本体11の厚さ方向zについて本体11の一方に位置し、且つ半導体層112に導通する電極12と、厚さ方向zについて電極12を基準に本体11と反対側に位置し、且つ電極12に導通する再配線20と、厚さ方向zについて電極12を基準に再配線20と同じ側に位置し、且つ厚さ方向zに見て再配線20に重なる第1保護膜3と、厚さ方向zについて本体11と第1保護膜3との間に位置する第2保護膜4と、を備える。再配線20は、厚さ方向zについて第1保護膜3に対向する対向面201を有する。対向面201は、厚さ方向zに窪む少なくとも1つの凹部203を有する。第1保護膜3は、少なくとも1つの凹部203の各々に入り込んでいる。
【選択図】図6
特許請求の範囲
【請求項1】
半導体層を含む本体と、
前記本体の厚さ方向について前記本体の一方に位置し、且つ前記半導体層に導通する電極と、
前記厚さ方向について前記電極を基準に前記本体と反対側に位置し、且つ前記電極に導通する再配線と、
前記厚さ方向について前記電極を基準に前記再配線と同じ側に位置し、且つ前記厚さ方向に見て前記再配線に重なる第1保護膜と、
前記厚さ方向について前記本体と前記第1保護膜との間に位置する第2保護膜と、
を備え、
前記再配線は、前記厚さ方向について前記第1保護膜に対向する対向面を有し、
前記対向面は、前記厚さ方向に窪む前記少なくとも1つの凹部を有し、
前記第1保護膜は、前記少なくとも1つの凹部の各々に入り込んでいる、半導体装置。
続きを表示(約 910 文字)
【請求項2】
前記第2保護膜は、前記再配線に覆われた被覆部を有し、
前記被覆部には、前記再配線に接する面に凹凸が形成されている、請求項1に記載の半導体装置。
【請求項3】
前記被覆部は、前記厚さ方向に見て前記少なくとも1つの凹部に重なる開口を有し、
前記再配線は、前記開口に嵌入される第1部と、前記被覆部上に積層される第2部とを含み、
前記第1部と前記第2部とは、互いに繋がる、請求項2に記載の半導体装置。
【請求項4】
前記開口の開口長は、前記再配線の前記厚さ方向の寸法の2倍よりも大きく且つ前記第2保護膜の前記厚さ方向の寸法の半分と前記再配線の前記厚さ方向の寸法の2倍との和よりも小さい、請求項3に記載の半導体装置。
【請求項5】
前記再配線に電気的に接続された端子をさらに備え、
前記端子は、前記厚さ方向について前記再配線を基準として前記電極とは反対側に位置し、且つ前記第1保護膜から露出する、請求項1ないし請求項4のいずれかに記載の半導体装置。
【請求項6】
前記端子は、前記再配線に接する金属層と、前記金属層上に形成された接合層と、を含む、請求項5に記載の半導体装置。
【請求項7】
前記再配線は、前記金属層と同じ材料を含む、請求項6に記載の半導体装置。
【請求項8】
前記再配線は、前記端子に接する端子接続面を有し、
前記少なくとも1つの凹部の各々は、底面を有し、
前記少なくとも1つの凹部の各々において、前記底面は、前記厚さ方向について、前記端子接続面よりも前記本体寄りに位置する、請求項5に記載の半導体装置。
【請求項9】
前記少なくとも1つの凹部の各々において、当該凹部の前記厚さ方向の寸法は、当該凹部の底面距離の2倍以上である、請求項8に記載の半導体装置。
【請求項10】
前記少なくとも1つの凹部は、複数の凹部を含む、請求項1ないし請求項4のいずれかに記載の半導体装置。
(【請求項11】以降は省略されています)
発明の詳細な説明
【技術分野】
【0001】
本開示は、半導体装置に関する。
続きを表示(約 3,200 文字)
【背景技術】
【0002】
特許文献1には、WL-CSP(ウエハレベル・チップサイズパッケージ)型の半導体装置の一例が開示されている。特許文献1に記載の半導体装置は、半導体チップと、この半導体チップの表面(機能素子が形成されている側の面)を被覆するパッシベーション膜(表面保護膜)と、このパッシベーション膜上に積層された応力緩和層と、この応力緩和層上に形成された再配線と、この再配線上に積層された封止樹脂層と、この封止樹脂層上に配置された金属ボールとを備えている。封止樹脂層は、再配線を覆う保護膜であり、半導体装置の表層に位置する。
【先行技術文献】
【特許文献】
【0003】
特開2011-91453号公報
【0004】
[概要]
従来の半導体装置において、空気中の水分(湿気)が表層の保護膜を浸透すると、再配線を酸化させることがある。このような再配線の酸化によって、再配線の表面に酸化膜が形成され、再配線と保護膜との接着性が低下しうる。この結果、再配線に対する保護膜の剥離が生じうる。
【0005】
本開示は、上記事情に鑑みて考え出されたものであり、その目的は、再配線に対する保護膜の剥離を抑制することが可能な半導体装置を提供することにある。
【0006】
本開示によって提供される半導体装置は、半導体層を含む本体と、前記本体の厚さ方向について前記本体の一方に位置し、且つ前記半導体層に導通する電極と、前記厚さ方向について前記電極を基準に前記本体と反対側に位置し、且つ前記電極に導通する再配線と、前記厚さ方向について前記電極を基準に前記再配線と同じ側に位置し、且つ前記厚さ方向に見て前記再配線に重なる第1保護膜と、前記厚さ方向について前記本体と前記第1保護膜との間に位置する第2保護膜と、を備え、前記再配線は、前記厚さ方向について前記第1保護膜に対向する対向面を有し、前記対向面は、前記厚さ方向に窪む前記少なくとも1つの凹部を有し、前記第1保護膜は、前記少なくとも1つの凹部の各々に入り込んでいる。
【0007】
本開示のその他の特徴および利点は、添付図面に基づき以下に行う詳細な説明によって、より明らかとなろう。
【図面の簡単な説明】
【0008】
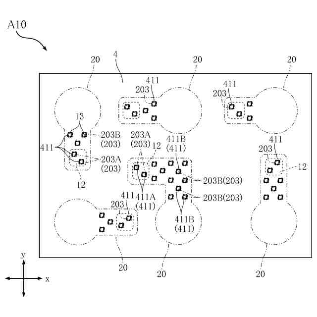
図1は、第1実施形態にかかる半導体装置を示す平面図である。
図2は、図1の平面図において、複数の端子を省略した図である。
図3は、図2の平面図において、第1保護膜を省略した図である。
図4は、図3の平面図において、複数の再配線を想像線で示した図である。
図5は、図1のV-V線に沿う断面図である。
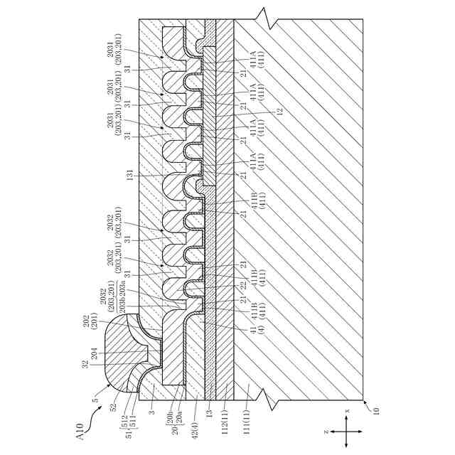
図6は、第1実施形態にかかる半導体装置を示す要部拡大断面図である。
図7は、図6の一部を拡大した部分拡大図である。
図8は、第1実施形態にかかる半導体装置の製造方法の一工程を示す要部拡大断面図である。
図9は、第1実施形態にかかる半導体装置の製造方法の一工程を示す要部拡大断面図である。
図10は、第1実施形態にかかる半導体装置の製造方法の一工程を示す要部拡大断面図である。
図11は、第1実施形態にかかる半導体装置の製造方法の一工程を示す要部拡大断面図である。
図12は、第1実施形態にかかる半導体装置の製造方法の一工程を示す要部拡大断面図である。
図13は、第1実施形態にかかる半導体装置の製造方法の一工程を示す要部拡大断面図である。
図14は、第1実施形態にかかる半導体装置の製造方法の一工程を示す要部拡大断面図である。
図15は、第1実施形態にかかる半導体装置の製造方法の一工程を示す要部拡大断面図である。
図16は、第1実施形態にかかる半導体装置の製造方法の一工程を示す要部拡大断面図である。
図17は、第1実施形態にかかる半導体装置の使用状態を示す断面図であって、図5の断面に対応する。
図18は、第1実施形態の変形例にかかる半導体装置を示す要部拡大断面図である。
図19は、第2実施形態にかかる半導体装置を示す要部拡大断面図である。
図20は、第2実施形態の第1変形例にかかる半導体装置を示す要部拡大断面図である。
図21は、第2実施形態の第2変形例にかかる半導体装置を示す要部拡大断面図である。
図22は、第2実施形態の第3変形例にかかる半導体装置を示す要部拡大断面図である。
図23は、第3実施形態にかかる半導体装置を示す要部拡大断面図である。
図24は、第3実施形態の変形例にかかる半導体装置を示す要部拡大断面図である。
図25は、本開示の半導体装置の他の構成例を示す要部拡大断面図である。
図26は、再配線の凹部および第2保護膜の開口の構成例を示す平面図である。
図27は、再配線の凹部および第2保護膜の開口の他の構成例を示す平面図である。
図28は、再配線の凹部および第2保護膜の開口の他の構成例を示す平面図である。
図29は、再配線の凹部および第2保護膜の開口の他の構成例を示す平面図である。
図30は、再配線の凹部および第2保護膜の開口の他の構成例を示す平面図である。
【0009】
[詳細な説明]
本開示の半導体装置の好ましい実施の形態について、図面を参照して、以下に説明する。以下では、同一あるいは類似の構成要素に、同じ符号を付して、重複する説明を省略する。本開示における「第1」、「第2」、「第3」等の用語は、単にラベルとして用いたものであり、必ずしもそれらの対象物に順列を付することを意図していない。
【0010】
本開示において、「ある物Aがある物Bに形成されている」および「ある物Aがある物B(の)上に形成されている」とは、特段の断りのない限り、「ある物Aがある物Bに直接形成されていること」、および、「ある物Aとある物Bとの間に他の物を介在させつつ、ある物Aがある物Bに形成されていること」を含む。同様に、「ある物Aがある物Bに配置されている」および「ある物Aがある物B(の)上に配置されている」とは、特段の断りのない限り、「ある物Aがある物Bに直接配置されていること」、および、「ある物Aとある物Bとの間に他の物を介在させつつ、ある物Aがある物Bに配置されていること」を含む。同様に、「ある物Aがある物B(の)上に位置している」とは、特段の断りのない限り、「ある物Aがある物Bに接して、ある物Aがある物B(の)上に位置していること」、および、「ある物Aとある物Bとの間に他の物が介在しつつ、ある物Aがある物B(の)上に位置していること」を含む。また、「ある方向に見てある物Aがある物Bに重なる」とは、特段の断りのない限り、「ある物Aがある物Bのすべてに重なること」、および、「ある物Aがある物Bの一部に重なること」を含む。また、「ある物A(の材料)がある材料Cを含む」とは、「ある物A(の材料)がある材料Cからなる場合」、および、「ある物A(の材料)の主成分がある材料Cである場合」を含む。また、「ある面Aがある方向B(の一方側または他方側)を向く」とは、特段の断りのない限り、面Aの方向Bに対する角度が90°である場合に限定されず、面Aが方向Bに対して傾いている場合を含む。また、「ある面Aがある面Bに直交する」とは、特段の断りのない限り、面Aの面Bに対する角度が90°である場合に限定されず、面Aが面Bに対して傾いている場合を含む。
(【0011】以降は省略されています)
この特許をJ-PlatPat(特許庁公式サイト)で参照する
関連特許
ローム株式会社
半導体装置
16日前
ローム株式会社
半導体装置
8日前
ローム株式会社
半導体装置
8日前
ローム株式会社
半導体装置
8日前
ローム株式会社
半導体装置
1日前
ローム株式会社
半導体集積回路
8日前
ローム株式会社
定電圧生成回路
8日前
ローム株式会社
定電圧生成回路
8日前
ローム株式会社
半導体集積回路
9日前
ローム株式会社
比較回路、半導体装置
8日前
ローム株式会社
逐次比較型AD変換回路
16日前
ローム株式会社
サーマルプリントヘッド
8日前
ローム株式会社
電源制御装置及び電源装置
1日前
ローム株式会社
半導体装置およびシステム
16日前
ローム株式会社
監視回路及びレジスタ制御装置
8日前
ローム株式会社
電源制御装置、スイッチング電源
1日前
ローム株式会社
昇圧型スイッチングレギュレータ
10日前
ローム株式会社
電圧調整装置及び電荷蓄積システム
10日前
ローム株式会社
モータドライバ回路および駆動方法
9日前
ローム株式会社
半導体装置および半導体装置の製造方法
9日前
ローム株式会社
半導体装置、および半導体装置の製造方法
8日前
ローム株式会社
サーマルプリントヘッド及びその製造方法
8日前
ローム株式会社
検出回路、信号伝達装置、電子機器、車両
8日前
ローム株式会社
ドライバ、信号伝達装置、電子機器、車両
1日前
ローム株式会社
コントローラ、ターゲット、及び通信システム
8日前
ローム株式会社
雨検出装置、雨検出システム、および、雨検出方法
10日前
ローム株式会社
窒化物半導体装置および窒化物半導体装置の製造方法
8日前
ローム株式会社
信号伝達装置、電子機器、車両、絶縁ゲートドライバIC
16日前
ローム株式会社
半導体装置
1日前
ローム株式会社
半導体装置
8日前
ローム株式会社
半導体装置
1日前
ローム株式会社
制御装置、力率改善回路、電子機器、およびオフセット設定方法
16日前
ローム株式会社
双方向DC/DCコンバータ、電源遮断保護回路および半導体装置
2日前
ローム株式会社
トランスデューサ、共振器、発振器及びトランスデューサの製造方法
1日前
ローム株式会社
オーディオ回路、それを用いた電子機器および車載オーディオシステム
9日前
ローム株式会社
スイッチング装置、絶縁型DC/DCコンバータ及びAC/DCコンバータ
10日前
続きを見る
他の特許を見る