TOP
|
特許
|
意匠
|
商標
特許ウォッチ
Twitter
他の特許を見る
10個以上の画像は省略されています。
公開番号
2025174145
公報種別
公開特許公報(A)
公開日
2025-11-28
出願番号
2024080248
出願日
2024-05-16
発明の名称
窒化物半導体装置および窒化物半導体装置の製造方法
出願人
ローム株式会社
代理人
個人
,
個人
主分類
H10D
30/47 20250101AFI20251120BHJP()
要約
【課題】オン抵抗のステップ厚依存性を小さくしたステップ構造のゲート層を含む窒化物半導体装置を提供すること。
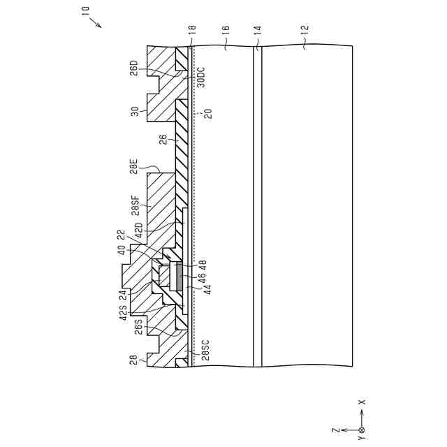
【解決手段】窒化物半導体装置10は、電子走行層16、電子供給層18、ゲート層22、ゲート電極24、ソース電極28、およびドレイン電極30を含む。ゲート層22は、本体部40、ソース側延在部42S、およびドレイン側延在部42Dを含む。本体部40は、アンドープのまたは第1アクセプタ濃度のアクセプタ型不純物を含む下部層44と、第1アクセプタ濃度よりも高い第2アクセプタ濃度のアクセプタ型不純物を含む中間層46と、ゲート電極24が位置し、アンドープのまたは第2アクセプタ濃度よりも低い第3アクセプタ濃度のアクセプタ型不純物を含む上部層48とを含む。ソース側延在部42Sおよびドレイン側延在部42Dは、アンドープであるかまたは第2アクセプタ濃度よりも低い第4アクセプタ濃度のアクセプタ型不純物を含む。
【選択図】図2
特許請求の範囲
【請求項1】
電子走行層と、
前記電子走行層上に位置し、前記電子走行層よりも大きなバンドギャップを有する電子供給層と、
前記電子供給層上に位置し、アクセプタ型不純物を含むゲート層と、
前記ゲート層上に位置するゲート電極と、
前記電子供給層に接するソースコンタクト部を含むソース電極と、
前記電子供給層に接するドレインコンタクト部を含むドレイン電極と、を備え、
前記ゲート層は、
本体部と、
前記本体部からソースコンタクト部に向かって延在するソース側延在部と、
前記本体部からドレインコンタクト部に向かって延在するドレイン側延在部と、を含み、
前記本体部は、
アンドープのまたは第1アクセプタ濃度で前記アクセプタ型不純物を含む下部層と、
前記第1アクセプタ濃度よりも高い第2アクセプタ濃度で前記アクセプタ型不純物を含む中間層と、
前記ゲート電極が位置し、アンドープのまたは前記第2アクセプタ濃度よりも低い第3アクセプタ濃度で前記アクセプタ型不純物を含む上部層と、を含み、
前記ソース側延在部および前記ドレイン側延在部は、アンドープであるかまたは前記第2アクセプタ濃度よりも低い第4アクセプタ濃度で前記アクセプタ型不純物を含む、窒化物半導体装置。
続きを表示(約 1,200 文字)
【請求項2】
前記ソース側延在部、前記ドレイン側延在部、および前記下部層がアンドープ層である、請求項1に記載の窒化物半導体装置。
【請求項3】
前記上部層がアンドープ層である、請求項1に記載の窒化物半導体装置。
【請求項4】
前記第1アクセプタ濃度、前記第2アクセプタ濃度、および前記第3アクセプタ濃度はそれぞれ、前記本体部の厚さ方向における前記下部層、前記中間層、および前記上部層の中間位置かもしくはそれよりも下方で測定された濃度であり、
前記第4アクセプタ濃度は、前記厚さ方向における前記ソース側延在部および前記ドレイン側延在部の中間位置かもしくはそれよりも下方で測定された濃度である、請求項1に記載の窒化物半導体装置。
【請求項5】
前記第1アクセプタ濃度、前記第2アクセプタ濃度、および前記第3アクセプタ濃度はそれぞれ、前記下部層、前記中間層、および前記上部層の底部で測定された濃度であり、
前記第4アクセプタ濃度は、前記ソース側延在部および前記ドレイン側延在部の底部で測定された濃度である、請求項4に記載の窒化物半導体装置。
【請求項6】
前記第1アクセプタ濃度、前記第2アクセプタ濃度、および前記第3アクセプタ濃度はそれぞれ、前記下部層の平均アクセプタ濃度、前記中間層の平均アクセプタ濃度、および前記上部層の平均アクセプタ濃度であり、
前記第4アクセプタ濃度は、前記ソース側延在部および前記ドレイン側延在部の各々の平均アクセプタ濃度である、請求項1に記載の窒化物半導体装置。
【請求項7】
前記本体部は、前記下部層と前記中間層との間に位置し、ゼロまたは前記第1アクセプタ濃度から前記第2アクセプタ濃度に向かってアクセプタ濃度が増加する下部中間層を含む、請求項1に記載の窒化物半導体装置。
【請求項8】
前記本体部は、前記中間層と前記上部層との間に位置し、前記第2アクセプタ濃度からゼロまたは前記第3アクセプタ濃度に向かってアクセプタ濃度が減少する上部中間層を含む、請求項1に記載の窒化物半導体装置。
【請求項9】
前記本体部は、
前記下部層と前記中間層との間に位置し、ゼロまたは前記第1アクセプタ濃度から前記第2アクセプタ濃度に向かってアクセプタ濃度が増加する下部中間層と、
前記中間層と前記上部層との間に位置し、前記第2アクセプタ濃度からゼロまたは前記第3アクセプタ濃度に向かってアクセプタ濃度が減少する上部中間層と、を含み、
前記上部中間層は、前記下部中間層とは異なる厚さを有する、請求項1に記載の窒化物半導体装置。
【請求項10】
前記第2アクセプタ濃度が2.0×10
17
cm
-3
以上である、請求項1に記載の窒化物半導体装置。
(【請求項11】以降は省略されています)
発明の詳細な説明
【技術分野】
【0001】
本開示は、窒化物半導体装置および窒化物半導体装置の製造方法に関する。
続きを表示(約 2,600 文字)
【背景技術】
【0002】
現在、窒化ガリウム(GaN)等のIII族窒化物半導体(以下、単に「窒化物半導体」と言う場合がある)を用いた高電子移動度トランジスタ(High Electron Mobility Transistor:HEMT)の製品化が進んでいる。HEMTは、半導体ヘテロ接合の界面付近に形成された二次元電子ガス(2-Dimensional Electron Gas:2DEG)を導電経路(チャネル)として使用する(例えば、特許文献1参照)。HEMTを利用したパワーデバイスは、典型的なシリコン(Si)パワーデバイスと比較して、低オン抵抗および高速・高周波動作可能なデバイスとして認知されている。近年、例えばゲート耐圧向上の観点から、HEMTのゲート層にステップ構造を採用することが提案されている。
【先行技術文献】
【特許文献】
【0003】
特開2017-73506号公報
【0004】
[概要]
ステップ構造を有するゲート層では、ゲート層の横方向に延びる延在部(ステップ)の厚さに依存してオン抵抗が大きく増加し得る。したがって、オン抵抗のステップ厚依存性を小さくしたステップ構造を実現する上で未だ改善の余地がある。
【0005】
本開示の一態様による窒化物半導体装置は、電子走行層、電子供給層、ゲート層、ゲート電極、ソース電極、およびドレイン電極を備える。前記電子供給層は、前記電子走行層上に位置しており、前記電子走行層よりも大きなバンドギャップを有する。前記ゲート層は、前記電子供給層上に位置しており、アクセプタ型不純物を含む。前記ゲート電極は、前記ゲート層上に位置している。前記ソース電極は、前記電子供給層に接するソースコンタクト部を含む。前記ドレイン電極は、前記電子供給層に接するドレインコンタクト部を含む。前記ゲート層は、本体部と、前記本体部からソースコンタクト部に向かって延在するソース側延在部と、前記本体部からドレインコンタクト部に向かって延在するドレイン側延在部とを含む。前記本体部は、アンドープであるかまたは第1アクセプタ濃度で前記アクセプタ型不純物を含む下部層と、前記第1アクセプタ濃度よりも高い第2アクセプタ濃度で前記アクセプタ型不純物を含む中間層と、前記ゲート電極が位置し、アンドープであるかまたは前記第2アクセプタ濃度よりも低い第3アクセプタ濃度で前記アクセプタ型不純物を含む上部層とを含む。前記ソース側延在部および前記ドレイン側延在部は、アンドープであるかまたは前記第2アクセプタ濃度よりも低い第4アクセプタ濃度で前記アクセプタ型不純物を含む。
【図面の簡単な説明】
【0006】
図1は、一実施形態に係る例示的な窒化物半導体装置の概略平面図である。
図2は、図1のF2-F2線に沿った窒化物半導体装置の概略断面図である。
図3は、図2のゲート層の拡大図である。
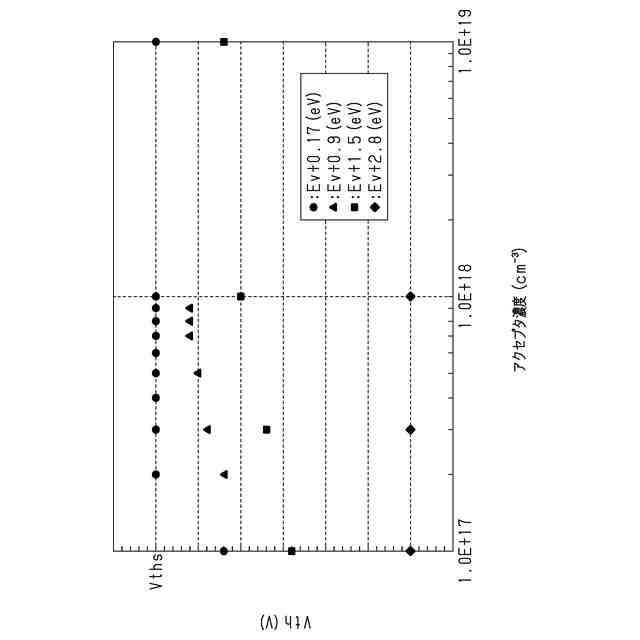
図4は、ゲート層のステップ構造におけるアクセプタ濃度とオン抵抗(シート抵抗)との関係を示す図である。
図5は、ゲート層におけるアクセプタ濃度とゲート閾値電圧との関係を示す図である。
図6は、ゲート電極(底面)からの距離に対するバンドエネルギーの変化を示す図である。
図7は、ゲート電極(底面)からの距離に対するアクセプタ濃度の変化およびバンドエネルギーの変化を示す図である。
図8は、図2に示す窒化物半導体装置の例示的な製造工程を示す概略断面図である。
図9は、図8の工程に続く製造工程を示す概略断面図である。
図10は、図9の工程に続く製造工程を示す概略断面図である。
図11は、図10の工程に続く製造工程を示す概略断面図である。
図12は、図11の工程に続く製造工程を示す概略断面図である。
図13は、図12の工程に続く製造工程を示す概略断面図である。
図14は、図13の工程に続く製造工程を示す概略断面図である。
図15は、図14の工程に続く製造工程を示す概略断面図である。
図16は、図15の工程に続く製造工程を示す概略断面図である。
図17は、図16の工程に続く製造工程を示す概略断面図である。
図18は、図17の工程に続く製造工程を示す概略断面図である。
【0007】
[詳細な説明]
以下、添付図面を参照して、本開示における窒化物半導体装置のいくつかの実施形態を説明する。なお、説明を簡単かつ明確にするために、図面に示される構成要素は必ずしも一定の縮尺で描かれていない。また、理解を容易にするために、断面図では、ハッチング線が省略されている場合がある。添付の図面は、本開示の実施形態を例示するに過ぎず、本開示を制限するものとみなされるべきではない。
【0008】
本開示で使用される「第1」、「第2」、「第3」等の用語は、単に対象物を明確に区別するために用いられており、対象物を順位づけするものではない。例えば、特許請求の範囲において「第1」要素に言及することなく「第2」要素に言及する場合や、または「第1」要素の「第1」サブ要素に言及することなく「第2」要素の「第2」サブ要素に言及する場合があり得る。
【0009】
本開示で使用される「少なくとも1つ」という表現は、所望の複数の選択肢のうちの1つ以上を意味する。一例として、選択肢の数が2つであれば、「少なくとも1つ」の表現は、1つの選択肢のみまたは2つの選択肢の双方を意味する。他の例として、選択肢の数が3つ以上であれば、「少なくとも1つ」の表現は、1つの選択肢のみまたは2つ以上の任意の選択肢の組み合わせを意味する。
【0010】
以下の詳細な記載は、本開示の例示的な実施形態を具体化する装置、システム、および方法を含む。この詳細な記載は本来説明のためのものに過ぎず、本開示の実施形態またはこのような実施形態の適用および使用を限定することを意図していない。
(【0011】以降は省略されています)
この特許をJ-PlatPat(特許庁公式サイト)で参照する
関連特許
ローム株式会社
半導体装置
1か月前
ローム株式会社
半導体装置
今日
ローム株式会社
半導体装置
今日
ローム株式会社
半導体装置
21日前
ローム株式会社
半導体装置
21日前
ローム株式会社
半導体装置
21日前
ローム株式会社
半導体装置
16日前
ローム株式会社
半導体装置
8日前
ローム株式会社
半導体装置
今日
ローム株式会社
半導体装置
16日前
ローム株式会社
信号伝達装置
16日前
ローム株式会社
電源制御装置
16日前
ローム株式会社
定電圧生成回路
今日
ローム株式会社
定電圧生成回路
今日
ローム株式会社
半導体集積回路
今日
ローム株式会社
半導体集積回路
1か月前
ローム株式会社
半導体集積回路
1日前
ローム株式会社
半導体メモリ装置
23日前
ローム株式会社
半導体モジュール
9日前
ローム株式会社
モータドライバ回路
16日前
ローム株式会社
比較回路、半導体装置
今日
ローム株式会社
サーマルプリントヘッド
今日
ローム株式会社
逐次比較型AD変換回路
8日前
ローム株式会社
半導体装置およびシステム
8日前
ローム株式会社
半導体装置、電子機器、車両
1か月前
ローム株式会社
半導体装置、電子機器、車両
1か月前
ローム株式会社
監視回路及びレジスタ制御装置
今日
ローム株式会社
信号受信装置、IC及び電気機器
14日前
ローム株式会社
昇圧型スイッチングレギュレータ
2日前
ローム株式会社
電圧調整装置及び電荷蓄積システム
2日前
ローム株式会社
モータドライバ回路および駆動方法
1日前
ローム株式会社
半導体装置および半導体装置の製造方法
1日前
ローム株式会社
パルス幅変調回路およびモータ駆動装置
1か月前
ローム株式会社
半導体装置および半導体装置の製造方法
21日前
ローム株式会社
電圧電流変換回路および半導体集積回路
1か月前
ローム株式会社
サーマルプリントヘッド及びその製造方法
今日
続きを見る
他の特許を見る