TOP
|
特許
|
意匠
|
商標
特許ウォッチ
Twitter
他の特許を見る
公開番号
2025163477
公報種別
公開特許公報(A)
公開日
2025-10-29
出願番号
2024066765
出願日
2024-04-17
発明の名称
半導体集積回路
出願人
ローム株式会社
代理人
個人
,
個人
主分類
H10D
1/47 20250101AFI20251022BHJP()
要約
【課題】小さなスペースで高抵抗を実現可能な半導体集積回路を提供する。
【解決手段】複数のポリシリコン抵抗402_1~402_nは、第1方向に伸び、第2方向に隣接して形成され、同じ寸法を有する。複数の第1コンタクト用ポリシリコン領域408は、jを自然数とするとき、(2j-1)番目のポリシリコン抵抗402の一端と(2j)番目のポリシリコン抵抗402の一端の両方と接する。複数の第1コンタクト領域404は、複数の第1コンタクト用ポリシリコン領域408とオーバーラップして形成され、配線が引き出されている。複数の第2コンタクト用ポリシリコン領域410は、(2j)番目のポリシリコン抵抗402の他端と(2j+1)番目のポリシリコン抵抗402の他端の両方と接する。複数の第2コンタクト領域406は、複数の第2コンタクト用ポリシリコン領域とオーバーラップして形成され、配線が引き出されている。
【選択図】図5
特許請求の範囲
【請求項1】
抵抗ストリングを備える半導体集積回路であって、
前記抵抗ストリングは、
第1方向に伸び、第2方向に隣接して形成され、同じ寸法を有する複数のポリシリコン抵抗と、
jを自然数とするとき、(2j-1)番目のポリシリコン抵抗の一端と(2j)番目のポリシリコン抵抗の一端の両方と接するように形成された複数の第1コンタクト用ポリシリコン領域と、
前記複数の第1コンタクト用ポリシリコン領域とオーバーラップして形成され、配線が引き出されている複数の第1コンタクト領域と、
(2j)番目のポリシリコン抵抗の他端と(2j+1)番目のポリシリコン抵抗の他端の両方と接するように形成された、複数の第2コンタクト用ポリシリコン領域と、
前記複数の第2コンタクト用ポリシリコン領域とオーバーラップして形成され、配線が引き出されている複数の第2コンタクト領域と、
を含む、半導体集積回路。
続きを表示(約 420 文字)
【請求項2】
前記複数のポリシリコン抵抗のうち、両側に設けられたポリシリコン抵抗は、ダミー抵抗である、請求項1に記載の半導体集積回路。
【請求項3】
抵抗ストリングを備える半導体集積回路であって、
前記抵抗ストリングは、
それぞれがコの字型を有し、同じ寸法を有し、一方向に並べて配置される複数のポリシリコン抵抗と、
jを自然数とするとき、j番目のポリシリコン抵抗の一端と(j+1)番目のポリシリコン抵抗の他端の両方と接するように形成される、複数のコンタクト用ポリシリコン領域と、
前記複数のコンタクト用ポリシリコン領域とオーバーラップして形成され、配線が引き出されている複数のコンタクト領域と、
を含む、半導体集積回路。
【請求項4】
前記複数のポリシリコン抵抗のうち、両側に設けられたポリシリコン抵抗は、ダミー抵抗である、請求項3に記載の半導体集積回路。
発明の詳細な説明
【技術分野】
【0001】
本開示は、半導体集積回路に関する。
続きを表示(約 1,900 文字)
【背景技術】
【0002】
近年の省エネ化の要請の高まりに応じて、半導体集積回路での消費電力の削減が求められている。半導体集積回路において消費電力を削減するためには、電流経路のインピーダンスを高める必要があり、したがって抵抗値の高い抵抗素子が必要となる。
【先行技術文献】
【特許文献】
【0003】
特開2024-13203号公報
【0004】
[概要]
本開示は係る状況においてなされたものであり、そのある態様の目的のひとつは、小さなスペースで高抵抗を実現可能な半導体集積回路の提供にある。
【0005】
本開示のある態様は、抵抗ストリングを備える半導体集積回路に関する。抵抗ストリングは、第1方向に伸び、第2方向に隣接して形成され、同じ寸法を有する複数のポリシリコン抵抗と、jを自然数とするとき、(2j-1)番目のポリシリコン抵抗の一端と(2j)番目のポリシリコン抵抗の一端の両方と接するように形成された複数の第1コンタクト用ポリシリコン領域と、複数の第1コンタクト用ポリシリコン領域とオーバーラップして形成され、配線が引き出されている複数の第1コンタクト領域と、(2j)番目のポリシリコン抵抗の他端と(2j+1)番目のポリシリコン抵抗の他端の両方と接するように形成された、複数の第2コンタクト用ポリシリコン領域と、複数の第2コンタクト用ポリシリコン領域とオーバーラップして形成され、配線が引き出されている複数の第2コンタクト領域と、を含む。
【0006】
本開示の別の態様は、抵抗ストリングを備える半導体集積回路に関する。抵抗ストリングは、それぞれがコの字型を有し、同じ寸法を有し、一方向に並べて配置される複数のポリシリコン抵抗と、jを自然数とするとき、j番目のポリシリコン抵抗の一端と(j+1)番目のポリシリコン抵抗の他端の両方と接するように形成される、複数のコンタクト用ポリシリコン領域と、を含む。
【0007】
なお、以上の構成要素を任意に組み合わせたもの、本開示の構成要素や表現を、方法、装置、システムなどの間で相互に置換したものもまた、本開示の態様として有効である。
【図面の簡単な説明】
【0008】
図1は、実施形態に係る半導体集積回路の等価回路図である。
図2は、比較技術における1個の抵抗素子の構成を示す図である。
図3は、比較技術に係る抵抗ストリングのレイアウト図である。
図4は、図3の抵抗ストリングの一部分を拡大して示す図である。
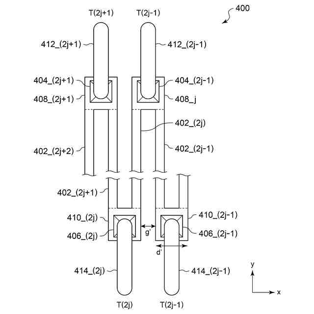
図5は、実施形態に係る抵抗ストリングのレイアウト図である。
図6は、図5の抵抗ストリングの一部の拡大図である。
図7は、変形例1に係る抵抗ストリングのレイアウト図である。
図8は、変形例2に係る抵抗ストリングのレイアウト図である。
【0009】
[詳細な説明]
(実施形態の概要)
本開示のいくつかの例示的な実施形態の概要を説明する。この概要は、後述する詳細な説明の前置きとして、実施形態の基本的な理解を目的として、1つまたは複数の実施形態のいくつかの概念を簡略化して説明するものであり、発明あるいは開示の広さを限定するものではない。またこの概要は、考えられるすべての実施形態の包括的な概要ではなく、実施形態の欠くべからざる構成要素を限定するものではない。便宜上、「一実施形態」は、本明細書に開示するひとつの実施形態(実施例や変形例)または複数の実施形態(実施例や変形例)を指すものとして用いる場合がある。
【0010】
一実施形態に係る半導体集積回路は、抵抗ストリングを備える。抵抗ストリングは、第1方向に伸び、第2方向に隣接して形成され、同じ寸法を有する複数のポリシリコン抵抗と、jを自然数とするとき、(2j-1)番目のポリシリコン抵抗の一端と(2j)番目のポリシリコン抵抗の一端の両方と接するように形成された複数の第1コンタクト用ポリシリコン領域と、複数の第1コンタクト用ポリシリコン領域とオーバーラップして形成され、配線が引き出されている複数の第1コンタクト領域と、(2j)番目のポリシリコン抵抗の他端と(2j+1)番目のポリシリコン抵抗の他端の両方と接するように形成された、複数の第2コンタクト用ポリシリコン領域と、複数の第2コンタクト用ポリシリコン領域とオーバーラップして形成され、配線が引き出されている複数の第2コンタクト領域と、を含む。
(【0011】以降は省略されています)
この特許をJ-PlatPat(特許庁公式サイト)で参照する
関連特許
ローム株式会社
半導体装置
今日
ローム株式会社
半導体装置
5日前
ローム株式会社
半導体装置
12日前
ローム株式会社
半導体装置
12日前
ローム株式会社
半導体装置
12日前
ローム株式会社
半導体集積回路
13日前
ローム株式会社
定電圧生成回路
12日前
ローム株式会社
定電圧生成回路
12日前
ローム株式会社
半導体集積回路
12日前
ローム株式会社
比較回路、半導体装置
12日前
ローム株式会社
逐次比較型AD変換回路
20日前
ローム株式会社
サーマルプリントヘッド
12日前
ローム株式会社
電源制御装置及び電源装置
5日前
ローム株式会社
監視回路及びレジスタ制御装置
12日前
ローム株式会社
昇圧型スイッチングレギュレータ
14日前
ローム株式会社
電源制御装置、スイッチング電源
5日前
ローム株式会社
モータドライバ回路および駆動方法
13日前
ローム株式会社
電圧調整装置及び電荷蓄積システム
14日前
ローム株式会社
整流回路およびAC/DCコンバータ
1日前
ローム株式会社
整流回路およびAC/DCコンバータ
1日前
ローム株式会社
整流回路およびAC/DCコンバータ
1日前
ローム株式会社
半導体装置および半導体装置の製造方法
13日前
ローム株式会社
イグナイタおよび内燃機関点火システム
1日前
ローム株式会社
検出回路、信号伝達装置、電子機器、車両
12日前
ローム株式会社
サーマルプリントヘッド及びその製造方法
12日前
ローム株式会社
ドライバ、信号伝達装置、電子機器、車両
5日前
ローム株式会社
半導体装置、および半導体装置の製造方法
12日前
ローム株式会社
コントローラ、ターゲット、及び通信システム
12日前
ローム株式会社
雨検出装置、雨検出システム、および、雨検出方法
14日前
ローム株式会社
窒化物半導体装置および窒化物半導体装置の製造方法
12日前
ローム株式会社
半導体装置
12日前
ローム株式会社
半導体装置
5日前
ローム株式会社
半導体装置
5日前
ローム株式会社
制御装置、力率改善回路、電子機器、およびオフセット設定方法
20日前
ローム株式会社
双方向DC/DCコンバータ、電源遮断保護回路および半導体装置
6日前
ローム株式会社
トランスデューサ、共振器、発振器及びトランスデューサの製造方法
5日前
続きを見る
他の特許を見る