TOP
|
特許
|
意匠
|
商標
特許ウォッチ
Twitter
他の特許を見る
10個以上の画像は省略されています。
公開番号
2025176524
公報種別
公開特許公報(A)
公開日
2025-12-04
出願番号
2024082739
出願日
2024-05-21
発明の名称
双方向DC/DCコンバータ、電源遮断保護回路および半導体装置
出願人
ローム株式会社
代理人
個人
,
個人
主分類
H02M
3/155 20060101AFI20251127BHJP(電力の発電,変換,配電)
要約
【課題】簡便な設計で適切な制御を実現できる双方向DC/DCコンバータを提供する。
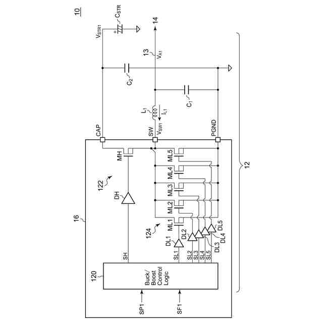
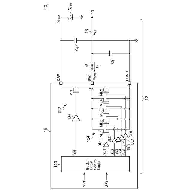
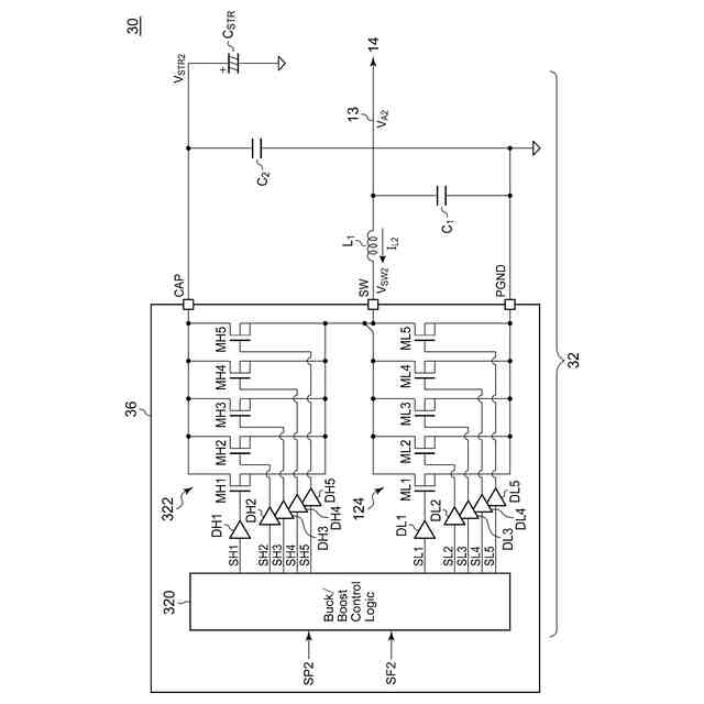
【解決手段】双方向DC/DCコンバータ12,32は、ハイサイドスイッチ部122,322と、ローサイドスイッチ部124と、昇圧モードと降圧モードとで切り替え可能であり、昇圧モードにおいて双方向DC/DCコンバータが昇圧コンバータとして機能し、降圧モードにおいて双方向DC/DCコンバータが降圧コンバータとして機能するように、制御信号を生成してハイサイドスイッチ部およびローサイドスイッチ部の動作を制御するコントローラと、を有する。ハイサイドスイッチ部およびローサイドスイッチ部の少なくとも一方は、並列接続された複数の同型のスイッチング素子ML1~ML5,MH1~MH5を含む。コントローラは、昇圧モードまたは降圧モードにおいて、複数の同型のスイッチング素子を連動して動作させる。
【選択図】図2
特許請求の範囲
【請求項1】
双方向DC/DCコンバータであって、
ハイサイドスイッチ部と、
ローサイドスイッチ部と、
昇圧モードと降圧モードとで切り替え可能であり、前記昇圧モードにおいて前記双方向DC/DCコンバータが昇圧コンバータとして機能し、前記降圧モードにおいて前記双方向DC/DCコンバータが降圧コンバータとして機能するように、制御信号を生成して前記ハイサイドスイッチ部および前記ローサイドスイッチ部の動作を制御するコントローラと、を有し、
前記ハイサイドスイッチ部および前記ローサイドスイッチ部の少なくとも一方は、並列接続された複数の同型のスイッチング素子を含み、
前記コントローラは、前記昇圧モードまたは前記降圧モードにおいて、前記複数の同型のスイッチング素子を連動して動作させる、
双方向DC/DCコンバータ。
続きを表示(約 1,800 文字)
【請求項2】
前記ハイサイドスイッチ部は、MOSトランジスタで構成されたハイサイドトランジスタを含み、
前記ローサイドスイッチ部は、同型のMOSトランジスタでそれぞれ構成され、並列接続された複数のローサイドトランジスタを含み、
前記コントローラは、前記昇圧モードにおいて、充電期間と放電期間とを交互に繰り返すことにより、負荷に接続された入出力ラインの電圧を昇圧してバックアップキャパシタを充電し、前記降圧モードにおいて、前記バックアップキャパシタの充電電圧を降圧して、降圧した電圧を前記入出力ラインに供給するように、前記ハイサイドスイッチ部および前記ローサイドスイッチ部の動作を制御する、
請求項1に記載の双方向DC/DCコンバータ。
【請求項3】
前記コントローラは、前記昇圧モードにおける前記充電期間と前記放電期間との1周期において、前記複数のローサイドトランジスタのうちの1つのローサイドトランジスタを動作させ、前記降圧モードにおいて、前記複数のローサイドトランジスタのすべてを同期して動作させる、
請求項2に記載の双方向DC/DCコンバータ。
【請求項4】
前記コントローラは、前記昇圧モードにおいて、前記充電期間と前記放電期間との1周期毎に、前記複数のローサイドトランジスタのうちの動作するローサイドトランジスタを切り替える、
請求項2に記載の双方向DC/DCコンバータ。
【請求項5】
前記コントローラは、前記複数のローサイドトランジスタを第1~第m(mは、2以上の整数。)のローサイドトランジスタとするとき、前記昇圧モードにおいて、前記第1~第mのローサイドトランジスタからこの順で、動作するローサイドトランジスタを1つずつ前記1周期毎に選択し、選択したローサイドトランジスタを動作させる、
請求項4に記載の双方向DC/DCコンバータ。
【請求項6】
前記ハイサイドスイッチ部は、同型のMOSトランジスタでそれぞれ構成され、並列接続された複数のハイサイドトランジスタを含み、
前記ローサイドスイッチ部は、MOSトランジスタで構成されたローサイドトランジスタを含み、
前記コントローラは、昇圧モードにおいて、同期整流式で、充電期間と放電期間とを交互に繰り返すことにより、負荷に接続された入出力ラインの電圧を昇圧してバックアップキャパシタを充電し、前記降圧モードにおいて、前記バックアップキャパシタの充電電圧を降圧して、降圧した電圧を前記入出力ラインに供給するように、前記ハイサイドスイッチ部および前記ローサイドスイッチ部の動作を制御する、
請求項1に記載の双方向DC/DCコンバータ。
【請求項7】
前記コントローラは、前記昇圧モードにおける前記充電期間と前記放電期間との1周期において、前記複数のハイサイドトランジスタのうちの1つのハイサイドトランジスタを動作させ、前記降圧モードにおいて、前記複数のハイサイドトランジスタのすべてを同期して動作させる、
請求項6に記載の双方向DC/DCコンバータ。
【請求項8】
前記コントローラは、前記昇圧モードにおいて、前記充電期間と前記放電期間との1周期毎に、前記複数のハイサイドトランジスタのうちの動作するハイサイドトランジスタを切り替える、
請求項6に記載の双方向DC/DCコンバータ。
【請求項9】
前記コントローラは、前記複数のハイサイドトランジスタを第1~第n(nは、2以上の整数。)のハイサイドトランジスタとするとき、前記昇圧モードにおいて、前記第1~第nのハイサイドトランジスタからこの順で、動作するハイサイドトランジスタを1つずつ前記1周期毎に選択し、選択したハイサイドトランジスタを動作させる、
請求項8に記載の双方向DC/DCコンバータ。
【請求項10】
前記複数の同型のスイッチング素子のうちの対応する1つのスイッチング素子を前記制御信号に応じてそれぞれ動作させる、複数の同型のドライバをさらに備える、
請求項1に記載の双方向DC/DCコンバータ。
(【請求項11】以降は省略されています)
発明の詳細な説明
【技術分野】
【0001】
本開示は、双方向DC/DCコンバータ、電源遮断保護回路および半導体装置に関する。
続きを表示(約 1,600 文字)
【背景技術】
【0002】
各種の装置には、安定的な電力の供給が必要である。たとえばSSD(Solid State Drive)などの記憶装置では、電源からの電力の供給が瞬間的に遮断されると、記憶中のデータの消滅などのおそれがある。
【0003】
特許文献1には、電源電圧を昇圧してコンデンサを充電しておき、電源から装置への電力の供給が遮断される際には、充電したコンデンサの電圧を降圧して、装置に電力を供給する技術が記載されている。
【0004】
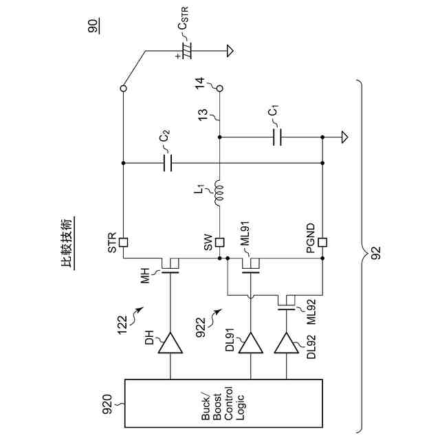
電源電圧の昇圧には昇圧コンバータ、コンデンサの電圧の降圧には降圧コンバータが用いられる。いずれのコンバータもハイサイドトランジスタとローサイドトランジスタとを用いるが、昇圧と降圧とにおいて、トランジスタに必要な電流供給能力が異なる。特許文献1には、昇圧と降圧とで、オン抵抗の異なるローサイドトランジスタを動作させることが開示されている。
【先行技術文献】
【特許文献】
【0005】
米国特許第9705402号明細書
【0006】
[概要]
しかしながら、特許文献1に記載の技術では、異なるオン抵抗のローサイドトランジスタを形成するためには、ローサイドトランジスタのサイズを異ならせる必要がある。このため、半導体チップにおけるローサイドトランジスタのレイアウトにおいて、それぞれのローサイドトランジスタについて設計が必要となる。
【0007】
本開示はこうした状況に鑑みてなされたものであり、その例示的な目的の一つは、簡便な設計で適切な制御を実現できる双方向DC/DCコンバータを提供することにある。
【0008】
本開示のある態様の双方向DC/DCコンバータは、ハイサイドスイッチ部と、ローサイドスイッチ部と、昇圧モードと降圧モードとで切り替え可能であり、昇圧モードにおいて双方向DC/DCコンバータが昇圧コンバータとして機能し、降圧モードにおいて双方向DC/DCコンバータが降圧コンバータとして機能するように、制御信号を生成してハイサイドスイッチ部およびローサイドスイッチ部の動作を制御するコントローラと、を有する。ハイサイドスイッチ部およびローサイドスイッチ部の少なくとも一方は、並列接続された複数の同型のスイッチング素子を含む。コントローラは、昇圧モードまたは降圧モードにおいて、複数の同型のスイッチング素子を連動して動作させる。
【0009】
本開示のある態様の半導体装置は、バックアップキャパシタが接続されるべきキャパシタ接続端子と、インダクタを介して入出力ラインと接続されるべき入出力端子と、グランドに接続されるべきグランド端子と、キャパシタ接続端子と入出力端子との間に設けられたハイサイドスイッチ部と、入出力端子とグランド端子との間に設けられたローサイドスイッチ部と、昇圧モードと降圧モードとで切り替え可能であり、昇圧モードにおいて、入出力ラインの電圧を昇圧してバックアップキャパシタを充電し、降圧モードにおいて、バックアップキャパシタの電圧を降圧して、降圧した電圧を入出力ラインに供給するように、制御信号を生成してハイサイドスイッチ部およびローサイドスイッチ部の動作を制御するコントローラと、を有する。ハイサイドスイッチ部およびローサイドスイッチ部の少なくとも一方は、並列接続された複数の同型のスイッチング素子を含む。コントローラは、昇圧モードまたは降圧モードにおいて、複数の同型のスイッチング素子を連動して動作させる。
【0010】
なお、以上の構成要素の任意の組合せ、本開示の表現を方法、装置、システムなどの間で変換したものもまた、本開示の態様として有効である。
【図面の簡単な説明】
(【0011】以降は省略されています)
この特許をJ-PlatPat(特許庁公式サイト)で参照する
関連特許
個人
高圧電気機器の開閉器
15日前
個人
電気を重力で発電装置
28日前
キヤノン電子株式会社
モータ
27日前
キヤノン電子株式会社
モータ
1か月前
日星電気株式会社
ケーブル組立体
1か月前
コーセル株式会社
電源装置
1か月前
株式会社アイドゥス企画
減反モータ
15日前
トヨタ自動車株式会社
モータ
27日前
株式会社デンソー
端子台
8日前
株式会社デンソー
回転機
1か月前
個人
二次電池繰返パルス放電器用印刷基板
1か月前
ローム株式会社
半導体集積回路
6日前
株式会社デンソー
電力変換装置
1か月前
株式会社ミツバ
回転電機
1か月前
本田技研工業株式会社
回転電機
1日前
株式会社デンソー
電力変換装置
1か月前
トヨタ自動車株式会社
固定子の加熱装置
1か月前
株式会社デンソー
非接触受電装置
1か月前
株式会社日立製作所
回転電機
6日前
株式会社TMEIC
制御装置
7日前
矢崎総業株式会社
給電装置
7日前
株式会社ダイヘン
インバータ装置
1か月前
矢崎総業株式会社
電源回路
14日前
トヨタ自動車株式会社
ステータの製造装置
28日前
大和ハウス工業株式会社
敷設用機器
7日前
山洋電気株式会社
モータ
1か月前
ローム株式会社
モータドライバ回路
22日前
個人
非対称鏡像力を有する4層PWB電荷搬送体
22日前
日産自動車株式会社
ロータシャフト
22日前
日産自動車株式会社
ロータシャフト
22日前
個人
電線盗難防止方法及び電線盗難防止装置
1か月前
株式会社アイシン
電力変換装置
27日前
株式会社マキタ
電動作業機
1か月前
トヨタ自動車株式会社
可変界磁ロータ
1か月前
サンデン株式会社
モータ
今日
株式会社TMEIC
電力変換装置
1か月前
続きを見る
他の特許を見る