TOP
|
特許
|
意匠
|
商標
特許ウォッチ
Twitter
他の特許を見る
10個以上の画像は省略されています。
公開番号
2025172531
公報種別
公開特許公報(A)
公開日
2025-11-26
出願番号
2024078084
出願日
2024-05-13
発明の名称
端子台
出願人
株式会社デンソー
代理人
個人
,
個人
主分類
H02M
7/48 20070101AFI20251118BHJP(電力の発電,変換,配電)
要約
【課題】体格の増大を抑制できる端子台を提供すること。
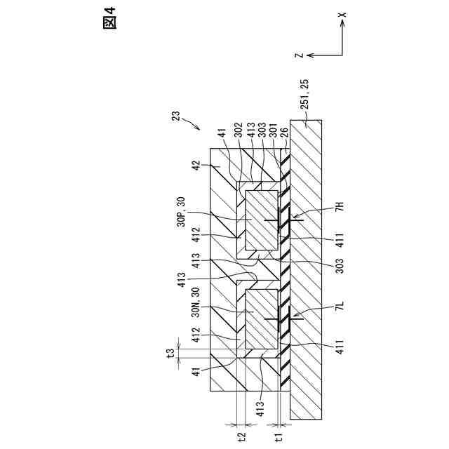
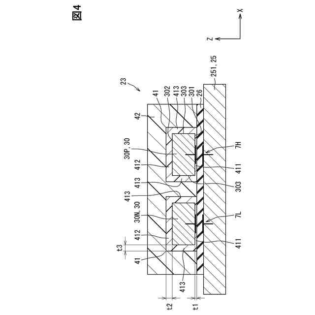
【解決手段】入力端子台23は、冷却器であるベース251上に配置される。入力端子台23は、ベース251に沿って並ぶ複数のバスバー30、複数のバスバー30の中間部位を取り囲んで保持する本体部を有する樹脂体40を備える。本体部は、バスバー30の表面のうち、少なくともベース251に対向する下面301を覆う第1樹脂部41と、隣り合うバスバー30の間に介在し、複数のバスバー30および第1樹脂部41を一体的に覆う第2樹脂部42を含む。第1樹脂部41は、第2樹脂部42よりも熱伝導性に優れている。第1樹脂部41において第2樹脂部42から露出する部分が、ベース251に熱的に接続される。
【選択図】図4
特許請求の範囲
【請求項1】
冷却器(251)上に配置される端子台であって、
前記冷却器に沿って並ぶ複数のバスバー(30)と、
複数の前記バスバーの中間部位を取り囲んで保持する本体部(401)を有する樹脂体(40)と、
を備え、
前記本体部は、前記バスバーの表面のうち、少なくとも前記冷却器に対向する下面(301)を覆う第1樹脂部(41)と、隣り合う前記バスバーの間に介在し、複数の前記バスバーおよび前記第1樹脂部を一体的に覆う第2樹脂部(42)と、を含み、
前記第1樹脂部は前記第2樹脂部よりも熱伝導性に優れており、
前記第1樹脂部において前記第2樹脂部から露出する部分が、前記冷却器に熱的に接続される、端子台。
続きを表示(約 940 文字)
【請求項2】
前記第1樹脂部は、前記下面とは反対の面である上面(302)と前記下面とに連なる面である側面(303)であって、少なくとも隣り合う前記バスバーの対向面を覆っている、請求項1に記載の端子台。
【請求項3】
前記第1樹脂部は、前記上面を覆うことで前記バスバーを取り囲んでいる、請求項2に記載の端子台。
【請求項4】
前記第1樹脂部において、前記バスバーの表面のうち、前記下面を除く面を覆う部分は、前記下面を覆う部分よりも厚い、請求項2または請求項3に記載の端子台。
【請求項5】
前記バスバーは、貫通孔(31)を有し、
前記第1樹脂部は、前記貫通孔に配置され、前記下面を覆う部分と前記上面を覆う部分とに連なる連結部(414)を有している、請求項3に記載の端子台。
【請求項6】
前記バスバーは、前記第1樹脂部に覆われる部分に粗化部(32)を有している、請求項1~3いずれか1項に記載の端子台。
【請求項7】
前記バスバーは、前記バスバーとともに電流経路を形成する金属板材(224)が接続される接続部(33)を有し
前記第1樹脂部は、前記本体部を構成する部分に連なり、前記接続部の下面を覆う延設部(415)を有する、請求項1~3いずれか1項に記載の端子台。
【請求項8】
前記バスバーは、前記下面において前記第1樹脂部に覆われる部分に段差部(34)を有している、請求項1~3いずれか1項に記載の端子台。
【請求項9】
前記第1樹脂部は、前記冷却器との対向面に粗化部(416)を有している、請求項1~3いずれか1項に記載の端子台。
【請求項10】
直流電源と電力変換回路を構成する半導体モジュールとを電気的に中継する請求項1~3いずれか1項に記載の端子台であって、
熱伝導部材(26)を介して前記冷却器上に配置され、
前記冷却器は、グランド電位を提供し、
前記バスバーは、前記第1樹脂部および前記熱伝導部材を介して、前記冷却器に熱的に接続される、端子台。
(【請求項11】以降は省略されています)
発明の詳細な説明
【技術分野】
【0001】
この明細書における開示は、端子台に関する。
続きを表示(約 1,800 文字)
【背景技術】
【0002】
特許文献1は、端子台を開示している。先行技術文献の記載内容は、この明細書における技術的要素の説明として、参照により援用される。
【先行技術文献】
【特許文献】
【0003】
特開2017-117643号公報
【発明の概要】
【発明が解決しようとする課題】
【0004】
特許文献1では、インサート成形により、複数のバスバーと、バスバーを保持する樹脂製の本体とを一体化している。バスバーの中間部位は樹脂によって覆われており、熱がこもる。特に車両駆動系の電力変換装置などの大電流用途において、バスバーの自己発熱は、たとえば接続信頼性を低下させる虞がある。自己発熱を抑えるために、バスバーの断面積、たとえば厚みや幅を広げると、端子台の体格が増大する。上記した観点において、または言及されていない他の観点において、端子台にはさらなる改良が求められている。
【0005】
開示されるひとつの目的は、体格の増大を抑制できる端子台を提供することにある。
【課題を解決するための手段】
【0006】
開示のひとつの態様は、冷却器(251)上に配置される端子台であって、
冷却器に沿って並ぶ複数のバスバー(30)と、
複数のバスバーの中間部位を取り囲んで保持する本体部(401)を有する樹脂体(40)と、
を備え、
本体部は、バスバーの表面のうち、少なくとも冷却器に対向する下面(301)を覆う第1樹脂部(41)と、隣り合うバスバーの間に介在し、複数のバスバーおよび第1樹脂部を一体的に覆う第2樹脂部(42)と、を含み、
第1樹脂部は第2樹脂部よりも熱伝導性に優れており、
第1樹脂部において第2樹脂部から露出する部分が、冷却器に熱的に接続される。
【0007】
開示の端子台によれば、熱伝導性に優れる第1樹脂部をバスバーの下面側に設けることで、下面側に第2樹脂部が配置される構成に較べて放熱性を高め、体格の増大を抑制することができる。また、第2樹脂部をバスバー間に設けることでバスバー間の絶縁を確保し、体格の増大を抑制することができる。
【0008】
この明細書における開示された複数の態様は、それぞれの目的を達成するために、互いに異なる技術的手段を採用する。請求の範囲に記載した括弧内の符号は、後述する実施形態の部分との対応関係を例示的に示すものであって、技術的範囲を限定することを意図するものではない。この明細書に開示される目的、特徴、および効果は、後続の詳細な説明、および添付の図面を参照することによってより明確になる。
【図面の簡単な説明】
【0009】
電力変換回路および駆動システムを示す図である。
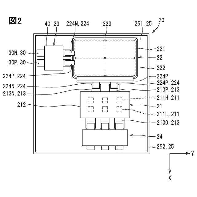
電力変換装置を示す平面図である。
第1実施形態に係る端子台を示す平面図である。
図3のIV-IV線に沿う断面図である。
変形例を示す断面図である。
変形例を示す断面図である。
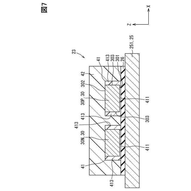
変形例を示す断面図である。
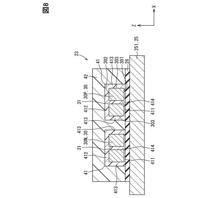
第2実施形態に係る端子台を示す断面図である。
変形例を示す断面図である。
第3実施形態に係る端子台を示す断面図である。
変形例を示す平面図である。
図11のXII-XII線に沿う断面図である。
第4実施形態に係る端子台を示す断面図である。
第5実施形態に係る端子台を示す断面図である。
【発明を実施するための形態】
【0010】
以下、図面に基づいて複数の実施形態を説明する。なお、各実施形態において対応する構成要素には同一の符号を付すことにより、重複する説明を省略する場合がある。各実施形態において構成の一部分のみを説明している場合、当該構成の他の部分については、先行して説明した他の実施形態の構成を適用することができる。また、各実施形態の説明において明示している構成の組み合わせばかりではなく、特に組み合わせに支障が生じなければ、明示していなくても複数の実施形態の構成同士を部分的に組み合せることができる。
(【0011】以降は省略されています)
この特許をJ-PlatPat(特許庁公式サイト)で参照する
関連特許
株式会社デンソーウェーブ
筐体
1か月前
株式会社デンソー
回転機
1か月前
株式会社デンソー
分離体
6日前
株式会社デンソー
電動弁
20日前
株式会社デンソー
端子台
今日
株式会社デンソー
摺動機構
19日前
株式会社デンソー
ステータ
1か月前
株式会社デンソー
ステータ
1か月前
株式会社デンソー
電気回路
14日前
株式会社デンソー
撮像装置
19日前
株式会社デンソー
撮像装置
19日前
株式会社デンソー
摺動機構
19日前
株式会社デンソー
熱交換器
19日前
株式会社デンソー
光学部材
6日前
株式会社デンソー
電子装置
1か月前
株式会社デンソー
電子装置
20日前
株式会社デンソー
電解装置
21日前
株式会社デンソー
制御装置
22日前
株式会社デンソー
電子装置
1か月前
株式会社デンソー
反力装置
1か月前
株式会社デンソー
検出装置
1か月前
株式会社デンソー
光学部材
6日前
株式会社デンソー
電子装置
1か月前
株式会社デンソー
熱交換部材
21日前
株式会社デンソー
半導体装置
19日前
株式会社デンソー
熱交換装置
1か月前
株式会社デンソー
農業用装置
1か月前
株式会社デンソー
レーダ装置
1か月前
株式会社デンソー
半導体装置
1か月前
株式会社デンソー
半導体装置
29日前
株式会社デンソートリム
鞍乗り車両
28日前
株式会社デンソー
ヒータ装置
28日前
株式会社デンソー
電流センサ
1か月前
株式会社デンソー
センサ装置
27日前
株式会社デンソーテン
インバータ
1か月前
株式会社デンソー
センサ装置
27日前
続きを見る
他の特許を見る