TOP
|
特許
|
意匠
|
商標
特許ウォッチ
Twitter
他の特許を見る
10個以上の画像は省略されています。
公開番号
2025165068
公報種別
公開特許公報(A)
公開日
2025-11-04
出願番号
2024068924
出願日
2024-04-22
発明の名称
制御装置
出願人
株式会社デンソー
代理人
弁理士法人太陽国際特許事務所
主分類
B60S
1/08 20060101AFI20251027BHJP(車両一般)
要約
【課題】ワイパシステムにおいて比較的簡単な制御によりオーバーランをコントロールして、払拭範囲を意図した範囲内に収めることができる。
【解決手段】制御装置(100)は、モータ(5)に電力を供給することにより回転軸(4)を回動させてワイパアーム(3)を揺動させる駆動部(110)と、前記駆動部を制御して、前記ワイパアームが反転位置に達する反転時点から第1期間手前の第1時点において前記回転軸の角速度を第1速度にする第1モードから第2速度にする第2モードへ切り替え、前記反転時点から前記第1期間よりも短い第2期間手前の第2時点において前記第2モードから前記第1モードへ切り替える制御部(120)と、を備える。
【選択図】図4
特許請求の範囲
【請求項1】
モータ(5)に電力を供給することにより回転軸(4)を回動させてワイパアーム(3)を揺動させる駆動部(110)と、
前記駆動部を制御して、前記ワイパアームが反転位置に達する反転時点から第1期間手前の第1時点において前記回転軸の角速度を第1速度にする第1モードから第2速度にする第2モードへ切り替え、前記反転時点から前記第1期間よりも短い第2期間手前の第2時点において前記第2モードから前記第1モードへ切り替える制御部(120)と、
を備える、制御装置(100)。
続きを表示(約 520 文字)
【請求項2】
前記第2速度は、前記第1速度よりも遅い、
請求項1に記載の制御装置。
【請求項3】
前記制御部は、前記モータに供給する電力を停止するように前記駆動部を制御することにより、前記第1モードから第2モードへ切り替える、
請求項2に記載の制御装置。
【請求項4】
前記制御部は、前記反転時点での前記ワイパアームの先端における角加速度が、複数の払拭作動モードの中で最も低速である低速モードのまま切り替えずに前記ワイパアームを反転させた場合よりも大きさが小さくなるように、前記駆動部からモータに供給する電力を制御する、
請求項2に記載の制御装置。
【請求項5】
前記第1期間は、前記ワイパアームを含むワイパシステムの固有振動に応じて設定された期間である、
請求項2に記載の制御装置。
【請求項6】
前記第1期間は、前記固有振動の周期の3/4倍を基準とした予め定められた範囲内に設定された期間である、
請求項5に記載の制御装置。
【請求項7】
前記第2速度は、前記第1速度よりも速い、
請求項1に記載の制御装置。
発明の詳細な説明
【技術分野】
【0001】
本開示は、制御装置に関する。
続きを表示(約 1,700 文字)
【背景技術】
【0002】
特許文献1には、「本発明のワイパ装置によれば、ワイパ回転軸を中心に揺動するワイパアームの反転位置における角速度および角加速度を略零とするように、制御手段が駆動手段を駆動制御する構成としたので、反転位置において、ワイパブレードをオーバーランさせることなく確実に反転させることができる。」と記載されている。
【先行技術文献】
【特許文献】
【0003】
特開2007-237921公報
【発明の概要】
【発明が解決しようとする課題】
【0004】
ワイパシステムにおいては、ワイパブレードが反転位置を超えてしまう、いわゆるオーバーランが発生することが知られている。このようなオーバーランが発生すると、払拭範囲が意図した範囲からずれてしまう。そのため、払拭範囲を意図した範囲内に収めるためにはオーバーランを上手くコントロールすることが必要となる。
【0005】
ここで、特許文献1には、オーバーランを抑制する技術として、予め設定された目標値データを準備し、該目標値データにしたがって駆動手段を制御することにより、ワイパアームの反転位置における角速度および角加速度を略零としている。しかしながら、このような従来の技術では、目標マップを作成して制御ゲインを都度調整する等、合わせ込みに手間がかかり制御が複雑になるという問題があった。
【0006】
本開示は、上記課題に鑑みてなされたものであり、ワイパシステムにおいて比較的簡単な制御によりオーバーランをコントロールして、払拭範囲を意図した範囲内に収めることができる制御装置を提供することを目的とする。
【課題を解決するための手段】
【0007】
上記目的を達成するために、本開示の制御装置(100)は、モータ(5)に電力を供給することにより回転軸(4)を回動させてワイパアーム(3)を揺動させる駆動部(110)と、前記駆動部を制御して、前記ワイパアームが反転位置に達する反転時点から第1期間手前の第1時点において前記回転軸の角速度を第1速度にする第1モードから第2速度にする第2モードへ切り替え、前記反転時点から前記第1期間よりも短い第2期間手前の第2時点において前記第2モードから前記第1モードへ切り替える制御部(120)と、を備える。
【0008】
本開示によれば、比較的簡単な制御によりオーバーランをコントロールして、払拭範囲を意図した範囲内に収めることができる。
【図面の簡単な説明】
【0009】
ワイパシステム1の第1例を示す図である。
比較例に係り、Hiモードで作動させた場合におけるオーバーランを示すシミュレーション結果である。
比較例に係り、Loモードで作動させた場合におけるオーバーランを示すシミュレーション結果である。
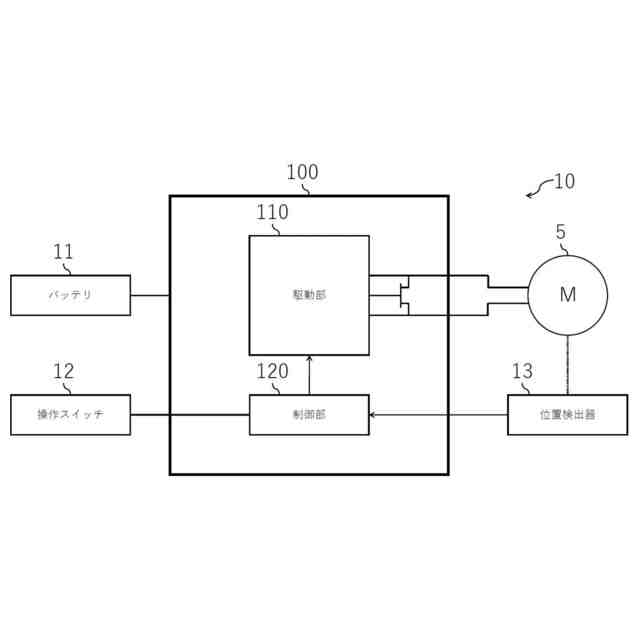
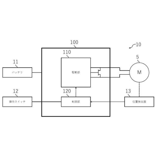
本実施形態に係る制御装置100が含まれてよい制御システム10の一例を示す図である。
本実施形態に係る制御装置100が備える制御部120の機能構成の一例を示す図である。
第1の実施形態に係る制御装置100による制御を模式的に示す図である。
第1の実施形態に係る制御装置100によるオーバーランを示すシミュレーション結果である。
第2の実施形態に係る制御装置100による制御を模式的に示す図である。
第2の実施形態に係る制御装置100によるオーバーランを示すシミュレーション結果である。
第2の実施形態に係る制御装置100による制御における第1期間及び第2期間を説明するための図である。
第3の実施形態に係る制御装置100による制御を模式的に示す図である。
ワイパシステム1の第2例を示す図である。
【発明を実施するための形態】
【0010】
以下、本開示の一実施形態について説明する。
(【0011】以降は省略されています)
この特許をJ-PlatPat(特許庁公式サイト)で参照する
関連特許
株式会社デンソー
ロータ
6日前
株式会社デンソー
分離体
19日前
株式会社デンソー
ロータ
6日前
株式会社デンソー
電動機
11日前
株式会社デンソー
端子台
13日前
株式会社デンソー
整流回路
4日前
株式会社デンソー
回転電機
4日前
株式会社デンソー
撮像装置
1か月前
株式会社デンソー
撮像装置
1か月前
株式会社デンソー
光学部材
11日前
株式会社デンソー
光学部材
19日前
株式会社デンソー
電気回路
27日前
株式会社デンソー
摺動機構
1か月前
株式会社デンソー
トランス
11日前
株式会社デンソー
摺動機構
1か月前
株式会社デンソー
熱交換器
1か月前
株式会社デンソー
電子装置
11日前
株式会社デンソー
光学部材
19日前
株式会社デンソー
音低減装置
4日前
株式会社デンソー
電磁継電器
11日前
株式会社デンソーエレクトロニクス
電磁継電器
5日前
株式会社デンソー
レーダ装置
5日前
株式会社デンソー
半導体装置
19日前
株式会社デンソー
燃料噴射装置
12日前
株式会社デンソー
表面加工方法
12日前
株式会社デンソー
電子制御装置
11日前
株式会社デンソー
電気化学セル
12日前
株式会社デンソー
給電システム
19日前
株式会社デンソー
衝突判定装置
今日
株式会社デンソー
形状検査方法
13日前
株式会社デンソー
電気化学セル
1か月前
株式会社デンソー
電子制御装置
4日前
株式会社デンソー
電力変換装置
11日前
株式会社デンソー
電気化学セル
1か月前
株式会社デンソー
エレクトレット
19日前
株式会社デンソー
車両用空調装置
19日前
続きを見る
他の特許を見る