TOP
|
特許
|
意匠
|
商標
特許ウォッチ
Twitter
他の特許を見る
10個以上の画像は省略されています。
公開番号
2025164465
公報種別
公開特許公報(A)
公開日
2025-10-30
出願番号
2024068467
出願日
2024-04-19
発明の名称
センサ装置
出願人
株式会社デンソー
代理人
弁理士法人服部国際特許事務所
主分類
G12B
17/02 20060101AFI20251023BHJP(器械の細部)
要約
【課題】ノイズの影響を低減可能なセンサ装置を提供する。
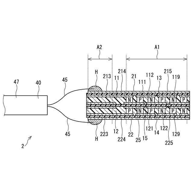
【解決手段】状態監視センサ1は、センサ部10と、ケーブル部40と、を備える。センサ部10は、基材11、12に設けられる熱電素子、基材11、12の一方側の面に設けられる第1配線層21、および、基材11、12の他方側の面に設けられる第2配線層22を有し、弾性部に封止されている。ケーブル部40は、信号線41、42、および、シールド線45を有する。第1配線層21および第2配線層22の少なくとも一方には、信号線41と接続されるセンサ端子211、221、および、シールド線45と接続されるアース端子213が形成されている。アース端子213は、熱電素子が設けられる素子形成領域を覆うカバー部215と、接続部214を経由して接続されている。
【選択図】 図1
特許請求の範囲
【請求項1】
基材(11、12)に設けられるセンサ素子(111、112、121、122)、前記基材の一方側の面に設けられる第1配線層(11)、および、前記基材の他方側の面に設けられる第2配線層(12)を有し、封止部(50)に封止されているセンサ部(10)と、
信号線(41、42)、および、シールド線(45)を有するケーブル部(40)と、
を備え、
前記第1配線層および前記第2配線層の少なくとも一方には、前記信号線と接続されるセンサ端子(211、221)、および、前記シールド線と接続されるアース端子(213、223)が設けられており、
前記アース端子は、前記センサ素子が設けられる素子形成領域を覆うカバー部(215、225)と、接続部(214、224)を経由して接続されているセンサ装置。
続きを表示(約 330 文字)
【請求項2】
前記アース端子は、前記第1配線層および前記第2配線層に設けられており、
前記シールド線は、先端が2つに分岐しており、一方が前記第1配線層の前記アース端子と接続され、他方が前記第2配線層の前記アース端子と接続されている請求項1に記載のセンサ装置。
【請求項3】
前記アース端子は、前記第1配線層に設けられており、前記基材に設けられる導電素子(115、125)およびスルーホール(216、226)を経由して、前記第2配線層の前記カバー部と電気的に接続されている請求項1に記載のセンサ装置。
【請求項4】
前記接続部は、前記アース端子より幅狭に形成されている請求項1~3のいずれか一項に記載のセンサ装置。
発明の詳細な説明
【技術分野】
【0001】
本発明は、センサ装置に関する。
続きを表示(約 1,500 文字)
【背景技術】
【0002】
従来、計測対象の熱流の変化を検出する状態検出センサが知られている。例えば特許文献1の状態検出センサは、第1絶縁層、第1基材、中間絶縁層、第2基材および第2絶縁層が積層されており、厚さ方向に通過する熱流の向きおよび熱量に応じた熱起電力をセンサ信号として出力する。
【先行技術文献】
【特許文献】
【0003】
特開2023-23164号公報
【発明の概要】
【発明が解決しようとする課題】
【0004】
例えば特許文献1のような状態検出センサでは、シールド線を金属体にねじ止めすることでノイズ対策をしている場合がある。しかしながら、状態検出センサの設置位置によっては、シールド線のねじ止めが難しい場合がある。また、検出対象によって必要となるシールド線の長さが異なり、センサの仕様を決めることが難しい。
【0005】
本発明は、上述の課題に鑑みてなされたものであり、その目的は、ノイズの影響を低減可能なセンサ装置を提供することにある。
【課題を解決するための手段】
【0006】
本発明のセンサ装置は、センサ部(10)と、ケーブル部(40)と、を備える。センサ部は、センサ素子(111、112、121、122)、第1配線層(21)、および、第2配線層(22)を有し、封止部(50)に封止されている。センサ素子は、基材(11、12)に設けられている。第1配線層は、基材の一方側の面に設けられる。第2配線層は、基材の他方側の面に設けられる。ケーブル部は、信号線(41、42)、および、シールド線(45)を有する。
【0007】
第1配線層および第2配線層の少なくとも一方には、信号線と接続されるセンサ端子(211、221)、および、シールド線と接続されるアース端子(213、223)が設けられている。アース端子は、センサ素子が形成される素子形成領域を覆うカバー部(215、225)と、接続部(214、224)を経由して接続されている。これにより、ノイズの影響を低減することができる。
【図面の簡単な説明】
【0008】
第1実施形態による状態監視センサの平面図である。
図1のII-II線断面図である。
図1のIII-III線断面図である。
図1のIV-IV線断面図である。
第1実施形態による状態監視センサを設備に配置した状態を示す説明図である。
第2実施形態による状態監視センサの平面図である。
図6のVII-VII線断面図である。
第3実施形態による状態監視センサの平面図である。
図8のIX-IX線断面図である。
図8のX-X線断面図である。
(a)は参考例による状態監視センサの平面図、(b)は参考例による状態監視センサを設備に配置した状態を示す説明図である。
【発明を実施するための形態】
【0009】
以下、本発明によるセンサ装置を図面に基づいて説明する。以下、複数の実施形態において、実質的に同一の構成には同一の符号を付して説明を省略する。
【0010】
(第1実施形態)
第1実施形態を図1~図5に示す。図1~図5に示すように、センサ装置としての状態監視センサ1は、センサ部10と、ケーブル部40と、弾性部50(図5参照)と、を備える。状態監視センサ1は、熱流センサであって、熱の流れを電圧信号に変換して出力する。
(【0011】以降は省略されています)
この特許をJ-PlatPat(特許庁公式サイト)で参照する
関連特許
他の特許を見る