TOP
|
特許
|
意匠
|
商標
特許ウォッチ
Twitter
他の特許を見る
公開番号
2025151268
公報種別
公開特許公報(A)
公開日
2025-10-09
出願番号
2024052601
出願日
2024-03-28
発明の名称
インバータ
出願人
株式会社デンソーテン
代理人
弁理士法人酒井国際特許事務所
主分類
H02M
7/48 20070101AFI20251002BHJP(電力の発電,変換,配電)
要約
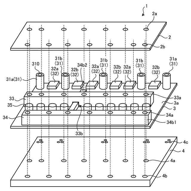
【課題】インバータの小型化を実現すること。
【解決手段】実施形態に係るインバータは、第1基板と、第2基板と、支持部材と、複数のコンデンサと、複数のパワー素子とを備える。第1基板は、実装面に複数の電極が実装される。第2基板は、第1基板の実装面に主面が向かい合って配置される。支持部材は、第2基板を支持する支持部材であって、実装面に並列に配置される第1バスバーおよび第2バスバーを有する。複数のコンデンサは、実装面において第1バスバーおよび第2バスバーの間に配置される。複数のパワー素子は、実装面において複数のコンデンサとの間に第1バスバーを挟み込むように一列に配置される。
【選択図】図1
特許請求の範囲
【請求項1】
実装面に複数の電極が実装された第1基板と、
前記第1基板の前記実装面に主面が向かい合って配置される第2基板と、
前記第2基板を支持する支持部材であって、前記実装面に並列に配置される第1バスバーおよび第2バスバーを有する支持部材と、
前記実装面において前記第1バスバーおよび前記第2バスバーの間に配置される複数のコンデンサと、
前記実装面において前記複数のコンデンサとの間に前記第1バスバーを挟み込むように一列に配置される複数のパワー素子と、
を備えるインバータ。
続きを表示(約 1,200 文字)
【請求項2】
前記第1基板は、金属基板であり、
前記第1バスバーは、
前記第2バスバー側と前記複数のパワー素子側とを貫通する貫通孔を有し、
前記第2バスバーは、
前記第1バスバーに並列する本体バーと、
前記本体バーから前記貫通孔を通って前記複数のパワー素子側へ延伸する延伸バーと、を有する
請求項1に記載のインバータ。
【請求項3】
前記複数の電極は、入力電極および出力電極が前記第1バスバーに対して前記複数のパワー素子側に一列に実装され、
前記入力電極は、列の両端に配置され、
前記出力電極は、三相の各相に対応する複数の相電極であり、前記入力電極に挟まれて配置され、
前記複数のパワー素子それぞれは、
前記複数の相電極それぞれの両端に配置される
請求項1に記載のインバータ。
【請求項4】
前記第1バスバーおよび前記第2バスバーの少なくとも一方と、前記第1基板と、前記第2基板とは、
上面視で重なる位置にそれぞれ貫通孔を有し、前記貫通孔に締結具が挿入されて固定される
請求項1に記載のインバータ。
【請求項5】
前記第1基板における前記実装面の裏面側に固定されるヒートシンクをさらに備え、
前記ヒートシンクは、
前記貫通孔と上面視で重なる位置に締結孔を有し、前記締結孔に前記締結具が挿入されて固定される
請求項4に記載のインバータ。
【請求項6】
前記第1バスバーおよび前記第2バスバーの少なくとも一方は、
上面視で前記実装面から突出する第1突出部を有し、
前記ヒートシンクは、
上面視で前記第1突出部と重なる位置に前記実装面から突出する第2突出部を有し、
前記第1突出部および前記第2突出部は、
絶縁部材を介して互いに固定される
請求項5に記載のインバータ。
【請求項7】
前記第1バスバーおよび前記第2バスバーの少なくとも一方は、
上面視で前記実装面と重なる位置に設けられた本体部と、前記本体部と前記第1突出部とを連結する連結部とを有し、
前記連結部は、
前記本体部および前記第1突出部と比べて剛性が低い形状である
請求項6に記載のインバータ。
【請求項8】
前記第1バスバーおよび前記第2バスバーそれぞれの一方側の端部同士を絶縁部材を介して連結する第1連結部材と、
前記第1バスバーおよび前記第2バスバーそれぞれの他方側の端部同士を絶縁部材を介して連結する第2連結部材と、
をさらに備え、
前記複数のコンデンサは、
前記第1バスバー、前記第2バスバー、前記第1連結部材および前記第2連結部材により囲まれて配置される
請求項1に記載のインバータ。
発明の詳細な説明
【技術分野】
【0001】
本発明は、インバータに関する。
続きを表示(約 1,600 文字)
【背景技術】
【0002】
従来、各種電子部品が実装された複数の基板を重ねて配置したインバータが知られている。この種のインバータでは、制御回路が搭載された制御基板と、コンデンサが実装されたコンデンサ基板と、パワー素子が実装されたパワー基板とを重ねた構成が提案されている(例えば、特許文献1参照)。
【0003】
また、特許文献1に示されたパワー基板では、複数の電極が一列に並べて配置されるとともに、電極の配列方向とは異なる方向に延伸するバスバーが各電極の位置に配置されている。また、特許文献1では、各バスバーの間において、複数のパワー素子がバスバーの延伸方向に並べて配置されている。
【先行技術文献】
【特許文献】
【0004】
特開2014-023181号公報
【発明の概要】
【発明が解決しようとする課題】
【0005】
しかしながら、従来技術では、インバータを小型化する点で更なる改善の余地があった。例えば、特許文献1に記載の技術では、パワー素子の数を減らして低出力のインバータを構成する場合、パワー素子を減らした分だけ基板面積を小さくできる。一方で、基板上においてバスバーを配置するバスバー領域内には、締結具の領域を確保しなければならないため、締結具の領域を除いたバスバー領域を一定面積以上確保しようとすると、バスバー領域が大きくなってしまい、基板面積を小さくできない場合があった。
【0006】
本発明は、上記に鑑みてなされたものであって、小型化を実現することができるインバータを提供することを目的とする。
【課題を解決するための手段】
【0007】
上述した課題を解決し、目的を達成するために、本発明に係るインバータは、第1基板と、第2基板と、支持部材と、複数のコンデンサと、複数のパワー素子とを備える。前記第1基板は、実装面に複数の電極が実装される。前記第2基板は、前記第1基板の前記実装面に主面が向かい合って配置される。前記支持部材は、前記第2基板を支持する支持部材であって、前記実装面に並列に配置される第1バスバーおよび第2バスバーを有する。前記複数のコンデンサは、前記実装面において前記第1バスバーおよび前記第2バスバーの間に配置される。前記複数のパワー素子は、前記実装面において前記複数のコンデンサとの間に前記第1バスバーを挟み込むように一列に配置される。
【発明の効果】
【0008】
本発明によれば、同一基板に配置したコンデンサの列とパワー素子の列との間に第1バスバーを並行して配置することで、1組のバスバー(第1バスバーおよび第2バスバー)で複数のコンデンサおよび複数のパワー素子の電気的接続を行うことができる。これにより、バスバーの数を減らすことができ、バスバーを減らした分だけ確保すべき締結具の領域を減らすことができる。従って、第1基板の面積を小さくできるため、インバータを小型化することができる。
【図面の簡単な説明】
【0009】
図1は、第1実施形態に係るインバータの分解斜視図である。
図2は、第1実施形態に係るインバータの上面視における図である。
図3は、第1実施形態に係るインバータの断面図である。
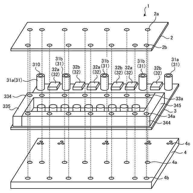
図4は、第2実施形態に係るインバータの分解斜視図である。
図5は、第1変形例に係るインバータの分解斜視図である。
図6は、第1変形例に係るインバータの断面図である。
図7は、第2変形例に係るインバータの分解斜視図である。
【発明を実施するための形態】
【0010】
以下、添付図面を参照して、実施形態に係るインバータを詳細に説明する。なお、以下に示す実施形態によりこの発明が限定されるものではない。
(【0011】以降は省略されています)
この特許をJ-PlatPat(特許庁公式サイト)で参照する
関連特許
株式会社デンソーテン
車載表示装置
22日前
株式会社デンソーテン
アンテナアンプ及びアンテナ装置
17日前
株式会社デンソーテン
貼り合わせ装置および貼り合わせ方法
1日前
株式会社デンソーテン
車両制御装置、車両制御方法および車両
1か月前
株式会社デンソーテン
電源制御装置および電源制御プログラム
9日前
株式会社デンソーテン
電源制御装置および電源制御プログラム
15日前
株式会社デンソーテン
通信装置、通信方法、及び通信プログラム
15日前
株式会社デンソーテン
車両制御装置、車両、および、異常検知方法
1日前
株式会社デンソーテン
検知装置、検知方法、プログラム及び検知システム
1日前
株式会社デンソーテン
受信機、受信システム、受信方法およびプログラム
15日前
株式会社デンソーテン
電池監視システム、電池監視装置および電圧計測装置
9日前
株式会社ABAL
画像投影システム及び画像投影方法
9日前
株式会社デンソーテン
車両検知装置、車両検知方法、及び車両検知プログラム
1日前
株式会社デンソーテン
車載器、車載器の取り付け機構、および車載器の取り付け方法
1か月前
株式会社デンソーテン
情報通知装置、車両システム、情報通知方法およびプログラム
1か月前
株式会社デンソーテン
学習方法、学習装置、学習プログラム、および、学習データ生成方法
1日前
株式会社デンソーテン
感情推定装置、感情推定方法、感情推定プログラムおよび感情推定システム
1日前
株式会社デンソーテン
情報通知装置、情報通知プログラム、情報通知方法、および情報通知システム
15日前
株式会社デンソーテン
車両運転支援装置、車両運転支援方法、車両運転支援プログラム及び車両運転支援システム
9日前
株式会社デンソーテン
情報処理装置、情報処理方法、情報処理プログラム、感情推定装置、及び運転支援システム
1日前
個人
単極モータ
1か月前
個人
電気を重力で発電装置
23日前
個人
高圧電気機器の開閉器
10日前
キヤノン電子株式会社
モータ
22日前
キヤノン電子株式会社
モータ
1か月前
株式会社アイシン
ロータ
1か月前
コーセル株式会社
電源装置
1か月前
日星電気株式会社
ケーブル組立体
1か月前
株式会社アイドゥス企画
減反モータ
10日前
トヨタ自動車株式会社
モータ
22日前
株式会社デンソー
回転機
1か月前
株式会社デンソー
端子台
3日前
個人
二次電池繰返パルス放電器用印刷基板
1か月前
株式会社kaisei
発電システム
1か月前
株式会社デンソー
電力変換装置
1か月前
株式会社デンソー
電力変換装置
1か月前
続きを見る
他の特許を見る